电脑桌面
添加小米粒文库到电脑桌面
安装后可以在桌面快捷访问

组团工程监理实施细则(钢筋分项工程)

组团工程监理实施细则(钢筋分项工程)_第1页
1/8
组团工程监理实施细则(钢筋分项工程)_第2页
2/8
组团工程监理实施细则(钢筋分项工程)_第3页
3/8
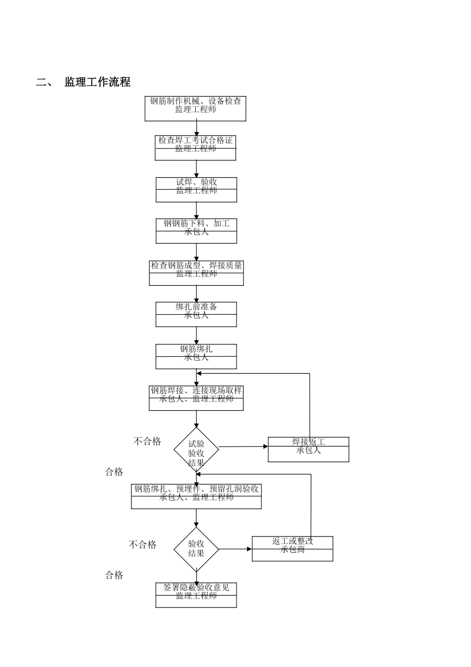
BB 1313 xxxxx 组团工程 工程监理实施细则监理实施细则(钢筋分项工程) 内容提要: 专业工程特点监理工作流程 监理工作控制目标及控制要点 监理工作方法及措施 项目监理机构(章): 专业监理工程师: 总监理工程师: 日期: 江苏省建设厅制钢筋分项工程监理细则一、 工程特点:本工程为框架剪力墙结构,人防地下室震等级为三级,据此确定地下室结构中钢筋的构造。构造柱、底板、顶板钢筋采纳绑扎连接,梁钢筋 D 为 22、25 两种,现场采纳直螺纹连接,剪力墙内的水平钢筋采纳闪光对焊,纵向钢筋全部采纳电渣压力焊。上部主体梁板筋采纳闪光对焊或绑扎连接。焊条采纳 E43(一级钢)和 E50(二级钢),型钢与钢板用 Q235 钢、E43 焊条。钢筋的锚固长度、搭接长度均按结构设计总说明、结构中没有说明的参照 03G101-1 平法图集。梁、板、门窗的洞口补强措施、现浇楼板角部配筋、板洞口加固附加钢筋、主筋遇集中荷载处箍筋加密、墙体配筋构造、砌体构造配筋、圈梁、窗台梁、门窗过梁、构造柱配筋等参照结施总说明。二、 监理工作流程 不合格 合格 不合格 合格 检查焊工考试合格证监理工程师试焊、验收监理工程师钢钢筋下料、加工承包人验收结果试验验收结果检查钢筋成型、焊接质量监理工程师绑扎前准备承包人钢筋绑扎承包人钢筋焊接、连接现场取样承包人、监理工程师焊接返工承包人钢筋绑扎、预埋件、预留孔洞验收承包人、监理工程师返工或整改承包商签署隐蔽验收意见监理工程师钢筋制作机械、设备检查监理工程师三、 监理工作控制目标及控制要点1.钢筋冷拉和冷拔关键控制点:(1)钢筋的冷拉和冷拔可采纳控制应力或控制冷拉率的方法,当采纳控制应力方法冷拉钢筋时,其冷拉控制应力下的最大冷拉率应符合有关规定。当采纳控制冷拉率方法冷拉钢筋时,冷拉率必须由实验确定。测定冷拉率时,钢筋的冷拉应力也应符合有关规定。(2)钢筋冷拉速度不宜过快,待拉到规定的控制应力(或冷拉率)后,须稍停,然后放松。(3)低碳钢丝冷拔后,应逐盘检查外观,钢丝表面不得有裂纹和机械损伤,还应逐盘检验甲级钢丝(乙级刚系可分批抽样)的力学性能。2.钢筋加工关键控制点:(1)钢筋的级别、种类和直径应符合设计要求,不得擅自代换。加工的形状、尺寸应符合设计要求。当钢筋的品种、级别或规格需作变更时,应办理设计变更文件。(2)钢筋表面应洁净、无损伤。油渍、漆污和铁锈应在使用前清理洁净,带有颗粒状或片状老锈的钢筋...

1、当您付费下载文档后,您只拥有了使用权限,并不意味着购买了版权,文档只能用于自身使用,不得用于其他商业用途(如 [转卖]进行直接盈利或[编辑后售卖]进行间接盈利)。
2、本站所有内容均由合作方或网友上传,本站不对文档的完整性、权威性及其观点立场正确性做任何保证或承诺!文档内容仅供研究参考,付费前请自行鉴别。
3、如文档内容存在违规,或者侵犯商业秘密、侵犯著作权等,请点击“违规举报”。

碎片内容

组团工程监理实施细则(钢筋分项工程)

您可能关注的文档

确认删除?
VIP
微信客服
  • 扫码咨询
会员Q群
  • 会员专属群点击这里加入QQ群
客服邮箱
回到顶部