电脑桌面
添加小米粒文库到电脑桌面
安装后可以在桌面快捷访问

质量控制监理工作流程VIP专享

质量控制监理工作流程_第1页
1/8
质量控制监理工作流程_第2页
2/8
质量控制监理工作流程_第3页
3/8
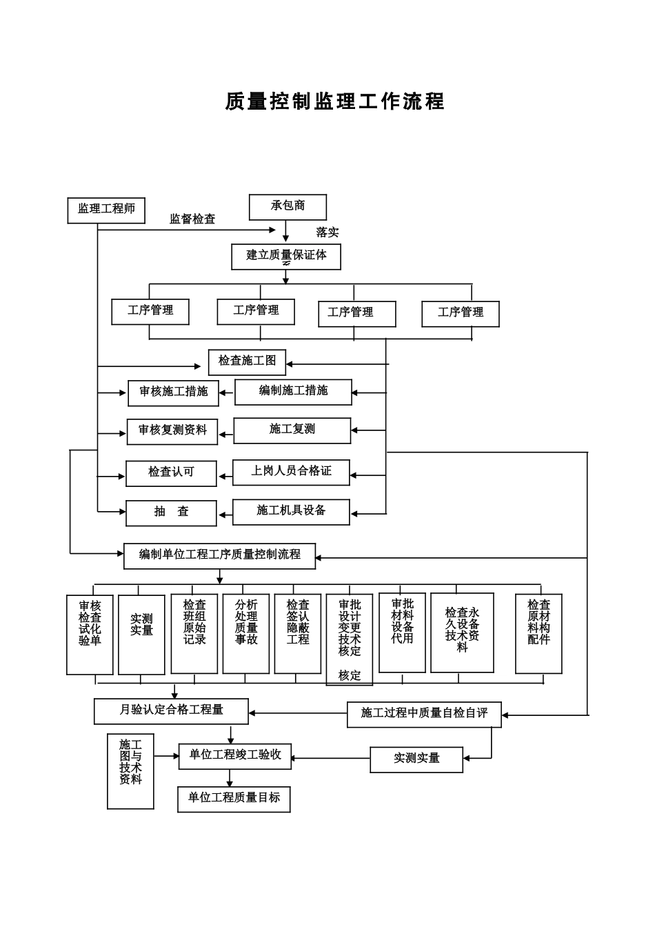
质量控制监理工作流程落实监理工程师监督检查承包商建立质量保证体系工序管理工序管理工序管理工序管理检查施工图审核施工措施审核复测资料检查认可抽 查编制施工措施施工复测上岗人员合格证施工机具设备编制单位工程工序质量控制流程审核检查试化验单实测实量检查班组原始记录分析处理质量事故检查签认隐蔽工程审批设计变更技术核定核定审批材料设备代用检查永久设备技术资料检查原材料构配件月验认定合格工程量施工过程中质量自检自评实测实量单位工程竣工验收施工图与技术资料单位工程质量目标 1 5 施工准备工作质量控制1、施工人员素养控制2、工程原材料配件的质量控制3、施工机械设备质量控制4、施工方案的审查5、施工单位质量保证体系6、测量与检验方法的控制设计及图纸审查施工及安装过程质量控制1、工序控制2、工序间质量控制3、设计变更与图纸修改、技术核定审查4、隐蔽工程验收5、分部(分项)工程验收施工及安装过程质量控制竣工验收1、设备联动试运行2、工程质量评定整理资料1、竣工图2、工程质量检查评定资料施工阶段质量控制钢筋工程质量监理工作流程合格熟悉结构施工图承包商、监理工程师钢材进场检验承包商、监理工程师钢筋翻样承包商检验结果进场、挂牌堆放承包商检查焊工考试合格证试 焊承包商、监理工程钢筋下料、加工承包商检查钢筋成型质量、焊接质量监理工程师绑扎前的准备:清理基层、划线钢材退场承包商(续)钢筋绑扎承包商钢筋焊接现场取样试验承包商、监理工程师不合格试验结果合格焊接返工承包商不合格返工或整改钢筋绑扎、预埋件、预留洞验收检验结果合格签署隐蔽验收单监理工程师投资控制监理工作流程图报送返回征询申报合 同 权限以外洽商洽商审核年、季度投资计划业主工程部监理工程师审核工程施工计划安排施工单位设计变更设计变更的内提议提议单位验工计价施工单位连同完成工作量报表及形象进度提出验工申请施工单位有关监理工程师从质量、投资、进度控制角度审查磋商施工单位设计单位技术审核总监理工程师批准或审核报送业主工程部合同权限以内施工单位提出图纸、预算增减工作量变更表监理工程师核定费用及工期设计变更项目成立1 、 技 经 监理师初步检查,并征询各专业监理的意见;2 、 根 据 各专业返回意见汇总工程款项意见各专业监理审查认可本专业完成的工作量及质量提出监理意见总监理师审查工程款,并签署付款凭证提交工程部总监工程部审定工程款支付工程款6.4 进度控制监理工作流程图...

1、当您付费下载文档后,您只拥有了使用权限,并不意味着购买了版权,文档只能用于自身使用,不得用于其他商业用途(如 [转卖]进行直接盈利或[编辑后售卖]进行间接盈利)。
2、本站所有内容均由合作方或网友上传,本站不对文档的完整性、权威性及其观点立场正确性做任何保证或承诺!文档内容仅供研究参考,付费前请自行鉴别。
3、如文档内容存在违规,或者侵犯商业秘密、侵犯著作权等,请点击“违规举报”。

碎片内容

质量控制监理工作流程

确认删除?
VIP
微信客服
  • 扫码咨询
会员Q群
  • 会员专属群点击这里加入QQ群
客服邮箱
回到顶部