电脑桌面
添加小米粒文库到电脑桌面
安装后可以在桌面快捷访问

018质量控制流程-通风空调工程质量控制流程a

018质量控制流程-通风空调工程质量控制流程a_第1页
1/3
018质量控制流程-通风空调工程质量控制流程a_第2页
2/3
018质量控制流程-通风空调工程质量控制流程a_第3页
3/3
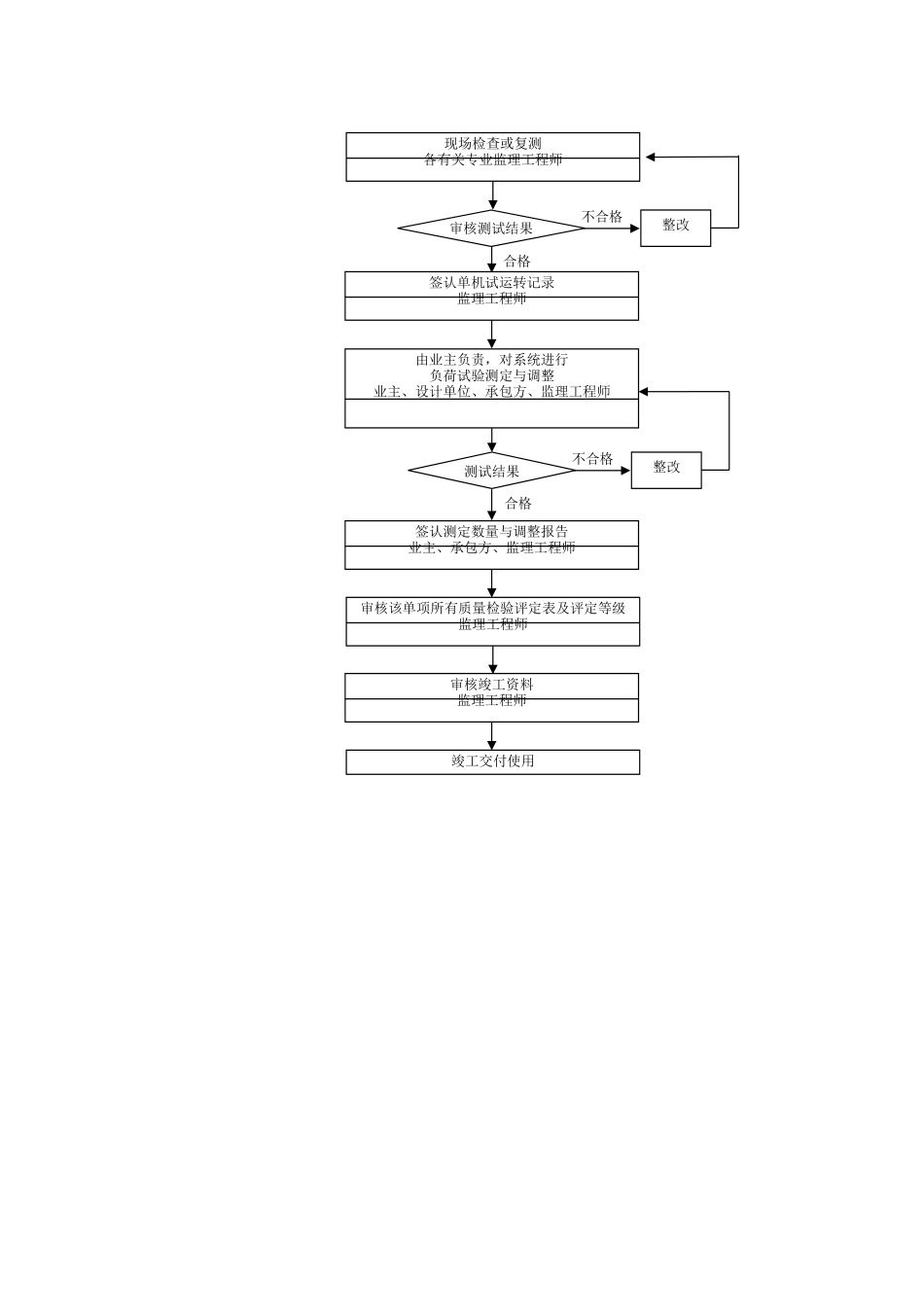
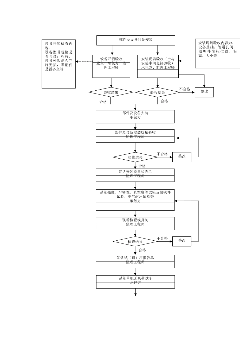
018 质量控制流程-通风空调工程质量控制流程a合格不同意熟悉图纸,将工艺图与土建图对比,核查有无矛盾或参加图纸会审监理工程师填写开工申请承包方按要求填写各栏目:施工组织设计,施工方案工人、技术人员数量机械品种,数量承包方,分包方资质证件审核开工申请监理工程师审核结果承包方修改完善审核内容包括:承包方分包方的资质证件有关工种操作人员的上岗证书施工组织设计施工方案等同意制作零部件,预埋件及隐藏工程监理工程师按设计要求验收施工材料或器材,必要时作材性试验监理工程师或监理试验工程师不合格审批结果整改现场验收制作的零部件,预埋件及隐藏工程监理工程师合格不合格验收结果整改签字零部件制作质量验收单或隐藏工程验收单监理工程师合格合格合格不合格部件及设备预备安装设备开箱验收业主、承包方、监理工程师安装现场验收(土与安装中间交接验收)承包方、监理工程师设备开箱检查内容:设备型号规格是否与设计相符,设备外观是否完好无损,零配件是否齐全等安装现场验收内容为:设备基础,管道孔阀,预 埋 件 坐 标 位 置 , 标高,大小等验收结果验收结果整改部件及设备安装承包方部件及设备安装质量验收监理工程师合格不合格验收结果整改签认安装质量验收单监理工程师系统强度、严密性、真空度等试验及敏锐件试验,电气耐压试验等承包方现场检查或复制监理工程师不合格检查结果整改系统单机无负荷试车承包方签认试(耐)压报告单监理工程师现场检查或复测各有关专业监理工程师合格合格不合格审核测试结果整改签认单机试运转记录监理工程师由业主负责,对系统进行负荷试验测定与调整业主、设计单位、承包方、监理工程师不合格测试结果整改审核该单项所有质量检验评定表及评定等级监理工程师签认测定数量与调整报告业主、承包方、监理工程师竣工交付使用审核竣工资料监理工程师

1、当您付费下载文档后,您只拥有了使用权限,并不意味着购买了版权,文档只能用于自身使用,不得用于其他商业用途(如 [转卖]进行直接盈利或[编辑后售卖]进行间接盈利)。
2、本站所有内容均由合作方或网友上传,本站不对文档的完整性、权威性及其观点立场正确性做任何保证或承诺!文档内容仅供研究参考,付费前请自行鉴别。
3、如文档内容存在违规,或者侵犯商业秘密、侵犯著作权等,请点击“违规举报”。

碎片内容

018质量控制流程-通风空调工程质量控制流程a

文森传品+ 关注
实名认证
内容提供者

一家传播文化教育的小店,资料丰富,随意挑选。

相关文档

确认删除?
VIP
微信客服
  • 扫码咨询
会员Q群
  • 会员专属群点击这里加入QQ群
客服邮箱
回到顶部