电脑桌面
添加小米粒文库到电脑桌面
安装后可以在桌面快捷访问

xx社区社区服务流程图

xx社区社区服务流程图_第1页
1/10
xx社区社区服务流程图_第2页
2/10
xx社区社区服务流程图_第3页
3/10
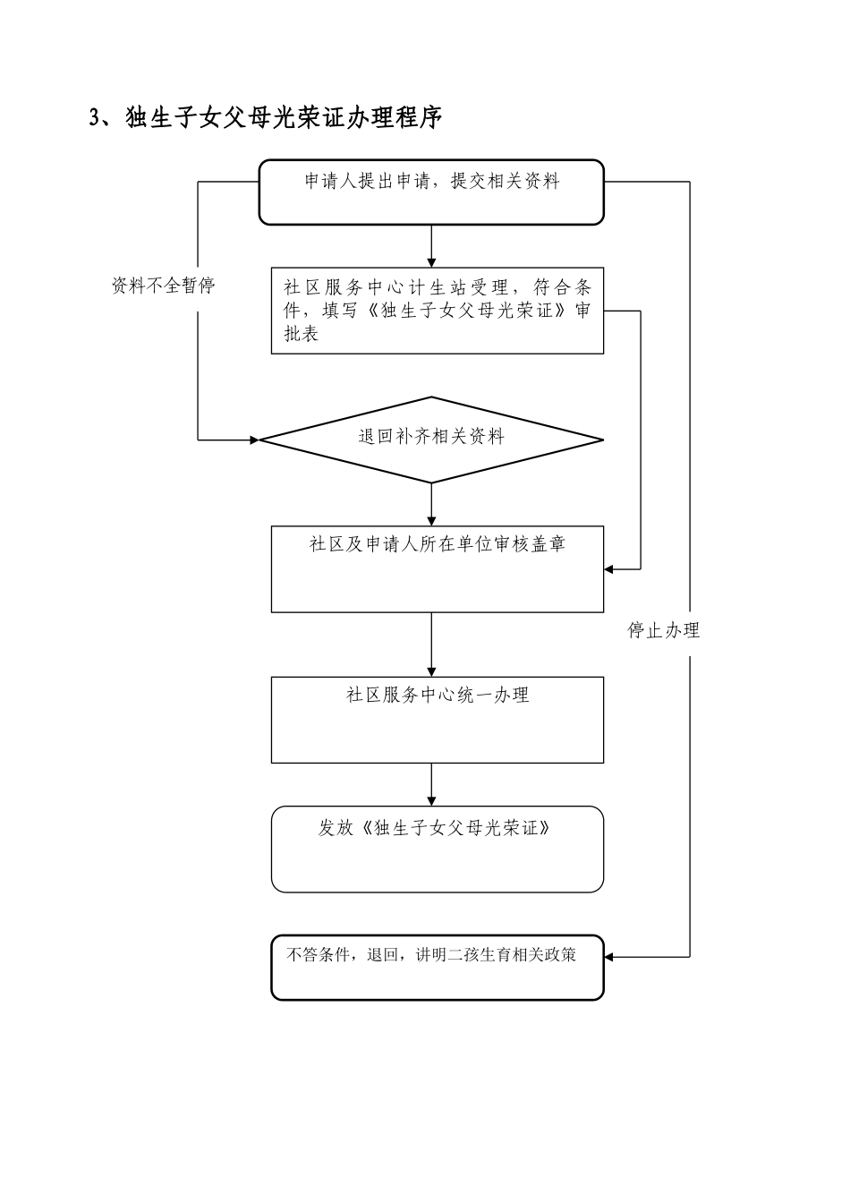
XX 区 XX 社区代理事项流程图1、一孩生育服务证办理流程图符合《中华人民共和国婚姻法》领取《结婚证》的夫妻提出申请,提交资料,在计生局领取《生育一孩登记表》社区服务中心审核受理,资料齐全,社区计生办主任签字,盖章,区计生服务站接受孕情检查和婚育培训持社区盖章后的登记表及相关证件到区计生服务站办理《一孩生育保健服务证》计生站发放《一孩生育保健服务证》退回重新补齐资料资料不全暂停2、二孩生育服务证办理流程图个人申请并填写《非农业人口生育二孩审批表》社区服务中心计生办受理并审核申请人提供的相关资料。退回重新补齐社区审核通过后,向社会公示,无异议后写出书面报告,报区计生局。区计生局法规股审核区计生局局务会议审核通过发放《二孩生育保健服务证》资料不全暂停停止办理不符条件退回,讲明二孩生育相关政策3、独生子女父母光荣证办理程序申请人提出申请,提交相关资料退回补齐相关资料社区服务中心计生站受理,符合条件,填写《独生子女父母光荣证》审批表社区及申请人所在单位审核盖章社区服务中心统一办理发放《独生子女父母光荣证》不答条件,退回,讲明二孩生育相关政策资料不全暂停停止办理4、城镇居民医疗保险参保办理流程图居民提出申请,提交相关资料社区服务中心劳动保障工作人员审核开具发票,填写城镇居民医疗保险证社区服务中心统一到区人社局加盖公章发放城镇居民医疗保险证5、就业失业登记证办理流程图申请人提出申请,提交相关资料社区服务中心劳动保障工作审核退回重新补齐符合条件,填写《肃州区就业指导服务中心就业登记表(个人)》社区审核,盖章社区统一到区就业服务指导中心审批办理发放《就业失业登记证》资料不全暂停6、小额贷款办理流程图申请人提出申请,提交相关资料社区服务中心劳动保障站工作人员进行初步审核社区服务中心劳动保障站工作人员进行实地调查社区审核上报区就业服务指导中心审批银行审核银行发放贷款不符条件,不予办理补齐资料,重新审核资料不全暂停不符条件资料不全7、城镇居民最低生活保障办理流程图。社区进行听证会社区评审小组进行审核社区公示,公示结束上报民政局低保中心户主提交申请书及相关资料资料不全,重新提交社区服务中心组织人员进行入户调查区民政局进行审核公示区民政局低保中心入户核实不符条件,不予受理社区服务中心民政专干进行初步审核发放银行存折暂停不 符 条 件暂停受理肃州区祁连路社区服务事项流程图1、党组织关系接转流程图党员...

1、当您付费下载文档后,您只拥有了使用权限,并不意味着购买了版权,文档只能用于自身使用,不得用于其他商业用途(如 [转卖]进行直接盈利或[编辑后售卖]进行间接盈利)。
2、本站所有内容均由合作方或网友上传,本站不对文档的完整性、权威性及其观点立场正确性做任何保证或承诺!文档内容仅供研究参考,付费前请自行鉴别。
3、如文档内容存在违规,或者侵犯商业秘密、侵犯著作权等,请点击“违规举报”。

碎片内容

xx社区社区服务流程图

您可能关注的文档

确认删除?
VIP
微信客服
  • 扫码咨询
会员Q群
  • 会员专属群点击这里加入QQ群
客服邮箱
回到顶部