电脑桌面
添加小米粒文库到电脑桌面
安装后可以在桌面快捷访问

分部分项工程质量验收控制流程

分部分项工程质量验收控制流程_第1页
1/1
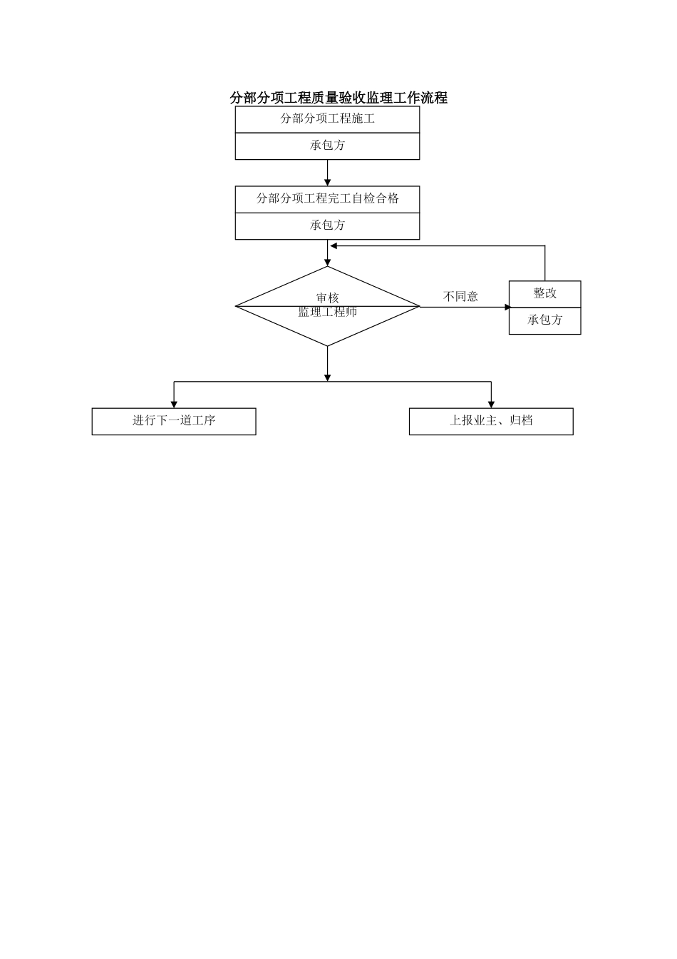
分部分项工程质量验收监理工作流程不同意分部分项工程施工承包方承包方分部分项工程完工自检合格上报业主、归档进行下一道工序审核监理工程师整改承包方

1、当您付费下载文档后,您只拥有了使用权限,并不意味着购买了版权,文档只能用于自身使用,不得用于其他商业用途(如 [转卖]进行直接盈利或[编辑后售卖]进行间接盈利)。
2、本站所有内容均由合作方或网友上传,本站不对文档的完整性、权威性及其观点立场正确性做任何保证或承诺!文档内容仅供研究参考,付费前请自行鉴别。
3、如文档内容存在违规,或者侵犯商业秘密、侵犯著作权等,请点击“违规举报”。

碎片内容

分部分项工程质量验收控制流程

您可能关注的文档

不二商店+ 关注
实名认证
内容提供者

我是你的不二选择

确认删除?
VIP
微信客服
  • 扫码咨询
会员Q群
  • 会员专属群点击这里加入QQ群
客服邮箱
回到顶部