电脑桌面
添加小米粒文库到电脑桌面
安装后可以在桌面快捷访问

工程监理程序(33页)VIP免费

工程监理程序(33页)_第1页
1/22
工程监理程序(33页)_第2页
2/22
工程监理程序(33页)_第3页
3/22
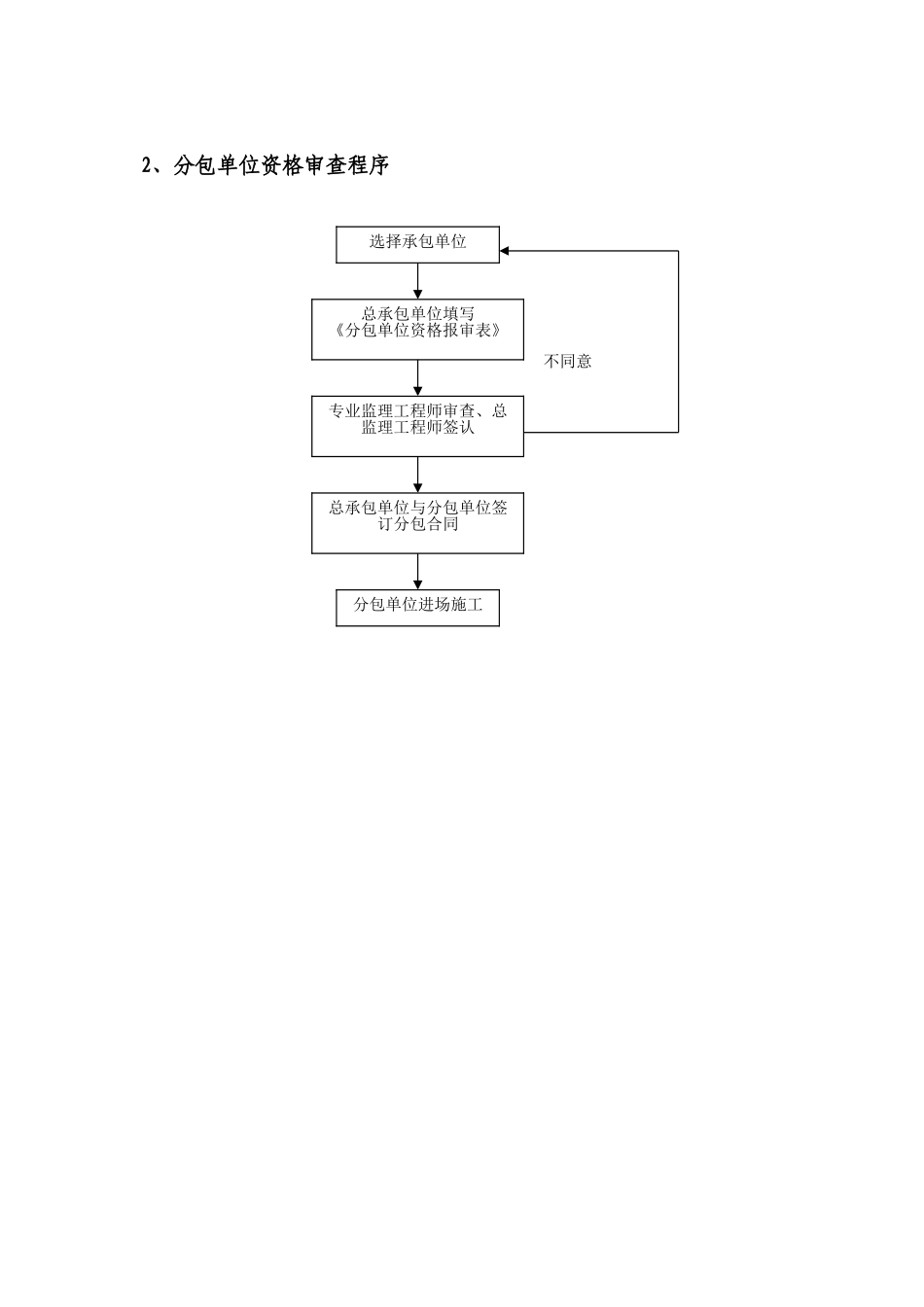
工程(设备)监理工作程序目录1、施工监理工作的总程序2、分包单位资格审查程序3、质量控制工作程序4、单位工程竣工验收程序5、工程材料、构配件和设备质量控制程序6、设备安装监理工作程序7、设备制作监理工作程序8、进度控制工作程序9、质量事故处理程序10、整改和停、复工程序11、承包单位申请延长工期审批程序12、工程投资控制的基本程序13、月工程量和支付基本程序14、设计变更实施程序15、索赔处理程序16、安全控制工作程序17、工程进度控制基本程序18、设备监理工作总程序19、设备监理工作规划的执行程序20、工程和工序过程监理程序21、主要、关键设备采购监理程序22、设备监理工作实施程序1、施工监理工作的总程序签订监理合同组织项目监理机构进行监理准备工作施工准备阶段的监理审批《工程开工报审表》签署同意开工施工过程的监理组织竣工预验收参加业主组织竣工验收审核工程竣工结算2、分包单位资格审查程序不同意选择承包单位总承包单位填写《分包单位资格报审表》专业监理工程师审查、总监理工程师签认总承包单位与分包单位签订分包合同分包单位进场施工3、质量控制工作程序监理检查工序质量否是否是批准开工申请(监理单位)分项分部工程工序施工(承包单位)承包单位整改工序完成后自检(承包单位)合格?监理签署质量报验表分部工程自检(承包单位)整改(承包单位)监理审查分部工程质量现场检查质量文件检查审查合格?签署质量报审表(监理单位)本单位工程的各分项分部工程全部完成监理检查工序质量签署质量报审表(监理单位)单位工程完工4、单位工程竣工验收程序5、工程材料、构配件和设备质量控制程序不合格合格否否是是单位工程完工竣工自检(承包单位)缺陷处理竣工验收资料准备(承包单位)补充齐全申请竣工预验收(承包单位)审核预验收申请(监理单位)现场初检是否合格资料是否符合要求单位工程预验收(业主、监理、设计、施工)工程竣工验收(业主、监理、设计、施工)工程试运行(业主、监理、设计、施工)工程移交6、设备安装监理工作程序承包单位填写《工程材料/构配件设备报验》承包单位另选监理工程师审核方法:1、审核证明资料2、到厂家考察3、进场材料检验承包单位使用审批开工报告施工组织设计(监理单位)土建基础验收监理单位设备、材料验收监理单位安装施工承包方工序质量报验承包方审核签认监理单位整机安装自检调试承包方单体试运转承包方监理单体预验收监理资料签认监理系统联合试运业主、监理、承包方竣工验收业主、监理、承包方移交7、设备制作监理工作程序不合格合格不合格合格施工组织设计(方案)报验(承包人)补充或修改(承包人)现场复核或检验(监理工程师)复核结果清理出场(承包人)检验、试验(承包人)设备制作(承包人)预验收(监理工程师)检验结果1、审查焊接工艺评定报告;2、监理现场巡视设备制作下料尺寸、坡口是否符合设计要求;3、检查焊接工艺是否满足规范要求,错边、焊瘤、气孔、夹喳、咬边等缺陷是否符合设计及规范要求;4、组对焊接是否满足规范要求。返工(整改)(承包人)签认报验资料(监理工程师)竣工验收不合格审查施工组织设计(方案)(监理工程师)审查结果合格进场材料报验(承包人)8、进度控制工作程序9、质量事故处理程序发生质量事故上报业主监理发出监理工程师单监理工程师组织现场调查承包单位进行调查分析提交事故调查报告业主、设计、监理审查承包单位事故调查报告各方研究确定提出处理方案承包单位实施方案监理、设计核查处理结果监理核发复工指令必要时签发停工令总监理工程师审批监理提交事故处理报告不同意同意滞后承包方非承包方提交进度计划(承包方)审批进度计划(监理方)监督计划实施(监理方)检查执行情况(监理单位)检查原因(承包方监理方)制定赶工措施调整计划(承包方)制定赶工措施提出延期申请(承包方)审批调整或延期计划监理方竣工验收投产试运行工程移交督促保修竣工验收10、整改和停、复工程序否是总监理工程师签发“工程部分暂停指令”执行工程质量、安全事故处理程序承包单位对质量、安全问题进行处理监理工程师审查事故处理情况报业主批准承包单位填写“复工申请”(总)监理工程师签发“监理通知”合格(总)监理工程师签...

1、当您付费下载文档后,您只拥有了使用权限,并不意味着购买了版权,文档只能用于自身使用,不得用于其他商业用途(如 [转卖]进行直接盈利或[编辑后售卖]进行间接盈利)。
2、本站所有内容均由合作方或网友上传,本站不对文档的完整性、权威性及其观点立场正确性做任何保证或承诺!文档内容仅供研究参考,付费前请自行鉴别。
3、如文档内容存在违规,或者侵犯商业秘密、侵犯著作权等,请点击“违规举报”。

碎片内容

工程监理程序(33页)

您可能关注的文档

确认删除?
VIP
微信客服
  • 扫码咨询
会员Q群
  • 会员专属群点击这里加入QQ群
客服邮箱
回到顶部