电脑桌面
添加小米粒文库到电脑桌面
安装后可以在桌面快捷访问

宽带多媒体通信网BTCIP系统应用方案VIP免费

宽带多媒体通信网BTCIP系统应用方案_第1页
1/11
宽带多媒体通信网BTCIP系统应用方案_第2页
2/11
宽带多媒体通信网BTCIP系统应用方案_第3页
3/11
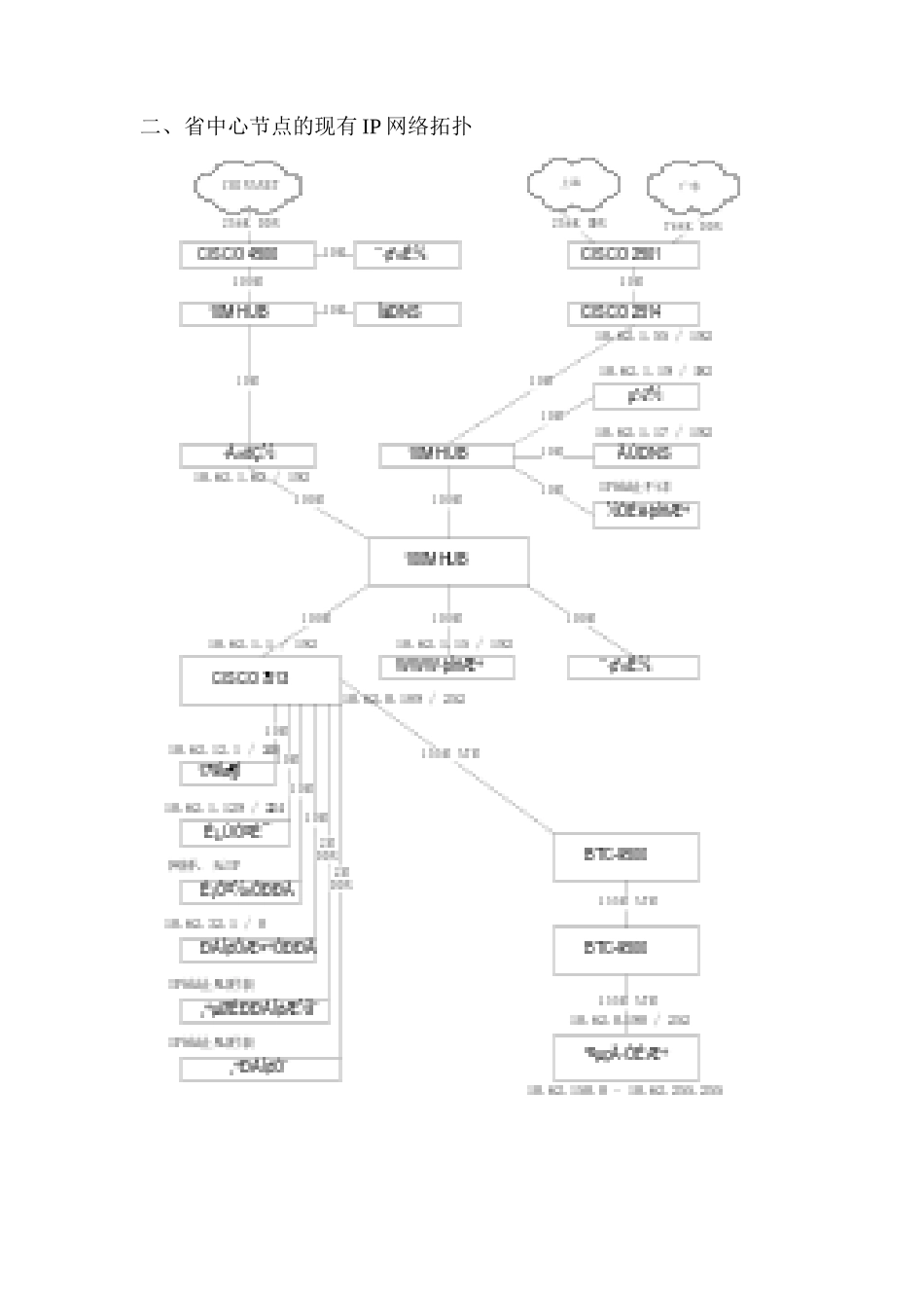
湖南省宽带多媒体通信网BTC-9500IP系统应用方案一、湖南省宽带多媒体通信网BTC-9500系统现有配置湖南省宽带多媒体通信网中共有两台BTC-9500ATM交换机,分别放置于省中心局和长沙市局。省中心局配置了三块接口板,分别是一块ATM接口板(槽0),一块IPE接口板(槽2),一块IPA接口板(槽4)。长沙市局配置了两块接口板,分别是一块ATM接口板(槽0),一块IPE接口板(槽2)。两交换机均以端口0作为中继端口,以端口1作为路由器的连接端口。网管终端所接的端口是省中心交换机的端口3。省中心局ATM接口板端口依次为STM-1单模、STM-1单模、E1电路仿真、STM-1多模;长沙市局ATM接口板端口依次为STM-1单模、STM-1单模、STM-1单模、E3。两交换机的IPE接口板端口均是两电口两光口。二、省中心节点的现有IP网络拓扑Cisco7513第一个E1口DDN时隙表序号单位广域口网址局域口网址专线号1人行科技处10.62.0.9/25210.62.11.0/2402省新闻出版局10.62.0.25/25210.62.13.0/24010053593万事通10.62.0.5/25210.62.10.12810051404省证券交易中心网桥10051425经济干部学院10.62.0.13/25210.62.11.128/24010052066省证券10.62.0.17/25210.62.12.128/24010065077儿童医院10.62.0.53/25210.62.17.0/24010053348新华社供稿中心10.62.0.21/25210.62.13.0/24010053539阿波罗10.62.0.33/25210.62.14.128/240100534810湘财西厅10.62.0.61/25210.62.21.0/240100541011湘财南厅10.62.0.65/25210.62.21.128/240100540912苏博泰克10.62.0.57/25210.62.18.0/240100534613国讯网络10.62.0.1/25210.62.10.0/240100049914师大附中10.62.0.49/25210.62.16.128/240100535415市一中10.62.0.73/25210.62.22.128/240100534217省职业介绍中心10.62.0.29/25210.62.14.0/240100533918永州10.62.130.1/25210.62.132.0/240100540019卫生防疫站10.62.0.41/25210.62.15.128/240100536120妇幼保健院10.62.0.45/25210.62.16.0/240100533721九芝堂10.62.0.69/25210.62.22.0/240100534322电力院10.62.0.37/25210.62.15.0/128100533823华天讯业10.62.0.77/25210.62.23.0/240100541524金卡中心10.62.0.81/25210.62.23.128/240100544025申银万国10.62.0.85/25210.62.24.0/240100548926常德信息港10.62.151.1/25227湖南大学10.62.0.89/25210.62.24.128/24028湘雅医院10.62.0.93/25210.62.25.0/24029十三中10.62.0.97/25210.62.25.128/240100524730中医附一医院10.62.0.105/25210.62.26.0/240100535031中意集团10.62.0.101/25210.62.26.128/2401005485Cisco7513第二个E1口DDN时隙表序号单位广域口地址局域口地址专线号1郴州10.62.0.109/25210.62.29.0/2402经济电视台10.62.0.113/25210.62.27.0/24010025163湖南卫视台10.62.0.117/25210.62.27.128/24010016334雅礼中学10.62.0.121/25210.62.29.128/24010053415科盟10.62.0.125/25210.62.28.128/24010055266中辰10.62.0.129/25210.62.30.128/24010055237贸促会10.62.0.133/25210.62.30.0/24010053498省图书馆10.62.0.137/25210.62.31.0/19210053449铁道学院10.62.0.141/25210.62.31.128/240100535710建筑工程造价中心10.62.0.145/25210.62.35.0/240100534711金帝大酒店10.62.0.149/25210.62.35.128/240100554213上大垅10.62.0.157/25210.62.38.128/192100650614湘雅医院(512K)10.62.36.128/24015北京帧中继(512K)制作部网段10.62.32.0/0储汇局二楼10.62.33.0/192160网段10.62.36.0/192个人移动通信系统10.62.39.128/224三、应用BTC-9500IP系统的网络解决方案根据网络的特点,当应用BTC-9500IP系统时,网络的物理连接主要有以下几处变动。CISCO7513由ATM接口板转移至IPA接口板;CISCO2514、防火墙、其余设备分别连接至IPE端口。此时,整个网络以BTC-9500为核心,形成CHINANET、省外169、省内169服务器、省内169路由器等几个独立的部分。长沙市局一端暂不变动。应用BTC-9500IP系统后的网络拓扑另外,根据省港证券网段地址的特点,将省港证券网段也连接到IPE端口之上。整个方案总结如下:*省中心共需ATM电路板和IPA电路板各一块,IPE电路板两块。两块IPE电路板分别设为A板和B板。长电需ATM电路板一...

1、当您付费下载文档后,您只拥有了使用权限,并不意味着购买了版权,文档只能用于自身使用,不得用于其他商业用途(如 [转卖]进行直接盈利或[编辑后售卖]进行间接盈利)。
2、本站所有内容均由合作方或网友上传,本站不对文档的完整性、权威性及其观点立场正确性做任何保证或承诺!文档内容仅供研究参考,付费前请自行鉴别。
3、如文档内容存在违规,或者侵犯商业秘密、侵犯著作权等,请点击“违规举报”。

碎片内容

宽带多媒体通信网BTCIP系统应用方案

确认删除?
VIP
微信客服
  • 扫码咨询
会员Q群
  • 会员专属群点击这里加入QQ群
客服邮箱
回到顶部