电脑桌面
添加小米粒文库到电脑桌面
安装后可以在桌面快捷访问

单元6 产品开发流程及相关知识VIP免费

单元6 产品开发流程及相关知识_第1页
1/6
单元6 产品开发流程及相关知识_第2页
2/6
单元6 产品开发流程及相关知识_第3页
3/6
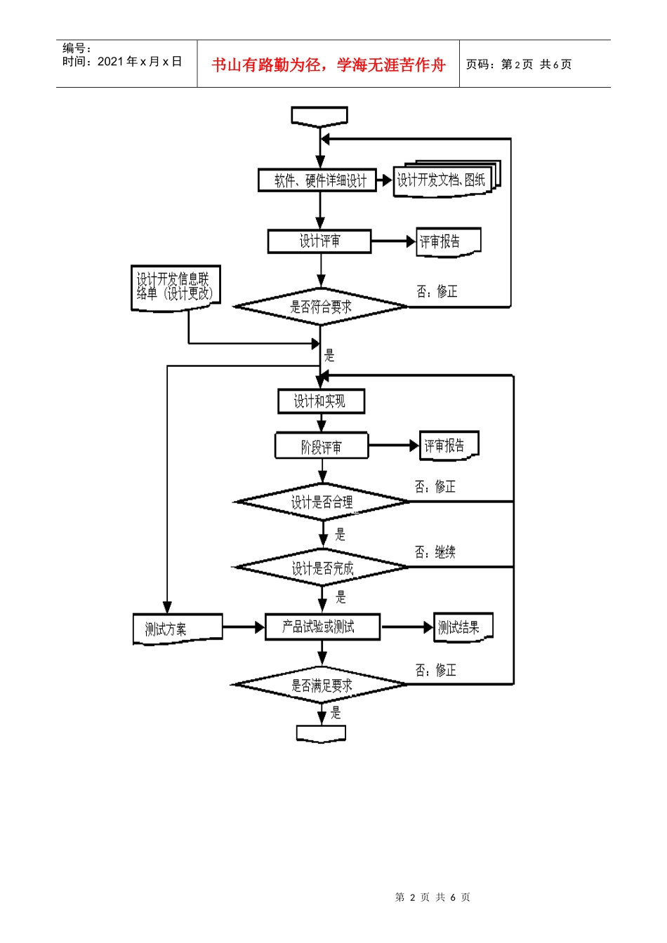
第1页共6页编号:时间:2021年x月x日书山有路勤为径,学海无涯苦作舟页码:第1页共6页单元六产品开发流程及相关知识6.1产品开发流程..................................................................................16.2小项目开发管理..............................................................................36.1产品开发流程第2页共6页第1页共6页编号:时间:2021年x月x日书山有路勤为径,学海无涯苦作舟页码:第2页共6页第3页共6页第2页共6页编号:时间:2021年x月x日书山有路勤为径,学海无涯苦作舟页码:第3页共6页6.2小项目开发管理一个企业的管理,大公司有大公司的方式,小公司也有小公司的方式,如果把别人的经验生搬硬套到自己身上,可能会适得其反。同样,管理一个开发项目也一样,大项目和小项目的方式不完全一样。但从另一个角度来看,项目的大与小并没有本质的区别,很多方法是共通的。6.2.1小项目的特点大家知道,"软件危机"的出现起源于一些大型项目的不断延迟甚至失败。小项目相比之下,具有以下特点:1.项目功能相对较少2.开发人员较少第4页共6页第3页共6页编号:时间:2021年x月x日书山有路勤为径,学海无涯苦作舟页码:第4页共6页3.开发周期较短另外,在现实中,有很多小项目是由一些中小公司进行开发的,这些公司往往人员流动性较大,这也是不容忽视的一个现实.6.2.2小项目开发中常犯的错误小项目看起来比较简单,比较容易成功,因而人们往往忽视了小项目的管理,其实这是一种误解,小项目开发中容易犯以下的一些错误:1.开发之前没有认真地进行项目可行性和工作量的估计。往往由于项目较小,便很草率地制定一个开发日程表,没有认真地估计项目难度,结果实际完成时间与估计完成时间往往有较大差别。2.没有真正的设计过程开发人员少,意味着不同人员的模块之间交互、接口相对少一些。开发周期短意味着往往是同样的几个人从头到尾负责一个项目。这两者都让人容易犯些错误。往往是几个人碰一下头,讨论一下最基本的;软硬件结构、函数接口便分头去做自己的工作了,没有一份较正式的文档。这种做法潜在的危险之一是有的人可能会对讨论出的接口、结构理解有偏差(应该承认人是会犯错误的)。一个误解可能造成以后的返工。另一个潜在的危险是由于讨论时忽略了某些情况,等大家都按当时的分工完成属于自己的工作后,才发现各个模块组合起来却形不成一个完整的系统。其根源在于没有一个负责协调的人员不断监控整个开发过程。第三个潜在的危险是一旦有人中途退出开发队伍,其他人加入时,新来的人难以理解以前别人做好的代码,索性自己从头来。另外,没有文档的程序,日后维护和版本升级都比较困难。3.不经过单元测试而直接进入系统测试造成这一现象的原因是每个模块相对比较简单,但是为了测试一个模块需要建立一些测试环境。例如,为了测试一个函数是否正确,应该用一些测试数据去调用该函数,需要编写一些测试数据。但很多开发人员嫌麻烦,觉得反正其他模块也很快出来了,直接用真正的数据来运行几次就行了。殊不知,一旦直接进入系统测试,发现运行结果不正确后需要一步步查找。由于模块间的调用关系,可能查了很久才发现是某个模块的问题。这种方法一来效率比较低,大量的时间用在了将一个错误定位在模块上了。另外由于这种测试不完全,真正运行系统,当调用某模块时,可能大部分时候都是正常数据,极少出现边界情况,可能某些边界情况容易被忽视,很久之后才被发现。但是如果对每个模块进行单元测试时都进行一下边界测试就会很容易消除一些隐患。真可谓欲速则不达也。6.2.3合理的开发流程合理的开发模式,一句话形容就是"麻雀虽小,五脏俱全",即使是小型项目的开发,仍然应该遵循项目开发的一般规律,必须的步骤不能省略。但是小项目有它自身的一些特点,实行起来可以相对灵活些。以下从几个方面描述一下比较合理的模式.第5页共6页第4页共6页编号:时间:2021年x月x日书山有路勤为径,学海无涯苦作舟页码:第5页共6页1.需求获取在进入正式开发之前,必须先从用户处获取准确的需求。在这上面花费相当时间是很必要的。项目可以大致分...

1、当您付费下载文档后,您只拥有了使用权限,并不意味着购买了版权,文档只能用于自身使用,不得用于其他商业用途(如 [转卖]进行直接盈利或[编辑后售卖]进行间接盈利)。
2、本站所有内容均由合作方或网友上传,本站不对文档的完整性、权威性及其观点立场正确性做任何保证或承诺!文档内容仅供研究参考,付费前请自行鉴别。
3、如文档内容存在违规,或者侵犯商业秘密、侵犯著作权等,请点击“违规举报”。

碎片内容

单元6 产品开发流程及相关知识

精品中小学资料+ 关注
实名认证
内容提供者

精品文档

相关文档

确认删除?
VIP
微信客服
  • 扫码咨询
会员Q群
  • 会员专属群点击这里加入QQ群
客服邮箱
回到顶部