电脑桌面
添加小米粒文库到电脑桌面
安装后可以在桌面快捷访问

信息系统工程质量监理措施VIP免费

信息系统工程质量监理措施_第1页
1/8
信息系统工程质量监理措施_第2页
2/8
信息系统工程质量监理措施_第3页
3/8
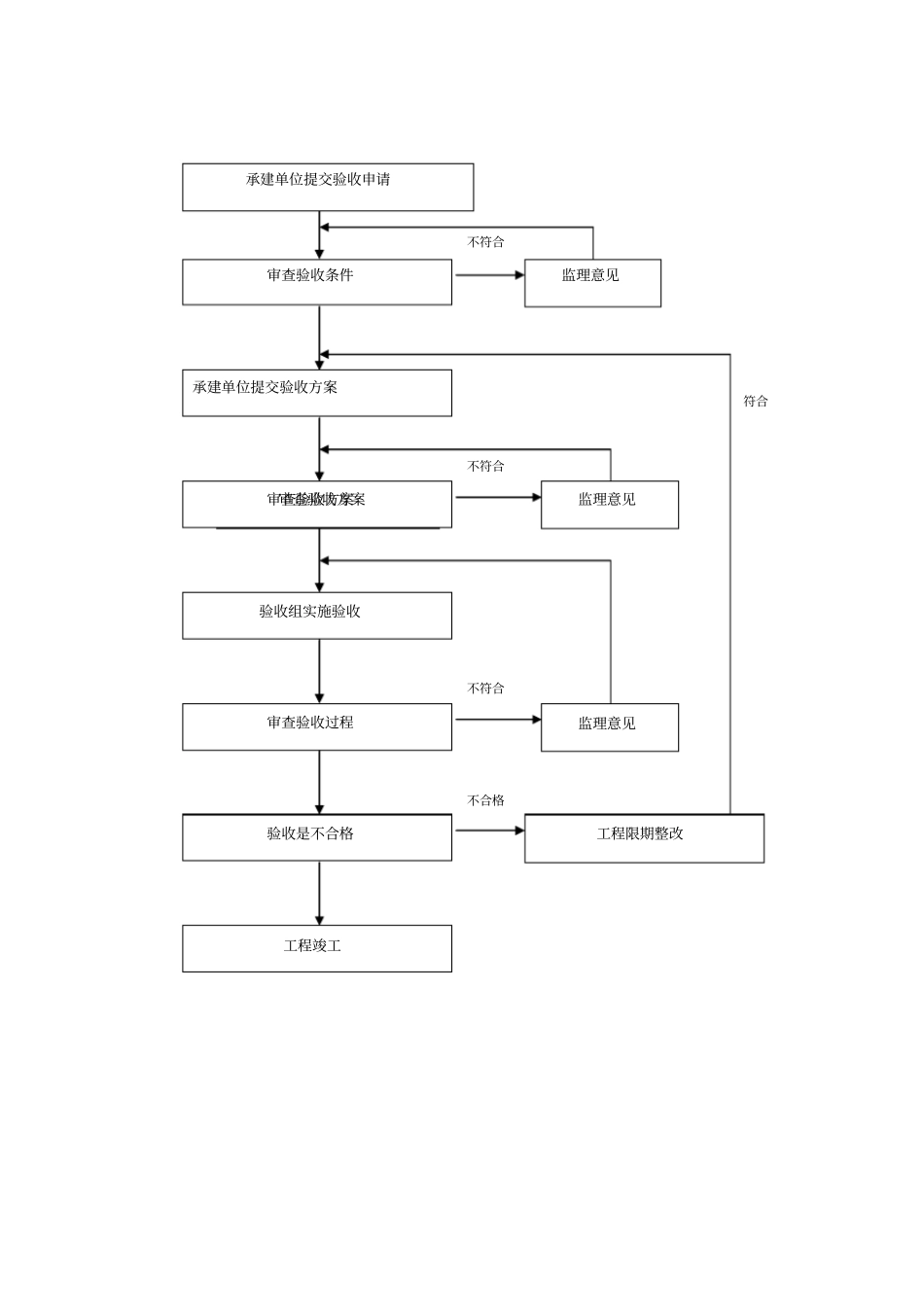
信息系统工程质量监理措施2012年12月22日摘要:本文从项目质量监控体系、方案设计阶段的质量监控、机房装修及原材料、设备采购阶段的质量监控、机房系统建设实施阶段的质量控制、初步验收阶段的质量控制、系统试运行及验收阶段的质量控制、质量控制手段等几个方面对信息系统工程质量监理措施进行了阐述。关键词:质量监控;质量控制一、项目质量监控体系二、方案设计阶段的质量监控1、编制方案设计阶段监理任务,明确方案设计监理的工作目标、工作程序、工作制度等,并按照报批程序批准后送交业主;2、审查方案设计单位报送的系统设计总体方案及计划进度这安排,审查意见报业主;3、审核设备分包单位的资质情况,实际的设计能力,审核合格后予以确认;4、检查相关规范标准、技术条件的有效性,参加设备图纸的会审、会签,对设备设计的过程进行监督和检查;三、机房装修及原材料、设备采购阶段的质量监控1、熟悉有关政策,制定收货验收的办法及协调关系的原则;2、编制或协助编制采购计划和采购清单,审查设备的数量、规格、单价、工程质量承建单位质量管理设计阶段质量管理实施阶段质量管理验收阶段质量管理项目总监监理工程师监理员项目监理现场机构监理单位质量管理业主单位质量管理工作生产厂家、质量是否符合要求;3、参与对供货商的选择、合同谈判及订货合同的签订和编写工作;4、协助业主办理进口设备的报关及商检手续;5、组织或协助业主进行相关采购项目开标、评标和定标;6、编写原材料及设备采购监理报告,提交业主。四、机房系统建设实施阶段的质量控制1、根据各专业工程特点,制定具体的监理工作程序,主要进行事前控制和主动控制;2、施工前审查承建单位的施工组织方案,质量管理,技术管理体系和专职管理人员,特种作业人员的资格证和上岗证,检查施工现场是否具备开工条件;3、机房系统建设实施阶段监理单位定期主持召开工地例会,检查质量进度情况,并针对存在的问题进行协调;4、安排监理人员对施工、安装、调试过程进行巡视和检查,对重要部位、重要工序、重要时刻及隐蔽工程进行旁站监理,并做好旁站记录。五、初步验收阶段的质量控制1、协助业主共同制定验收阶段质量控制流程;2、对承包商提出的验收计划及方案进行审查;3、对承包商提供的验收资料进行审查;4、对验收中出现的质量问题进行处理;5、验收结论处理流程承建单位提交验收申请审查验收条件监理意见不符合承建单位提交验收方案审查验收方案验收组实施验收审查验收过程验收是不合格工程竣工工程限期整改不合格审查验收方案不符合监理意见监理意见不符合符合六、系统试运行及验收阶段的质量控制1、审查承建单位的设备或子系统试运行及系统整体试运行方案,并做好系统试运行的一切准备工作;2、设备测试参数和指标合格后再进行设备或子系统试运行,所有设备或子系统试运行合格后进行系统整体试运行,直至到达设计要求;3、系统整体试运行结束后,承建单位对工程进行自审、自检、自评工作。符合要求后,填写竣工报验单,并把竣工资料、竣工图报送监理申请验收;4、监理单位对竣工资料、竣工图及实物进行检查,验收合格后签发竣工报验单,并报业主组织综合竣工验收;5、监理单位编写工程质量评估报告,向业主提交;6、工程竣工后的保修、维护阶段监理工作按工程委托监理合同中约定执行。七、质量控制手段1、评审评审的主要目的是本着公正的原则检查项目的当前状态,项目评审一般是在主要的项目里程碑接近完成时进行,比如系统总体设计、相关子系统设计完成的时候。通过专家评审,可以及时发现重大问题,并给出处理意见。1)评审依据(1)国家和行业的相关标准、技术规范及其他有关规定;(2)有关部门关于本项目的文件和批示;(3)己经确定的本方案的承前性文件;(4)监理工程师搜集的监理信息。2)评审的范围需要采用专家会审内容有:(1)建设单位的用户需求和招标方案;(2)承建单位的质量控制体系和质量保证计划;(3)承建单位的总体技术方案;(4)承建单位的工程实施方案;(5)承建单位的系统集成方案;(6)承建单位有关应用软件开发的重要过程文档;(7)工程验收方案;(8)承建单位的培训方案与计划:(9)其他需要会审的重要方...

1、当您付费下载文档后,您只拥有了使用权限,并不意味着购买了版权,文档只能用于自身使用,不得用于其他商业用途(如 [转卖]进行直接盈利或[编辑后售卖]进行间接盈利)。
2、本站所有内容均由合作方或网友上传,本站不对文档的完整性、权威性及其观点立场正确性做任何保证或承诺!文档内容仅供研究参考,付费前请自行鉴别。
3、如文档内容存在违规,或者侵犯商业秘密、侵犯著作权等,请点击“违规举报”。

碎片内容

信息系统工程质量监理措施

确认删除?
VIP
微信客服
  • 扫码咨询
会员Q群
  • 会员专属群点击这里加入QQ群
客服邮箱
回到顶部