电脑桌面
添加小米粒文库到电脑桌面
安装后可以在桌面快捷访问

传送带PLC的设计VIP免费

传送带PLC的设计_第1页
1/13
传送带PLC的设计_第2页
2/13
传送带PLC的设计_第3页
3/13
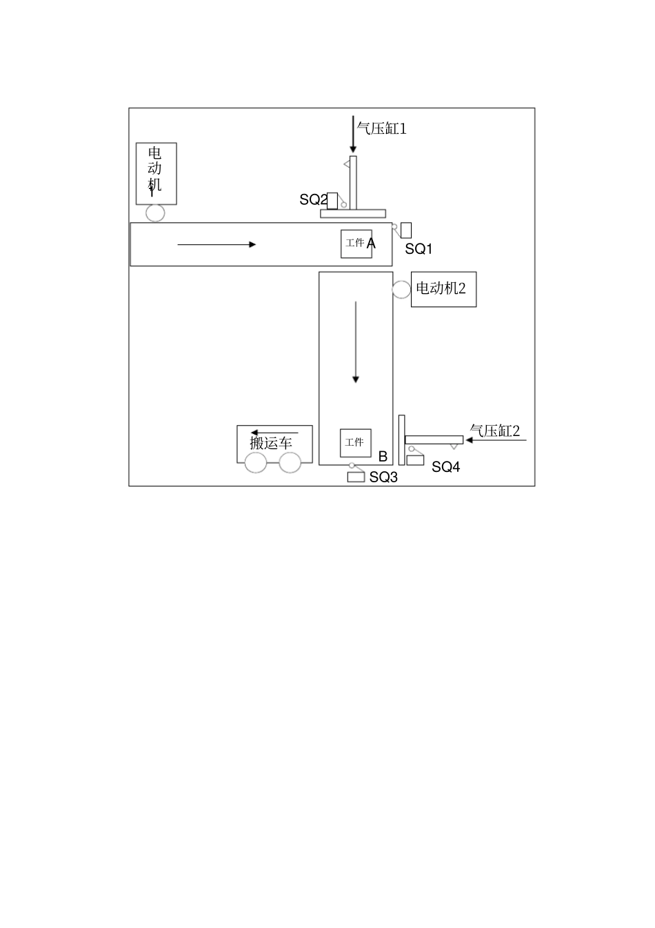
中央广播电视大学马鞍山电大课程设计课题名称:传送带PLC的设计系部:机械系班级:09秋机械本科学生姓名:张伟指导教师:2011年月号设计任务书09秋机械本科学生:张伟课题名称:传送带PLC的设计要求:在工厂自动化领域中,传送带是经常用到的。如图所示为一输送工件的传送带,其动作过程如下:1.按下启动按钮SB1,电机1、2运转,驱动传送带1、2移动。按下停止按钮SB2,电动机停止转动,输送带停止。2.当工件到达转运点A,使输送带1停止,气缸1动作,将工件送上输送带2。气缸采用自动归位型,当SQ2检测气缸1到达定点位置时,气缸1复位。3.当工件到达转运点B,SQ3使输送带2停止,气缸2动作,将工件送上搬运车。当SQ4检测气缸2到达定点位置时,气缸2复位。根据本课题要求,用PLC实现对输送带的控制,并画出电气接口图。指导教师:A电动机1电动机2工件工件搬运车SQ1SQ2SQ3SQ4气压缸1气压缸2B目录引言⋯⋯⋯⋯⋯⋯⋯⋯⋯⋯⋯⋯⋯⋯⋯⋯⋯⋯⋯⋯⋯⋯⋯⋯⋯51.1传送带控制系统的发展概述⋯⋯⋯⋯⋯⋯⋯⋯⋯⋯⋯⋯⋯⋯⋯⋯⋯⋯61.1.1我国传送机的发展⋯⋯⋯⋯⋯⋯⋯⋯⋯⋯⋯⋯⋯⋯⋯⋯⋯⋯⋯⋯61.1.2国内传送带输送机的发展发展趋势⋯⋯⋯⋯⋯⋯⋯⋯⋯⋯⋯⋯⋯61.2总体方案说明⋯⋯⋯⋯⋯⋯⋯⋯⋯⋯⋯⋯⋯⋯⋯⋯⋯⋯⋯⋯⋯⋯⋯7传送带控制系统设计及PLC的选取⋯⋯⋯⋯⋯⋯⋯⋯⋯⋯⋯⋯⋯⋯72.1PLC的选取及介绍⋯⋯⋯⋯⋯⋯⋯⋯⋯⋯⋯⋯⋯⋯⋯⋯⋯⋯⋯⋯⋯⋯72.1.1三菱FX2NPLC的主要特点⋯⋯⋯⋯⋯⋯⋯⋯⋯⋯⋯⋯⋯⋯⋯⋯⋯72.1.2PLC的性能指标和分类⋯⋯⋯⋯⋯⋯⋯⋯⋯⋯⋯⋯⋯⋯⋯⋯⋯⋯7硬件系统的设计⋯⋯⋯⋯⋯⋯⋯⋯⋯⋯⋯⋯⋯⋯⋯⋯⋯⋯⋯⋯81.I/O口与内部资源的分配⋯⋯⋯⋯⋯⋯⋯⋯⋯⋯⋯⋯⋯⋯⋯⋯⋯⋯⋯82.PLC控制电路接线图⋯⋯⋯⋯⋯⋯⋯⋯⋯⋯⋯⋯⋯⋯⋯⋯⋯⋯⋯⋯⋯83.主电路接线图⋯⋯⋯⋯⋯⋯⋯⋯⋯⋯⋯⋯⋯⋯⋯⋯⋯⋯⋯⋯⋯⋯⋯⋯8软件系统的设计⋯⋯⋯⋯⋯⋯⋯⋯⋯⋯⋯⋯⋯⋯⋯⋯⋯⋯⋯⋯⋯⋯⋯111.控制功能的实现⋯⋯⋯⋯⋯⋯⋯⋯⋯⋯⋯⋯⋯⋯⋯⋯⋯⋯⋯⋯⋯⋯⋯112.梯形图语言⋯⋯⋯⋯⋯⋯⋯⋯⋯⋯⋯⋯⋯⋯⋯⋯⋯⋯⋯⋯⋯123.指令表⋯⋯⋯⋯⋯⋯⋯⋯⋯⋯⋯⋯⋯⋯⋯⋯⋯⋯⋯⋯⋯⋯13全文总结⋯⋯⋯⋯⋯⋯⋯⋯⋯⋯⋯⋯⋯⋯⋯⋯⋯⋯⋯⋯⋯⋯⋯13参考文献⋯⋯⋯⋯⋯⋯⋯⋯⋯⋯⋯⋯⋯⋯⋯⋯⋯⋯⋯⋯⋯⋯⋯⋯⋯⋯⋯⋯13【引言】随着经济的快速发展,企业竞争越来越激烈,为提高效率、降低生产成本,传送带得到了广泛的应用。传送带广泛应用于工业生产系统。传送带的应用不仅节约了劳动力,提高了生产效率,而且降低了生产成本,在工业生产中发挥了巨大的作用。未来传送带设备的将向着大型化发展、扩大使用范围、物料自动分拣、降低能量消耗、减少污染等方面发展。本设计结合传送带的实际模型,针对PLC本身具有的功能特点,成功的实现对传送带系统的控制,达到了预期的控制效果。可编程控制器(PLC)是一种专门为在工业环境下应用而设计的数字运算和操作的电子装置。它采用可以编制程序的存储器,用来在其内部存储执行逻辑运算、顺序运算、计时、计数和算术运算等操作的指令,并能通过数字式或模拟式的输入和输出,控制各种类型的机械或生产过程。自从可编程控制器诞生以来,电气工程技术人员感受最深刻的也正是可编程控制器二次开发编程十分容易。它在很大程度上使得工业自动化设计从专业设计院走进了厂矿企业,变成了普通工程技术人员甚至普通工人力所能及的工作。再加上其体积小、可靠性高、抗干扰能力强、控制功能完善、适用性强、安装接线简单等众多优点,在问世后的短短几十年中获得了突飞猛进的发展,在工业控制中得到了非常广泛的应用。传送带在工业生产中是必不可少的,以传统继电接触器为控制核心的传送控制系统通过接线表达各元器件之间的关系,要想改变逻辑关系就要改变接线关系,显然是比较麻烦的。随着可编程控制器的迅猛发展,传统接触继电器控制系统已逐渐被PLC控制系统所替代。以PLC为控制核心的传送控制系统,在它的接口上接有各种元器件,而各种元器件之间的逻辑关系是通过程序来表达的,改变这种关系只要重新编排原来的程序就行了,比较方便。1.1传送带控制系统的发...

1、当您付费下载文档后,您只拥有了使用权限,并不意味着购买了版权,文档只能用于自身使用,不得用于其他商业用途(如 [转卖]进行直接盈利或[编辑后售卖]进行间接盈利)。
2、本站所有内容均由合作方或网友上传,本站不对文档的完整性、权威性及其观点立场正确性做任何保证或承诺!文档内容仅供研究参考,付费前请自行鉴别。
3、如文档内容存在违规,或者侵犯商业秘密、侵犯著作权等,请点击“违规举报”。

碎片内容

传送带PLC的设计

您可能关注的文档

确认删除?
VIP
微信客服
  • 扫码咨询
会员Q群
  • 会员专属群点击这里加入QQ群
客服邮箱
回到顶部