电脑桌面
添加小米粒文库到电脑桌面
安装后可以在桌面快捷访问

静压桩质量监理细则wwVIP免费

静压桩质量监理细则ww_第1页
1/18
静压桩质量监理细则ww_第2页
2/18
静压桩质量监理细则ww_第3页
3/18
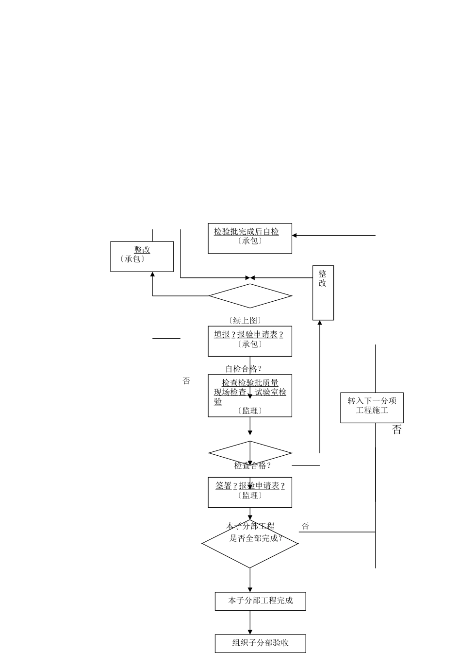
静压桩质量监理细那么第一节工程概况1.1工程设计:1.2工程勘察:1.3设计技术要求:静压预制桩截面尺寸为平安等级为级桩身砼强度等级为采用接头单桩坚向极限承载力值QUKKN。静压桩数共根以第层粉细砂层作为持力层以油压值和桩长双控试桩根先施工试桩再施工工程桩。1.4岩土工程地质条件:〔1〕建筑场地下从上至下在钻探的深度范围内可分为层:1〕2〕3〕……〔2〕建筑场地条件第二节工程特点2.1工程分析对该静压桩的特点及场地地质条件、施工方案等对施工过程中可能产生的影响以及拟采用的作简要的说明和分析。2.2静压桩容易出现的问题〔1〕桩倾斜过大1)预制桩质量差桩尖位置不正或变形易造成桩倾斜;2)压桩机倾斜;3)桩端遇孤石或障碍物;4)桩施工顺序不当而产生较强的挤土效应;5)基坑开挖的不当。〔2〕断桩1)桩倾斜过大可能产生桩断裂;2)桩堆放、起吊、运输的支点、吊点不当;3)压桩过程中桩身弯曲过大而断裂。〔3〕桩位偏向大1)测量放线不准确或对放线的基桩保护不好;2)沉桩工艺不良如桩身倾斜就可能造成开工桩位出现较大的偏向。〔4〕桩难以压入达不到设计要求的深度;1〕压桩顺序不当产生了较强的挤土效应。第三节施工质量控制的根据3.1工程合同:承包合同和委托监理合同。3.2设计:“按图施工〞是施工阶段质量控制的一项重要原那么设计图纸及岩土工程勘察必须经过审查并且有准用证。3.3及有关部门公布的有关质量理方面的法律、法规性〔a〕?建筑法?〔1997年11月1日公布〕;〔b〕?建立工程质量理?〔2000年1月30日公布〕;〔c〕?建筑业企业资质理规定?〔2001年4月公布〕;3.4有关质量检验与控制的专门技术法规性〔a〕?建筑工程施工质量验收统一?GB50300-2001;〔b〕?建筑地基根底工程施工质量验收?GB50202-2002;〔c〕?建筑桩基技术?JGJ94-94;〔d〕?建筑工程桩基检测技术?JGJ106;〔e〕?混凝土构造工程施工质量验收?GB50204-2002;〔f〕?建筑地基根底设计?GB50007-2002;〔g〕?湖北建筑工程施工统一用表?〔2003年元月〕;〔h〕控制施工作业活动质量的技术规程、电焊操作规程、混凝土施工操作规程。第四节质量控制工作流程图否分项工程施工〔承包〕开工准备〔承包〕提交工程开工报审表〔承包〕审查开工条件〔监理〕批准开工申请〔监理〕附有:•施工组织设计••••施工人员到场情况•施工设备到场情况•材料到场情况•材料检验情况•分包〔如有〕资质材料〔续上图〕自检合格?否否检查合格?本子分部工程否是否全部完成?检查检验批质量现场检查、试验室检验〔监理〕签署?报验申请表?〔监理〕本子分部工程完成组织子分部验收转入下一分项工程施工检验批完成后自检〔承包〕填报?报验申请表?〔承包〕整改整改〔承包〕第五节施工准备的质量控制5.1施工承包资质的核查查对?营业执照?及?建筑业企业资质证书?理解其实际的建立业绩、人员素质、理程度、资金情况、技术装备。假设分包给专业承包资质的企业施工对分包的资质要进展核查。5.2施工组织设计的审查1〕施工组织设计的编制、审查和批准应符合规定的程序;2〕施工组织设计应符合的技术政策充分考虑承包合同规定的条件、施工现场条件及法规条件的要求突出“、平安第一〞的原那么;3〕施工组织设计的针对性:承包是否理解并掌握了本工程的特点及难点施工条件是否分析充分;4〕施工组织设计的可操作性:承包是否有才能执行并保证工和质量目的该施工组织设计是否实在可行;5〕技术方案的先进性:施工组织设计采用的技术方案和措施是是否先进适用技术是否成熟施工顺序安排是否合理;6〕质量理和技术理体系质量保证措施是否健全且实在可行;7〕平安、环保和文明施工措施是否实在可行并符合有关规定;8〕在满足合同和法规要求的前提下对施工组织设计的审查应尊重承包的自主技术和理决策。1〕充分考虑施工的质量保证与平安保证;2〕施工方案与施工进度方案的一致性;3〕施工方案与施工平面图布置的协调一致临时办公用房、临时设施、施工道路应做到布置有序有利用施工方案的施行。5.3现场施工准备的质量控制1〕监理应要求施工对建立给定的原始基准点、基准线和标高等测量控制点进展复核并将复测结果报监理工程师审核经批准后施...

1、当您付费下载文档后,您只拥有了使用权限,并不意味着购买了版权,文档只能用于自身使用,不得用于其他商业用途(如 [转卖]进行直接盈利或[编辑后售卖]进行间接盈利)。
2、本站所有内容均由合作方或网友上传,本站不对文档的完整性、权威性及其观点立场正确性做任何保证或承诺!文档内容仅供研究参考,付费前请自行鉴别。
3、如文档内容存在违规,或者侵犯商业秘密、侵犯著作权等,请点击“违规举报”。

碎片内容

静压桩质量监理细则ww

您可能关注的文档

确认删除?
VIP
微信客服
  • 扫码咨询
会员Q群
  • 会员专属群点击这里加入QQ群
客服邮箱
回到顶部