电脑桌面
添加小米粒文库到电脑桌面
安装后可以在桌面快捷访问

企业防汛防洪防台风安全应急预案VIP免费

企业防汛防洪防台风安全应急预案_第1页
1/9
企业防汛防洪防台风安全应急预案_第2页
2/9
企业防汛防洪防台风安全应急预案_第3页
3/9
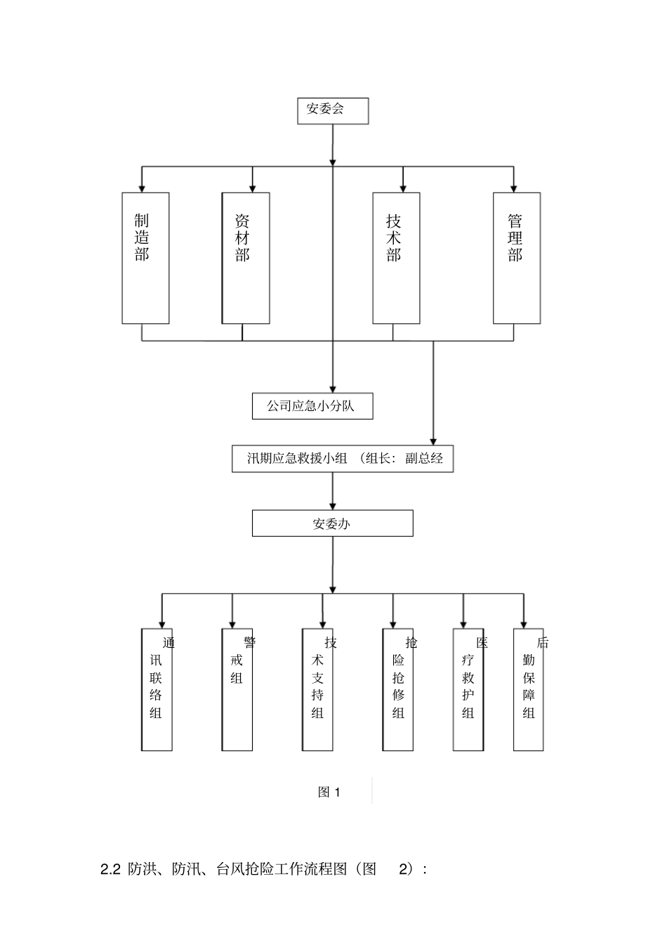
防洪、防汛、台风抢险应急预案1、总则1.1为了贯彻“安全第一,预防为主”的安全生产方针,做好强降雨及汛期前的准备工作,防止强降雨及汛期引发的事故,保证生产活动顺利进行,确保雨天用电安全防止触电事故的发生,特制定本预案。1.2本预案适用于本公司防洪、防汛、台风、洪水、风暴潮产生的灾害及其次生灾害。1.3本预案依据《中华人民共和国安全生产法》、《中华人民共和国建筑法》、《中华人民共和国消防法》、《安全生产许可证条例》、《建筑安全操作规程》。2、应急响应指挥组织机构2.1为了加强对强降雨及汛期所引发的事故应急救援工作的组织领导,公司成立应急响应指挥组织机构,指导项目部应急救援小组应急反映行动按计划有序进行,防止因应急反映行动组织不力或现场救援工作无序和混乱而延误事故应急救援。2.2应急响应指挥组织机构图(图1):2.2防洪、防汛、台风抢险工作流程图(图2):安委会资材部制造部管理部技术部公司应急小分队汛期应急救援小组(组长:副总经安委办通讯联络组警戒组技术支持组抢险抢修组医疗救护组后勤保障组图13)应急指挥办公室应急指挥部下设应急指挥办公室,应急指挥办公室设置在总务科,负责防汛急救援预案的日常管理工作。防洪、防汛、防台应急指挥办公室主任由安全部门负责人担当。⑴组织制订防洪、防汛、防台应急预案。⑵负责组织防洪、防汛、防台物资的保障和人员的应急救援教育培训。⑶建立并管理应急救援的信息资料、档案。(4)协调、组织各应急小组开展抢救工作及善后处置。(5)组织开展应急预案演练,检讨及修正预案。4)警戒组组长:保安干事成员:保安主要任务是做好汛期灾害事故抢险救援现场的重要危险区域的警戒和疏散人员的工作。安全警戒组的职责如下:收到台风防洪防汛信防台防洪领导小组召开会议落实防台防洪安全安全防台防洪措施验收检防洪防汛防台前的工安排人员轮流值班跟进气象部门发布的信抢险队做好工作准备防洪防汛防台期间台风洪水动态通报安全生产检查恢复正常营业总结防洪防台经验持续改进防洪防汛防台后的工台风洪水情况⑴布置安全警戒,实行交通管制,禁止无关人员和车辆进入危险区域。⑵暴雨天气做好厂区范围内的危险点排查工作。⑶根据情况打开排水盖,加大排水量,防止雨水在厂区积聚。疏散时,负责人员清点工作。⑷做好公共基础设施、宣传栏、广告牌、高空挂物、行道树、庭院灯等的防台工作;5)抢险组组长:安全系系长组员:制造部高干、品质保证科科长、保安队队长、制造四科科长、资材部安全员、资材部安全员、设备科系长。主要任务是做好强降雨灾害事故抢险救援工作。⑴协助相关抢险单位开展救援。当发生较大生产安全事故时,配合上级政府应急救援专业抢险救援队伍开展救援。⑵组织抢救、转移相关重要物品。⑶负责抢险被事故破坏的设备、交通设施、通讯设备设施。⑷负责有关防台抢险物资、设备、器材的组织储备、调动和供应。负责抗台、排涝用电的供应;及时调度解决抗灾电力,抢修灾损电力设施。6)后勤组组长:总务科主干组员:饭堂班长、总务科主任、总务担当、小车班班长、公司客车司机、司机主要任务是做好汛期灾害事故抢险救援现场的后勤保障工作。⑴负责组织抢险抢救物资的供应,组织车辆运送抢险救援物资和人员。⑵将所需物资供应现场。⑶负责应急救援所用车辆的调配。⑷配合上级政府应急救援组织开展救援。⑸疏散时,清点人数。(6)组织、协调救助和救灾工作,负责防汛防台和救灾资金的筹集,组织指导和开展救灾捐款等工作;及时负责接收、拨放救灾款物。7)救护组组长:总务科科长组员:护士、厂医、制造一科文员、制造四科文员、制造二科文员、制造三科文员、资材生产管理科文员、制造管理科文员主要任务是做好灾害事故抢险救援现场的医疗救护工作。⑴负责组织在现场附近的安全区域内设立临时医疗救护点,进行临时包扎、冲洗等现场救护、治疗工作,护送受伤人员至医院治疗。⑵与周边医院协调,组织救护车辆及医护人员、器材进入指定地点;⑶配合专业医疗队伍对事发现场进行防化、防毒处理。⑷负责统计人员伤亡情况。8)通讯组组长:安全系系长组员:保安干事、系统担当、主任、保安主要任务是做好灾...

1、当您付费下载文档后,您只拥有了使用权限,并不意味着购买了版权,文档只能用于自身使用,不得用于其他商业用途(如 [转卖]进行直接盈利或[编辑后售卖]进行间接盈利)。
2、本站所有内容均由合作方或网友上传,本站不对文档的完整性、权威性及其观点立场正确性做任何保证或承诺!文档内容仅供研究参考,付费前请自行鉴别。
3、如文档内容存在违规,或者侵犯商业秘密、侵犯著作权等,请点击“违规举报”。

碎片内容

企业防汛防洪防台风安全应急预案

您可能关注的文档

确认删除?
VIP
微信客服
  • 扫码咨询
会员Q群
  • 会员专属群点击这里加入QQ群
客服邮箱
回到顶部