电脑桌面
添加小米粒文库到电脑桌面
安装后可以在桌面快捷访问

机电传动作业VIP免费

机电传动作业_第1页
1/10
机电传动作业_第2页
2/10
机电传动作业_第3页
3/10
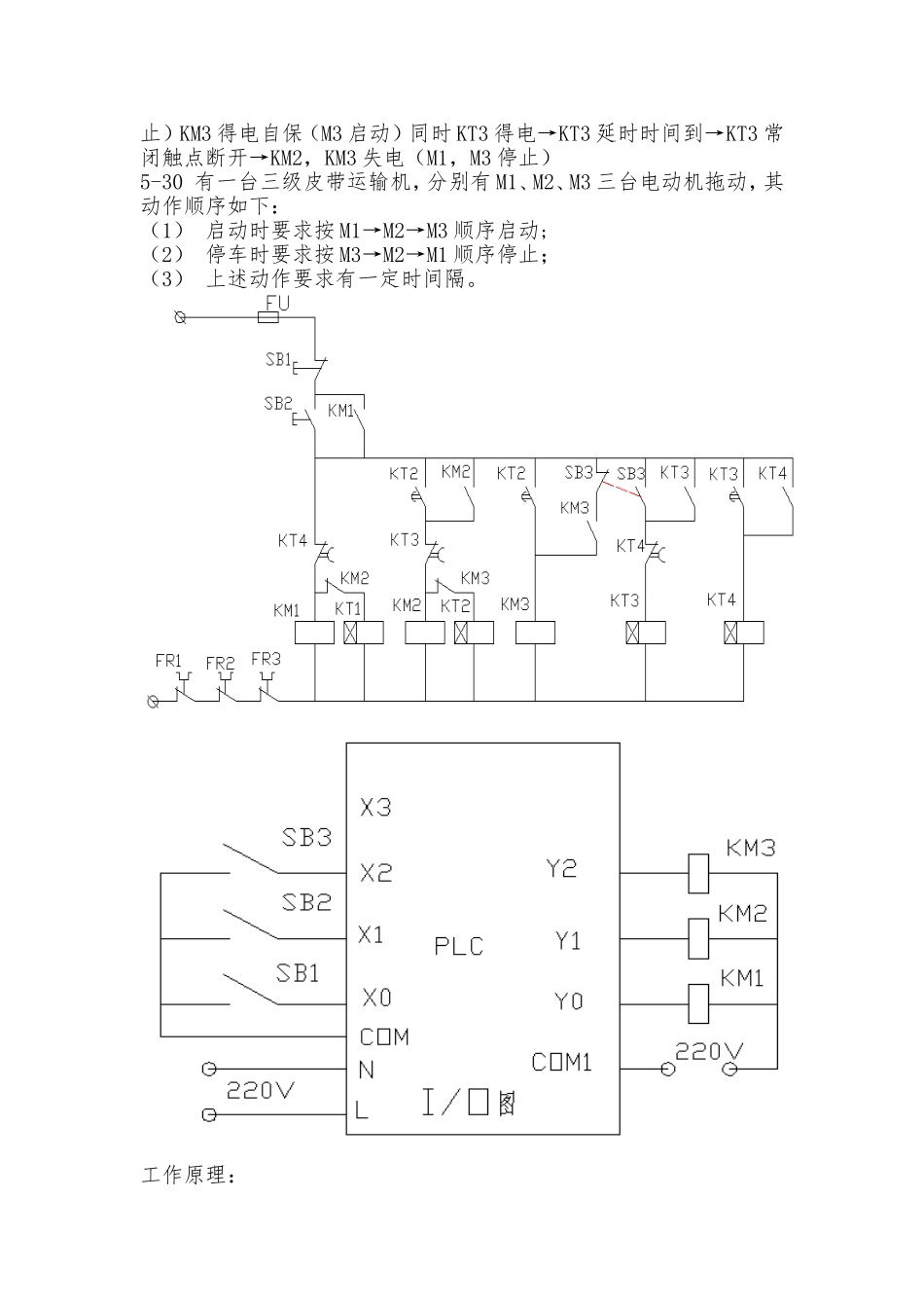
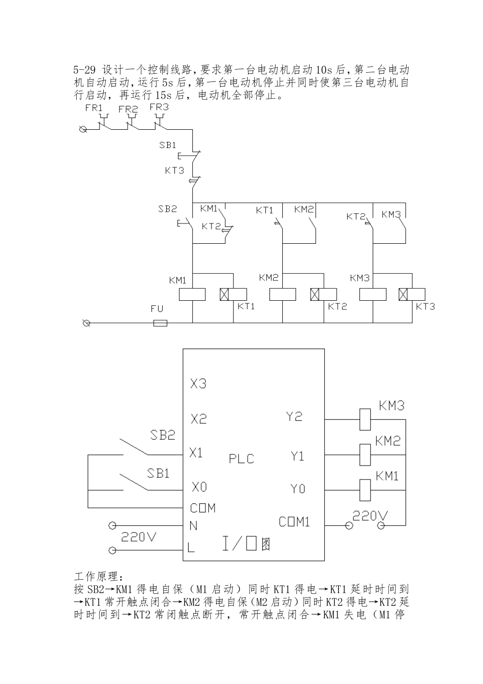
5-29设计一个控制线路,要求第一台电动机启动10s后,第二台电动机自动启动,运行5s后,第一台电动机停止并同时使第三台电动机自行启动,再运行15s后,电动机全部停止。工作原理:按SB2→KM1得电自保(M1启动)同时KT1得电→KT1延时时间到→KT1常开触点闭合→KM2得电自保(M2启动)同时KT2得电→KT2延时时间到→KT2常闭触点断开,常开触点闭合→KM1失电(M1停止)KM3得电自保(M3启动)同时KT3得电→KT3延时时间到→KT3常闭触点断开→KM2,KM3失电(M1,M3停止)5-30有一台三级皮带运输机,分别有M1、M2、M3三台电动机拖动,其动作顺序如下:(1)启动时要求按M1→M2→M3顺序启动;(2)停车时要求按M3→M2→M1顺序停止;(3)上述动作要求有一定时间隔。工作原理:启动:按SB2→KM1得电自保(M1启动)同时KT1得电→KT1延时时间到→KM2得电自保(M2启动)同时KT2得电→KT2延时时间到→KM3得电自保(M3启动)停止:按SB3→KM3失电(M3停止)同时KT3得电自保→KT3延时时间到→KM2失电(M2停止)同时KT4得电→KT4延时时间到→KM1失电(M1停止)5-31为两台异步电动机设计一个控制线路,要求如下:(1)两台电动机互不影响地独立操作;(2)能同时控制两台电动机的启动和停止;(3)当一台电动机发生过载时,两台电动机均停止。工作原理:启动:SB2→KM1得电自保(M1启动);SB4→KM2得电自保(M2启动)。SB6→KA得电→KM1,KM2得电自保(同时M1,M2启动)停止:SB1总停止开关;SB3为M1停止开关;SB5为M2停止开关。5-32现有一双速电动机,试按下述要求设计控制前路:(1)分别用两个按钮操作电动机的高速启动和低速启动,用一个总停按钮操作电动机的停止;(2)启动高速时,应先接成低速,然后经延时后再转换接到高速;(3)应有短路保护与过载保护。工作原理:低速启动:按SB2→KM1得电自保高速启动:按SB3→KA得电自保,同时KT得电→KM1得电自保(低速启动)→KT延时时间到→KM1失电,KM2,KM3得电自保(低速停止,高速启动)停止:SB1为总停开关;SB4为低速停止开关;SB5为高速停止开关。5-33设计一个小车运行的控制线路。小车由异步电动机拖动,其动作程序如下:(1)小车原位开始前进,到终点后自动停止;(2)在终端停留2min后自动停止;(3)要求在前进或后退途中的任意位置都能停止或启动。工作原理:按SB1→KM1得电自保(正转)SQ2闭合→到终点碰到SQ1→KM1失电,同时KT得电→KT延时时间到→电源断开;SB3→KM2得电自保(反转)→返回原位SQ2断开→KM2失电5-34某机床主轴电动机M1,要求M1:(1)进行可逆运行;(2)可正向点动、两处启动、停止;(3)可进行反接制动;(4)有短路和过载保护。工作原理:点动开关:SQ6两处启动:按SB2(或SB3)→KM1得电自保反接制动:按SB4(或SB5)→KM1失电,同时KM2得电自保(反转)KT得电→KT延时时间到→KM2失电5-35有两台电动机M1、M2,要求:(1)按下控制按钮SB1电动机正转,经过10s后电动机自动停止,再经过15s后电动机自动反转;(2)M1、M2能同时或分别停止;(3)控制电路应有短路、过载和零压保护环节。工作原理:启动:按SB1→KM1,KM2得电自保(M1,M2正转)同时KT1得电→KT1延时时间到→KM1,KM2失电(M1,M2停止)同时KT2得电→KT2延时时间到→KM3,KM4得电自保(M1,M2反转)停止:SB0为总停开关;SB2为M1电机正转停止开关;SB3为M2电机正转停止开关;SB4为M1反转停止开关;SB5为M2反转停止开关

1、当您付费下载文档后,您只拥有了使用权限,并不意味着购买了版权,文档只能用于自身使用,不得用于其他商业用途(如 [转卖]进行直接盈利或[编辑后售卖]进行间接盈利)。
2、本站所有内容均由合作方或网友上传,本站不对文档的完整性、权威性及其观点立场正确性做任何保证或承诺!文档内容仅供研究参考,付费前请自行鉴别。
3、如文档内容存在违规,或者侵犯商业秘密、侵犯著作权等,请点击“违规举报”。

碎片内容

机电传动作业

书海行舟+ 关注
实名认证
内容提供者

热爱教学事业,对互联网知识分享很感兴趣

确认删除?
VIP
微信客服
  • 扫码咨询
会员Q群
  • 会员专属群点击这里加入QQ群
客服邮箱
回到顶部