电脑桌面
添加小米粒文库到电脑桌面
安装后可以在桌面快捷访问

旅游项目管理策划VIP免费

旅游项目管理策划_第1页
1/7
旅游项目管理策划_第2页
2/7
旅游项目管理策划_第3页
3/7
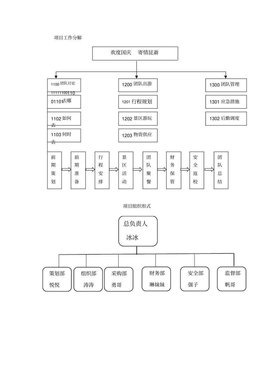
项目管理----应用技术学院教职工昆嵛山旅游规划与实施调动员工积极性具体方案实施三个月后,全体教职工积极性明显提高,达成目标。为了更好地营造企业文化,加强全院教职工沟通与交流,减轻员工工作压力,经教职工会议讨论,院领导决定利用周末到昆嵛山旅游,具体规划如下:范围计划(1)欢度国庆,寄情昆嵛——昆嵛山一日游。项目设计本次活动的具体策划:组织,旅行路线,游玩过程,项目结束。(2)时间:2016年9月25日——2016年10月1日(3)成本要求。每人约260元项目描述项目描述欢度国庆寄情昆嵛------应用技术学院出游项目项目目标增加团队团结,放松心情,融洽感情,加强员工沟通与交流工作规范安全第一,旅行愉快所需资源估计车票、门票、矿泉水、零食、午餐重要进度计划2016年9月25日,团队开会讨论去哪游玩(确定昆嵛山)2016年9月29日,团队讨论出行注意事项并收取费用2016年10月1日,团队集体出游到昆嵛山院领导审核意见:按要求保质保量完成任务项目工作分解1100团队讨论1111110011001101去哪1102如何去1103何时去欢度国庆寄情昆嵛1200团队出游1201行程规划1202景区游玩1203物资供应1300团队管理1301应急措施1302后勤调度前期策划前期准备行程安排景区活动团队聚餐财务保管安全返校团队总结项目组织形式总负责人冰冰策划部悦悦组织部涛涛采购部勇哥财务部琳妹妹安全部强子监督部帆哥●主要责任▲次要责任和协助资源计划进度计划任务名称组织部采购部策划部安全部财务部监督部总负责人出行计划●▲▲组织人员●▲经费预算●▲▲活动安排●●▲物品采购●●▲经费管理●▲▲应急物品采购与管理●●▲▲监督管理●●项目进度9月25日9月28日9月29日9月30日10月1日团队讨论出行地点确定活动方案,分配任务各部门分工完成任务前期工作总结,确认出行计划并强调安全意识团队集体出游昆嵛山,并顺利返回根据出行时间要求,责任人自行安排时间采购相关项目,做到货比三家,总计4619成本计划备注:根据以往出行情况和个人身体条件,自行准备野外相关保障装备及药品。采购计划序号项目名称内容数量单价总价格(元)1交通消费大巴车18张100(往返)18002饮食消费(午餐)矿泉水、面包、火腿肠、榨菜、黄瓜、西红柿2包、其他各36个20、3、2、0.5、0.5、0.51174晚餐18503娱乐消费真人CS18305404其他创可贴、藿香正气水各1盒10、15255意外保险购买出行意外保险18509006预留到现场后其他消费1810180序号采购项目采购形式责任人1包车租用公交公司中巴张兆勇2午餐超市购买张兆勇3保险保险公司购买张兆勇4创可贴、藿香正气水药店购买张兆勇5晚餐联系性价比高的酒店张兆勇要求保质保量保时完成任务。质量计划沟通计划项目名称:欢度国庆,寄情昆嵛项目实施日期:2016年10月1日分项项目质量等级标准评定标准得分财物预算合理计划支出各项资金优、良优采购争取最大可能节约的资金优、良优娱乐质量实实在在缓解了教师的压力,为大家带来了好心情优、良优安全质量是否为大家人身财产着想,并取得了一定效果优、良优宣传质量是否时刻保持着公民的优良素质,与保护环境优、良优结论:通过质量管理手段和方法,计划、实施、检查、持续、改进,全部达到优。序号主题时间参会成员召集人1团队讨论出行地点9月25日8:00全体成员冰冰确定活动方案,分配任务9月28日8:00全体成员悦悦各部门简述任务完成情况,全体成员提出相关意见9月29日14:00全体成员涛涛前期工作总结,确认出行计划并强调安全意识9月30日8:00全体成员冰冰全体成员对昆嵛山之行进行总结及谈谈自身感受10月1日18:00全体成员冰冰风险计划根据以往出行风险经验,我们对此做出了详细的讨论,从而得出了具体的风险应对措施,如表所示:项目风险计划表风险评估管理过程风险风险的应对可控风险费用风险成本意外上涨,超出教师的接受范围预先调查费用的可接受范围,拟定上涨金额区间,在项目进行过程中尽量节减其它方面的开支。路线确定路线选择是否符合大多数人的喜好,选择商业景点或者自然风光预先进行旅游景点喜好调查,并对初步拟定的两种路线进行最后满意度评估并根据需要更改资源配备1.个人救护品数量或种类是否准备完备;2.小组安排人...

1、当您付费下载文档后,您只拥有了使用权限,并不意味着购买了版权,文档只能用于自身使用,不得用于其他商业用途(如 [转卖]进行直接盈利或[编辑后售卖]进行间接盈利)。
2、本站所有内容均由合作方或网友上传,本站不对文档的完整性、权威性及其观点立场正确性做任何保证或承诺!文档内容仅供研究参考,付费前请自行鉴别。
3、如文档内容存在违规,或者侵犯商业秘密、侵犯著作权等,请点击“违规举报”。

碎片内容

旅游项目管理策划

确认删除?
VIP
微信客服
  • 扫码咨询
会员Q群
  • 会员专属群点击这里加入QQ群
客服邮箱
回到顶部