电脑桌面
添加小米粒文库到电脑桌面
安装后可以在桌面快捷访问

人力资源操作流程大全VIP免费

人力资源操作流程大全_第1页
1/25
人力资源操作流程大全_第2页
2/25
人力资源操作流程大全_第3页
3/25
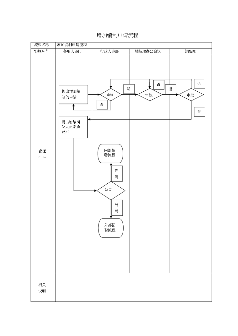
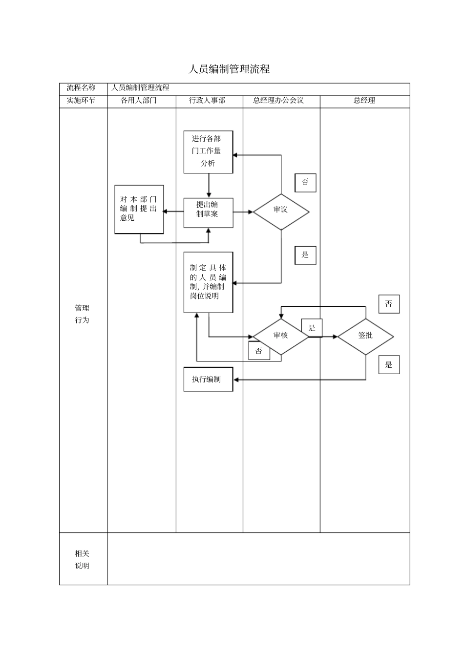
岗位设置管理流程流程名称岗位设置管理流程实施环节各职能部门行政人事部主管、分管领导总经理管理行为相关说明工作分析意见意见是否否是根据公司发展战略进行职能分解和机构设置根据人力资源规划确定编制否审核制作岗位说明书职责划分与岗位设置是实施薪酬预算薪酬设计是审核否否审批是人员编制管理流程流程名称人员编制管理流程实施环节各用人部门行政人事部总经理办公会议总经理管理行为相关说明对本部门编制提出意见进行各部门工作量分析提出编制草案制定具体的人员编制,并编制岗位说明执行编制否审议是否是审核否是签批增加编制申请流程流程名称增加编制申请流程实施环节各用人部门行政人事部总经理办公会议总经理管理行为相关说明提出增加编制的申请提出增编岗位人员素质要求审核否外部招聘流程内部招聘流程外聘内聘决策否审议审批是是是否用人申请流程流程名称用人申请流程实施环节用人部门部门负责人主管领导行政人事部管理行为相关说明维持现状因调动、流失等原因出现职位空缺报告部门负责人不影响工作判断影响工作填写用人申请表是审核否否核实是实施招聘流程公司内部招聘流程流程名称公司内部招聘流程实施环节用人部门行政人事部公司员工员工原就任部门管理行为相关说明用人申请流程用人部门面试,人力资源部提供相关支持面试公司外部招聘程序决定外聘判断决定内聘对内发布招聘启事人员筛选通知职员,并办理调动手续报名,填写应聘登记表与员工沟通,必要时请人力资源部协调关键人员不能调离判定非关键人员公司外部招聘流程流程名称公司外部招聘流程实施环节用人部门行政人事部应聘人员主管副总/总经理管理行为相关说明用工申请流程用人部门面试,人力资源部提供相关支持面试人员筛选公司内部招聘程序决定内聘判断决定外聘对外发布招聘启事通知报到入职流程报名,填写应聘登记表报到否审核是新员工入职流程流程名称新员工入职流程实施环节行政人事部用人部门管理行为相关说明入职手续:包括档案建立、考勤系统录入、工作证办理等规定内容新入职员工需知:新入职员工在试用期内不得向公司借款或请假超过7天以上;凡本公司员工均需遵守公司的各项规章制度,如有违纪者,将受到相应的处罚;入职当天学习公司手册内容(蓝皮书);新入职员工每周六按照规定时间参加培训学习;学习领会试用员工转正流程。新员工建档入职手续办理发放员工手册引领参观熟识人力资源部和用人部门配合进行岗前培训制度培训签订试用合同存档试用员工转正流程试用工作交接工作关系介绍标配物品领取劳动合同管理流程流程名称劳动合同管理流程实施环节相关员工部门、主管领导行政人事部管理行为相关说明新员工报到入职试用期满合同期满是否续签合同否考核合格是签订试用合同不合格辞退流程办理离职手续存档劳动仲裁机构签字备案签订正式合同新员工试用期满转正流程流程名称新员工试用期满转正流程实施环节用人部门试用期满新员工行政人事部主管领导总经办管理行为相关说明转正考核评估是否合格员工辞退流程是否留用否否员工填写转正申请是是否是审核存档劳动仲裁机构签字备案签订正式合同延长试用期是审批否职务任命流程流程名称职务任命流程实施环节部门、主管领导行政人事部总经理办公会总经理董事会管理行为相关说明提出任命名单(部门负责人以下职位)制定晋升制度及各级人员任职资格考察是存档备案是下发任命通知否否审议是否审议审议是否否审批是任命除财务负责人之外的部门级管理人员提请任命财务负责人否签发是任命公司经理否是审议下发任命通知考勤管理流程流程名称考勤管理流程实施环节各部门人事专员行政人事部分管领导管理行为相关说明各部门员工打卡接受考勤特殊情况不能打卡者由部门负责人核实确认制定考勤制度,配备考勤打卡设备月末汇总编制考勤表工资发放流程根据考勤及其他依据编制工资表否审核是否审核是监卡考勤异常登记员工加班申请流程流程名称员工加班申请流程实施环节加班员工部门、主管领导行政人事部财务部管理行为相关说明公司目前实行加班申请总经理审批暂行制度。因工作需要加班填写加班申请表执行加班填写加班记录否审批是审核否是纳入综合考评审核是否加班工资核算员...

1、当您付费下载文档后,您只拥有了使用权限,并不意味着购买了版权,文档只能用于自身使用,不得用于其他商业用途(如 [转卖]进行直接盈利或[编辑后售卖]进行间接盈利)。
2、本站所有内容均由合作方或网友上传,本站不对文档的完整性、权威性及其观点立场正确性做任何保证或承诺!文档内容仅供研究参考,付费前请自行鉴别。
3、如文档内容存在违规,或者侵犯商业秘密、侵犯著作权等,请点击“违规举报”。

碎片内容

人力资源操作流程大全

确认删除?
VIP
微信客服
  • 扫码咨询
会员Q群
  • 会员专属群点击这里加入QQ群
客服邮箱
回到顶部