电脑桌面
添加小米粒文库到电脑桌面
安装后可以在桌面快捷访问

全自动洗衣机程序设计VIP免费

全自动洗衣机程序设计_第1页
1/14
全自动洗衣机程序设计_第2页
2/14
全自动洗衣机程序设计_第3页
3/14
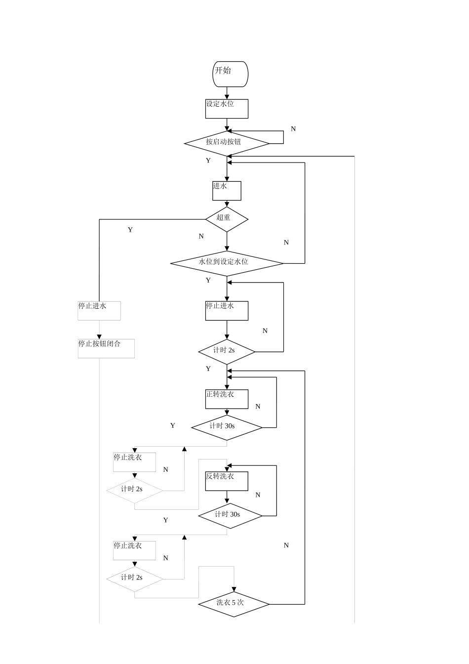
全自动洗衣机程序设计第一部分总体思路全自动洗衣机的工作原理:开始-进水-洗衣-排水-脱水-结束第二部分电气设计部分如下图为全自动洗衣机的PLC控制系统电路图。通过PLC来实现电动机的正反转,并且实现洗衣机按预先设置的程序自动执行,完成洗衣。当需要手动排水与脱水时,可强制止自动程序的运行,跳出自动切换到手动操作。为防止全自动洗衣机在工作过程中,电路发生短路,损坏电动机和电路中的各种电气设备,因此在主电路中安装了熔断器,当电路出现短路故障时,能迅速、可靠的断开电源。全自动洗衣机在无人问津的情况下可能长时间运行,为防止电机绕组的温升超过额定值而损坏,采用热继电器作为保护元件,与熔断器搭配使用,可靠地保护电动机。人机接口部分的按钮等都选择低压电器元件,保护操作者的安全。第三部分PLC设计部分3.1正常运行流程图如下图所示。超重停止按钮闭合停止进水N计时2s停止洗衣N计时2s停止洗衣NNNNYYYYYNNYN开始洗衣5次计时30s反转洗衣计时30s正转洗衣计时2s停止进水水位到设定水位进水按启动按钮设定水位32强制运行流程图如下YY排水NNNNYYY超重报警结束计时3s洗完报警洗衣过程运行3次计时30s脱水水是否排完1)程序的构成这个程序有自动方式和手动方式两种。在自动方式下,PLC将运行已经设置好的程序和参数(适用于机械一切都正常工作的情况下)。在手动方式下是在紧急停止情况下,可以手动排水和脱水。2)程序的下载、安装和调试将各个输入输出端子和实际控制系统中的按钮。所需控制设备正确连接,完成硬件的安装。全自动洗衣机程序是由GXDeveloper软件的指令完成,正常NNNYYY结束脱水打开手动脱水开关打开手动排水开关排水洗涤电机和脱水桶停止转动、进水和排水电磁阀闭合按停止按钮正常运行开始工作是程序存放在存储卡中,若要修改程序,先将PLC设定在STOP状态下,运行GXDeveloper编程软件,打开全自动洗衣机程序,即可在线调试,也可用编程器进行调试。第四部分全自动洗衣机控制系统PLC程序4.2.1系统资源分配1.数字量输入部分这个控制系统的输入有启动按钮、停止按钮、水位选择开关(高水位、中水位、低水位)、手动排水、自动排水开关、高水位浮球开关、中水位浮球开关,低水位浮球开关、水排空浮球开关、压力开关共12个。具体的输入地址分配如表4.1所示。表4.1输入地址分配输入地址对应的元器件对应的外部设备X001SB1启动按钮X002SB2停止按钮X003SB3高水位选择开关X004SB4中水位选择开关X005SB5低水位选择开关X006SQ1水排空检测开关X007SQ2高水位检测开关X010SQ3中水位检测开关X011SQ4低水位检测开关X012SB6手动排水X013SB7手动脱水X014SP1压力开关2.数字量输出部分这个控制系统需要控制的外部设备有进水电磁阀、排水电磁阀、洗涤电动机、脱水桶、报警器共五个设备。但是由于洗涤电动机有正转和反转两个状态,分别都应正转继电器和反转继电器,所以输出点有六个。具体的输出地址分配如表4.2所示。表4.2输出地址分配输出地址对应的元器件对应的外部设备Y001YA1启动洗衣机Y002YA2进水电磁阀Y003KM1洗涤电动机正转继电器及脱水Y004KM2洗涤电动机反转继电器Y005YA3排水电磁阀Y006YH报警器3.定时器和计数器全自动洗衣机的控制系统中的工作时间和循环次数需要定时器和计数器来控制。具体定时器和计数器分配如表4.3所示。表4.3定时器和计数器分配类别元器件号设定值作用定时器T02s进水后暂停时间T130s正转洗涤计时T22s正转暂停计时T330s反转洗涤计时T42s反转暂停计时T530s脱水计时T63s洗完报警计时计数器C05次正反洗循环计数C13次大循环计数4.PLCI/0硬件接线图根据全自动洗衣机控制系统的输入、输出地址分配和定时器、计时器分配以及所选PLC型号,PLCI/O硬件接线图如下图4.1所示。图4.1I/O硬件接线图4.3源程序1.辅助继电器在本程序中,M0是按下启动按钮的辅助继电器;M1是判断洗衣机水位是否和设定水位不一致的辅助继电器;M2是判断洗衣机是否和设定水位一致的辅助继电器;M3是停止自动洗衣机的辅助继电器,它的助记符如下。////按下启动按钮,开始洗衣//LDX001ORM0ANIX002OUTM0////洗衣机水位与设定水位不一致辅助继电器//LDX003ANIX007LDX004ANIX010ORBLD...

1、当您付费下载文档后,您只拥有了使用权限,并不意味着购买了版权,文档只能用于自身使用,不得用于其他商业用途(如 [转卖]进行直接盈利或[编辑后售卖]进行间接盈利)。
2、本站所有内容均由合作方或网友上传,本站不对文档的完整性、权威性及其观点立场正确性做任何保证或承诺!文档内容仅供研究参考,付费前请自行鉴别。
3、如文档内容存在违规,或者侵犯商业秘密、侵犯著作权等,请点击“违规举报”。

碎片内容

全自动洗衣机程序设计

您可能关注的文档

确认删除?
VIP
微信客服
  • 扫码咨询
会员Q群
  • 会员专属群点击这里加入QQ群
客服邮箱
回到顶部