电脑桌面
添加小米粒文库到电脑桌面
安装后可以在桌面快捷访问

作业调度实验报告VIP免费

作业调度实验报告_第1页
1/20
作业调度实验报告_第2页
2/20
作业调度实验报告_第3页
3/20
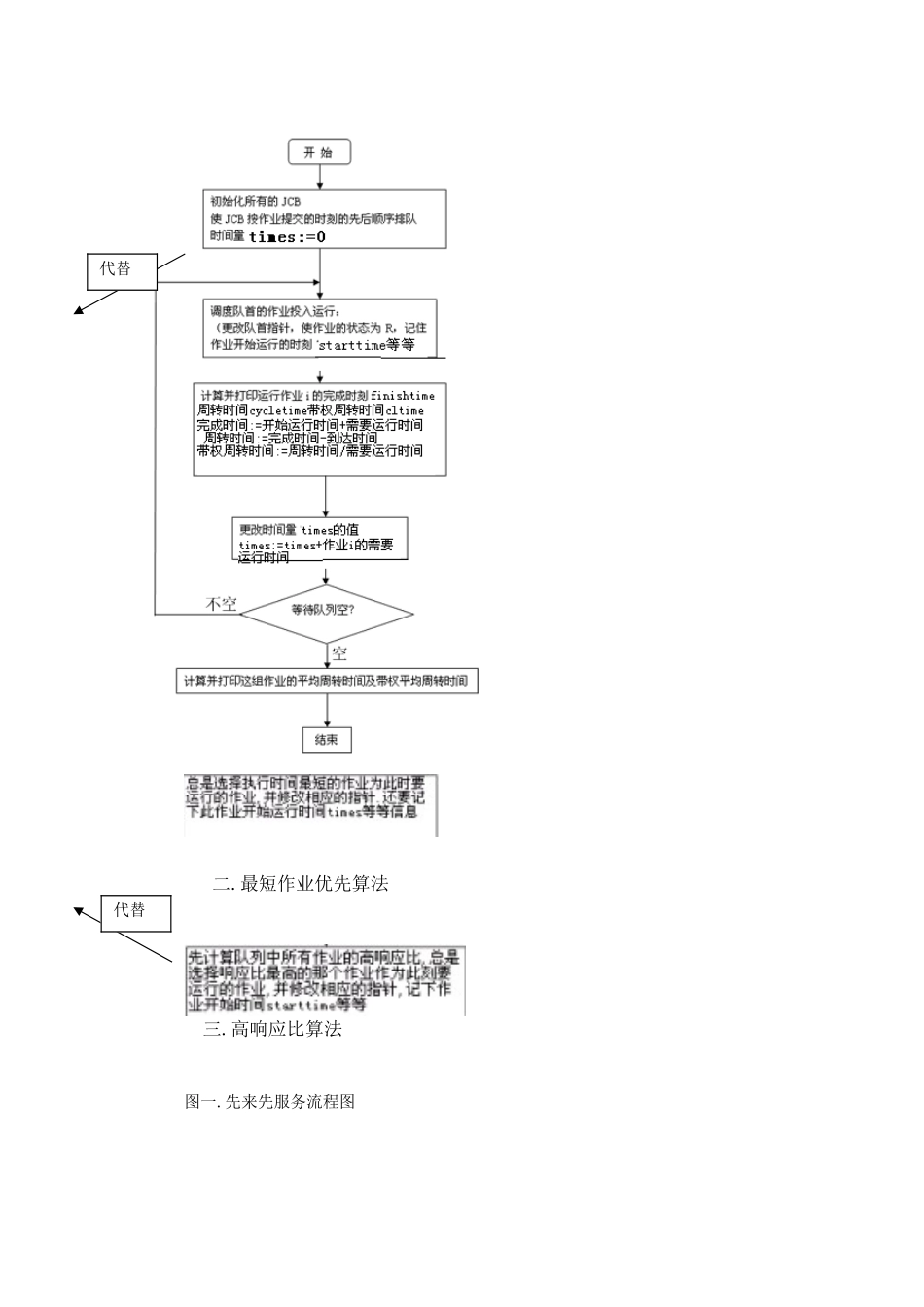
实验二作业调度一.实验题目1、编写并调试一个单道处理系统的作业等待模拟程序。作业调度算法:分别采用先来先服务(FCFS),最短作业优先(SJF)、响应比高者优先(HRN)的调度算法。(1)先来先服务算法:按照作业提交给系统的先后顺序来挑选作业,先提交的先被挑选。(2)最短作业优先算法:是以进入系统的作业所提出的“执行时间”为标准,总是优先选取执行时间最短的作业。(3)响应比高者优先算法:是在每次调度前都要计算所有被选作业(在后备队列中)的响应比,然后选择响应比最高的作业执行。2、编写并调度一个多道程序系统的作业调度模拟程序。作业调度算法:采用基于先来先服务的调度算法。可以参考课本中的方法进行设计。对于多道程序系统,要假定系统中具有的各种资源及数量、调度作业时必须考虑到每个作业的资源要求。二.实验目的:本实验要求用高级语言(C语言实验环境)编写和调试一个或多个作业调度的模拟程序,了解作业调度在操作系统中的作用,以加深对作业调度算法的理解三.实验过程<一>单道处理系统作业调度1)单道处理程序作业调度实验的源程序:zuoye.c执行程序:zuoye.exe2)实验分析:1、由于在单道批处理系统中,作业一投入运行,它就占有计算机的一切资源直到作业完成为止,因此调度作业时不必考虑它所需要的资源是否得到满足,它所占用的CPU时限等因素。2、每个作业由一个作业控制块JCB表示,JCB可以包含如下信息:作业名、提交时间、所需的运行时间、所需的资源、作业状态、链指针等等。作业的状态可以是等待W(Wait)、运行R(Run)和完成F(Finish)三种状态之一。每个作业的最初状态总是等待W。3、对每种调度算法都要求打印每个作业开始运行时刻、完成时刻、周转时间、带权周转时间,以及这组作业的平均周转时间及带权平均周转时间。3)流程图:二.最短作业优先算法三.高响应比算法图一.先来先服务流程图代替代替4)源程序:#include#include#include#definegetpch(type)(type*)malloc(sizeof(type))#defineNULL0intn;floatT1=0,T2=0;inttimes=0;structjcb//作业控制块{charname[10];//作业名intreachtime;//作业到达时间intstarttime;//作业开始时间intneedtime;//作业需要运行的时间floatsuper;//作业的响应比intfinishtime;//作业完成时间floatcycletime;//作业周转时间floatcltime;//作业带权周转时间charstate;//作业状态structjcb*next;//结构体指针}*ready=NULL,*p,*q;typedefstructjcbJCB;voidinize()//初始化界面{printf("\n\n\t\t*********************************************\t\t\n");printf("\t\t\t\t实验二作业调度\n");printf("\t\t*********************************************\t\t\n");printf("\n\n\n\t\t\t\t\t计算机学院软件四班\n");printf("\t\t\t\t\t蓝小花\n");printf("\t\t\t\t\t3204007102\n");printf("\t\t\t\t\t完成日期:2006年11月17号");printf("\n\n\n\t\t请输入任意键进入演示过程\n");getch();}voidinital()//建立作业控制块队列,先将其排成先来先服务的模式队列{inti;printf("\n输入作业数:");scanf("%d",&n);for(i=0;iname);getch();p->reachtime=i;printf("作业默认到达时间:%d",i);printf("\n输入作业要运行的时间:");scanf("%d",&p->needtime);p->state='W';p->next=NULL;if(ready==NULL)ready=q=p;else{q->next=p;q=p;}}}voiddisp(JCB*q,intm)//显示作业运行后的周转时间及带权周转时间等{if(m==3)//显示高响应比算法调度作业后的运行情况{printf("\n作业%s正在运行,估计其运行情况:\n",q->name);printf("开始运行时刻:%d\n",q->starttime);printf("完成时刻:%d\n",q->finishtime);printf("周转时间:%f\n",q->cycletime);printf("带权周转时间:%f\n",q->cltime);printf("相应比:%f\n",q->super);getch();}else//显示先来先服务,最短作业优先算法调度后作业的运行情况{printf("\n作业%s正在运行,估计其运行情况:\n",q->name);printf("开始运行时刻:%d\n",q->starttime);printf("完成时刻:%d\n",q->finishtime);pri...

1、当您付费下载文档后,您只拥有了使用权限,并不意味着购买了版权,文档只能用于自身使用,不得用于其他商业用途(如 [转卖]进行直接盈利或[编辑后售卖]进行间接盈利)。
2、本站所有内容均由合作方或网友上传,本站不对文档的完整性、权威性及其观点立场正确性做任何保证或承诺!文档内容仅供研究参考,付费前请自行鉴别。
3、如文档内容存在违规,或者侵犯商业秘密、侵犯著作权等,请点击“违规举报”。

碎片内容

作业调度实验报告

您可能关注的文档

确认删除?
VIP
微信客服
  • 扫码咨询
会员Q群
  • 会员专属群点击这里加入QQ群
客服邮箱
回到顶部