电脑桌面
添加小米粒文库到电脑桌面
安装后可以在桌面快捷访问

卫生部、级医院常见肿瘤规范化诊疗指导结直肠癌VIP免费

卫生部、级医院常见肿瘤规范化诊疗指导结直肠癌_第1页
1/10
卫生部、级医院常见肿瘤规范化诊疗指导结直肠癌_第2页
2/10
卫生部、级医院常见肿瘤规范化诊疗指导结直肠癌_第3页
3/10
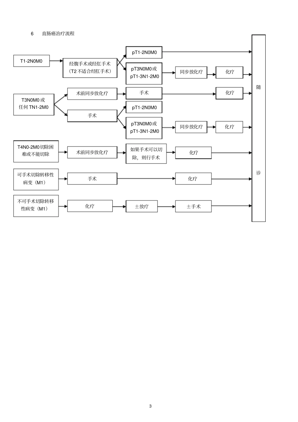
结直肠癌规范化诊治指南( 试行 ) 1 范围本指南规定了结直肠癌的规范化诊治流程、诊断依据、诊断、鉴别诊断、治疗原则和治疗方案。本指南适用于具备相应资质的地市级、县级医疗卫生机构(二级) 及其医务人员对结直肠癌的诊断和治疗。2 术语和定义直肠系膜:指的是在中下段直肠的后方和两侧包裹着的直肠的、形成半圆1.5 ~2.0cm 厚的结缔组织,内含有动脉、静脉、淋巴组织及大量脂肪组织,上自第3 骶椎前方,下达盆膈。3 缩略语下列缩略语适用于本指南3.1 TME :(total mesorectal excision)全直肠系膜切除术3.2 CEA :(cancinoembryonic antigen)癌胚抗原4. 规范化诊治流程拟诊大肠癌病例大肠癌门诊纤维结肠镜检查组织病理学检测气钡双重对比造影X 线摄片检查肿瘤标志物检测确定诊断排除诊断继续随访术前评估可根治性切除以手术为主的综合治疗不可根治性切除化、放疗再次评估可切除随访2 5 结肠癌治疗流程pT1-3N0M0 T1-2N0M0 手术切除高危 pT3N0M0或pT1-3N1-2M0 化疗随诊T3-4N0M0或任何 TN1-2M0 pT1-3N0M0 手术高危 pT3N0M0或pT1-3N1-2M0 化疗T4N0-2M0切除困难或不能切除化疗如果手术可以切除,则行手术化疗可手术切除转移性病变(M1)手术化疗不可手术切除转移性病变(M1)化疗再手术评估±手术3 6 直肠癌治疗流程pT1-2N0M0 T1-2N0M0 经腹手术或经肛手术(T2 不适合经肛手术)pT3N0M0或pT1-3N1-2M0 同步放化疗化疗随诊T3N0M0 或任何 TN1-2M0 术前同步放化疗手术pT1-2N0M0 手术pT3N0M0或pT1-3N1-2M0 同步放化疗化疗T4N0-2M0切除困难或不能切除术前同步放化疗如果手术可以切除,则行手术化疗可手术切除转移性病变(M1)手术化疗不可手术切除转移性病变(M1)化疗±放疗±手术化疗4 7 诊断依据7.1 高危人群①有便血、便频、大便带粘液、腹痛等肠道症状的人群;②大肠癌高发区的中老年人;③大肠腺瘤患者;④有大肠癌病史者;⑤大肠癌患者的家庭成员;⑥家族性大肠腺瘤病;⑦溃疡性结肠炎;⑧Crohn病;⑨有盆腔放射治疗史者。7.2 临床表现及体征临床表现出现的频度右侧结肠癌依次以腹部肿块、腹痛及贫血最为多见。左侧结肠癌依次以便血、腹痛及便频最为多见。直肠癌依次以便血、便频及大便变形多见。7.2.1右侧结肠癌: 临床上常表现为原因不明的贫血、乏力、 消瘦、低热等。 早期偶有腹部隐痛不适,后期在 60%~ 70%病人中右侧腹部可扪及一质硬肿块。7.2.2左侧结肠癌:早期临床上可表现为排...

1、当您付费下载文档后,您只拥有了使用权限,并不意味着购买了版权,文档只能用于自身使用,不得用于其他商业用途(如 [转卖]进行直接盈利或[编辑后售卖]进行间接盈利)。
2、本站所有内容均由合作方或网友上传,本站不对文档的完整性、权威性及其观点立场正确性做任何保证或承诺!文档内容仅供研究参考,付费前请自行鉴别。
3、如文档内容存在违规,或者侵犯商业秘密、侵犯著作权等,请点击“违规举报”。

碎片内容

卫生部、级医院常见肿瘤规范化诊疗指导结直肠癌

您可能关注的文档

确认删除?
VIP
微信客服
  • 扫码咨询
会员Q群
  • 会员专属群点击这里加入QQ群
客服邮箱
回到顶部