电脑桌面
添加小米粒文库到电脑桌面
安装后可以在桌面快捷访问

啤酒游戏试验指导VIP专享VIP免费

啤酒游戏试验指导_第1页
1/13
啤酒游戏试验指导_第2页
2/13
啤酒游戏试验指导_第3页
3/13
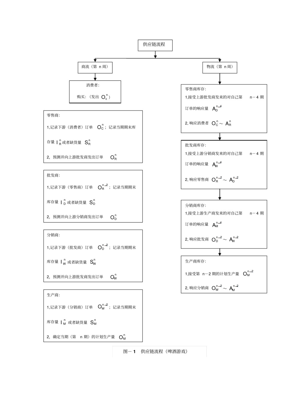
“啤酒游戏”实验指导书一、啤酒游戏的假设(1)“啤酒游戏”的供应链只涉及一种商品:啤酒;(2)供应链节点:共5 个。上游 4 个节点,每个节点代表一个企业;a)最终消费者Consumer b)零售商Retailer c)批发商Distributor d)分销商Wholesaler e)生产商Manufacturer (3)游戏过程的决策问题:各决策主体(零售商、批发商、经销商和生产商)基于实现自身利益最大化的目标来确定自身每周的定购量。(4)供应链为直线型供应链,商品(啤酒)与订单仅仅在相邻的两个节点之间传递,不能跨节点。(5)供应链最上游是生产商,其原材料供应商视为供应链外部因素,并假设原材料供应商的供应能力无限大。(6)生产商的生产能力无限制,各节点的库存量无限制。(7)不考虑供应链的设备故障等意外事件。(8)时间单位:周。(9)每周发一次订单。(10)订货、发货与收货均在期初进行。(第 n 期初发的货为第n-3 期初收到;第n 期初发的订单为第n-3 期初收到。)(11)本期收到的货能够用于本期销售。(12)供货期(提前期) :a)零售商―――消费者:0 周b)批发商―――零售商:4 周(订单响应期2 周,送货时间2 周)c)经销商―――批发商:4 周(订单响应期2 周,送货时间2 周)d)生产商―――经销商:4 周(订单响应期2 周,送货时间2 周)e)生产商制造周期:2 周(13)除了下游节点向相邻上游节点传递订单信息之外,供应链节点之间信息隔绝。二、操作流程与规则(一)供应链流程仅仅考虑节点之间的实物流程(啤酒运输)和业务流程(订单传递)。供应链流程如:图-1 所示。消费者:购买:(发出ncO)物流(第 n 周)商流(第 n 周)零售商库存:1,接受上游批发商发来的对自己第n- 4 期订单的响应量4nDA2, 响应消费者nCO ~nRA批发商库存:1,接受上游分销商发来的对自己第n- 4 期订单的响应量4nWA2, 响应零售商2nRO~2nDA生产商库存:1,接受第 n-2 期的计划生产量2nMO2, 响应分销商2nWO~2nMA分销商库存:1,接受上游生产商发来的对自己第n- 4 期订单的响应量4nMA2, 响应批发商2nDO~2nWA零售商:1,记录下游(消费者)订单nCO;记录当期期末库存量nRI或者缺货量nRS2,预测并向上游批发商发出订单nRO供应链流程批发商:1,记录下游(零售商)订单2nRO;记录当期期末库存量nDI或者缺货量nDS2,预测并向上游分销商发出订单nDO分销商:1,记录下游(批发商)订单2nDO;记录当期期末库存量nWI或者缺货量nWS2,预测并...

1、当您付费下载文档后,您只拥有了使用权限,并不意味着购买了版权,文档只能用于自身使用,不得用于其他商业用途(如 [转卖]进行直接盈利或[编辑后售卖]进行间接盈利)。
2、本站所有内容均由合作方或网友上传,本站不对文档的完整性、权威性及其观点立场正确性做任何保证或承诺!文档内容仅供研究参考,付费前请自行鉴别。
3、如文档内容存在违规,或者侵犯商业秘密、侵犯著作权等,请点击“违规举报”。

碎片内容

啤酒游戏试验指导

确认删除?
VIP
微信客服
  • 扫码咨询
会员Q群
  • 会员专属群点击这里加入QQ群
客服邮箱
回到顶部