电脑桌面
添加小米粒文库到电脑桌面
安装后可以在桌面快捷访问

图书馆管理系统数据库设计-数据库图书馆系统管理VIP免费

图书馆管理系统数据库设计-数据库图书馆系统管理_第1页
1/20
图书馆管理系统数据库设计-数据库图书馆系统管理_第2页
2/20
图书馆管理系统数据库设计-数据库图书馆系统管理_第3页
3/20
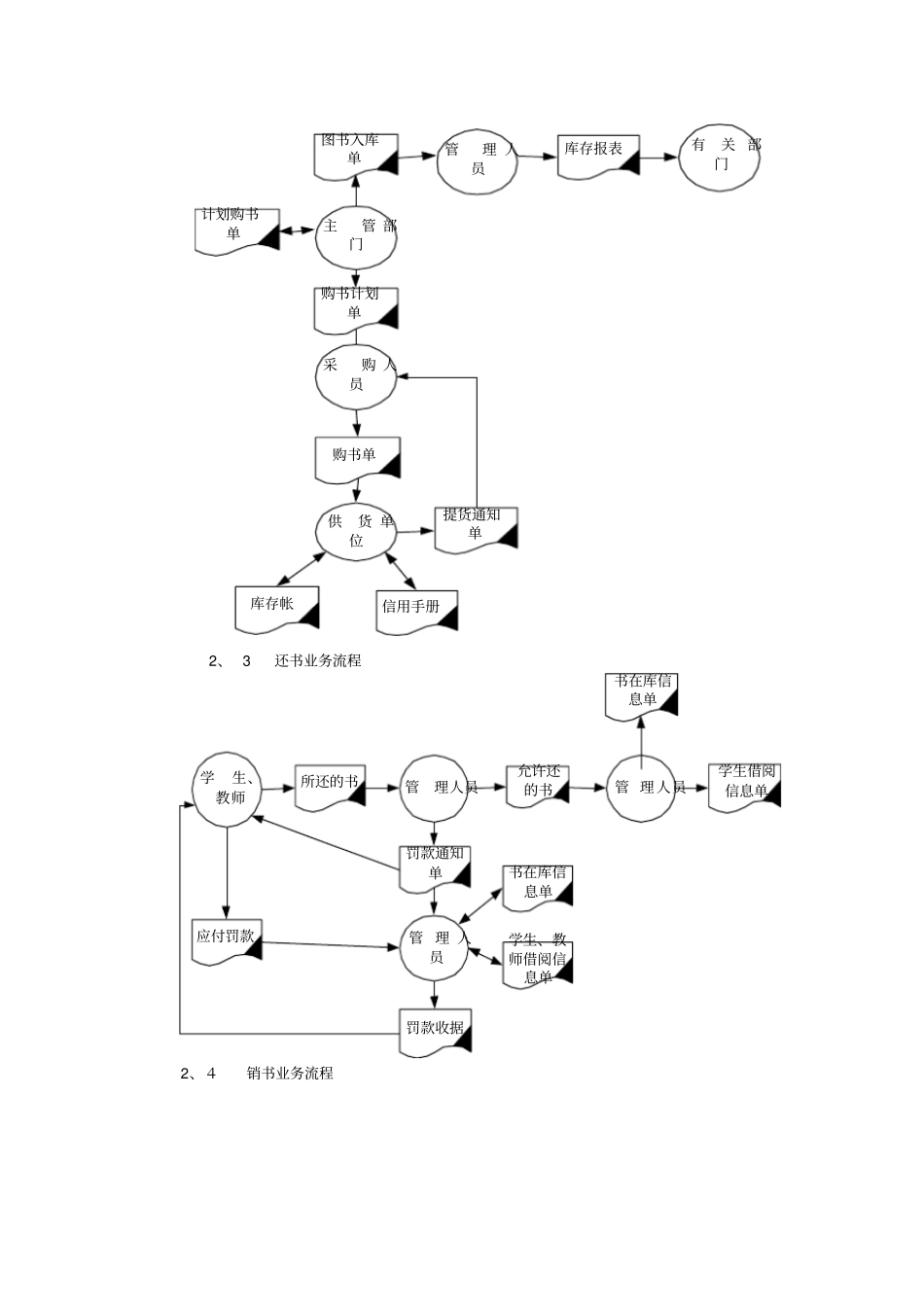
图书馆管理系统数据库设计1 、系统简要分析1、1图书资料基本管理(1) 、新书编号、登记、入库:将新购入得书籍按照国家统一得分类编号; 登记书号、书名、作者、出版社等基本信息, 将新购图书入库. ( 2) 、检索查询 : 按照各种组合条件对书库图书进行查询, 也可以进行模糊查询.(3 )、图书资料统计 : 根据要求对图书总数、各类图书数以及图书单价合计统计, 打印日常报表。( 4)、旧书出库处理 : 通过查询确定过期期刊杂志、旧书籍以及由于丢失等其她原因需要从书库中撤销得图书资料,并从书库中撤除。1、 2 图书资料借阅管理(1 )、借还书管理 : 主要负责日常得借书登记、还书登记, 与逾期未还图书得催还工作。(2)、检索查询 : 按照各种组合条件对图书借阅情况查询,也可以进行模糊查询。(3) 、借书统计: 统计各类书借阅情况, 借阅次数; 统计个人借书情况,打印日常报表 . ( 4)、定期整理图书借阅信息:将还书情况总结整理后彻底删除。此外 ,图书管理人员还要定期做整理图书资料得全部图书清单、分类印图书清单、借阅清单以及整理填写各种报表等工作。2、业务流程分析2、1 借书业务流程借书单允许的 借书单所借的 书书在库 信息单学生、教师借书信 息单不允许 借书单学生 、教师管理人 员管 理 人员2、2 新书购进入库业务流程图书入库单计划购书单购书计划单购书单库存帐信用手册提货通知单库存报表主管 部门管理 人员采购 人员供货 单位有关 部门2、 3还书业务流程所还的书允许还的书书在库信息单学生借阅信息单罚款通知单罚款收据应付罚款学生、教师管理人员管 理 人员管 理人员书在库信息单学生、教师借阅信息单2、4销书业务流程销书计划库存书情况单销书报表主 管 部 门管理 人员有 关部门3、数据流程图符号说明 : 实体处理逻辑数据流数据存储3、 1 系统得总数据流程图S1 借 阅 者P1借书处理P2还书处理F02 图书库存情况存档D1借书单D3书D5借书清单D6还书清单D2图书S2 管 理 员P3新书入库处理D9入库新书清单F01 借阅者借阅情况存档S2 管 理 员P5销书处理D11销书计划D12销书清单D10入库清单D4不合格借阅单S3 采购员P4购书处理D7订书单D8购书清单3、2 借书处理数据流程图P1. 2书借出处理F12P1.1审核处理F11 图 书在库情况 存档 学生借书情况存档D13借书单D15合格的借书单D14不合格借阅单S4借 阅 者D18图书D17借书清单D16借书清单3、 3 还...

1、当您付费下载文档后,您只拥有了使用权限,并不意味着购买了版权,文档只能用于自身使用,不得用于其他商业用途(如 [转卖]进行直接盈利或[编辑后售卖]进行间接盈利)。
2、本站所有内容均由合作方或网友上传,本站不对文档的完整性、权威性及其观点立场正确性做任何保证或承诺!文档内容仅供研究参考,付费前请自行鉴别。
3、如文档内容存在违规,或者侵犯商业秘密、侵犯著作权等,请点击“违规举报”。

碎片内容

图书馆管理系统数据库设计-数据库图书馆系统管理

您可能关注的文档

确认删除?
VIP
微信客服
  • 扫码咨询
会员Q群
  • 会员专属群点击这里加入QQ群
客服邮箱
回到顶部