电脑桌面
添加小米粒文库到电脑桌面
安装后可以在桌面快捷访问

客户服务部操作手册VIP免费

客户服务部操作手册_第1页
1/13
客户服务部操作手册_第2页
2/13
客户服务部操作手册_第3页
3/13
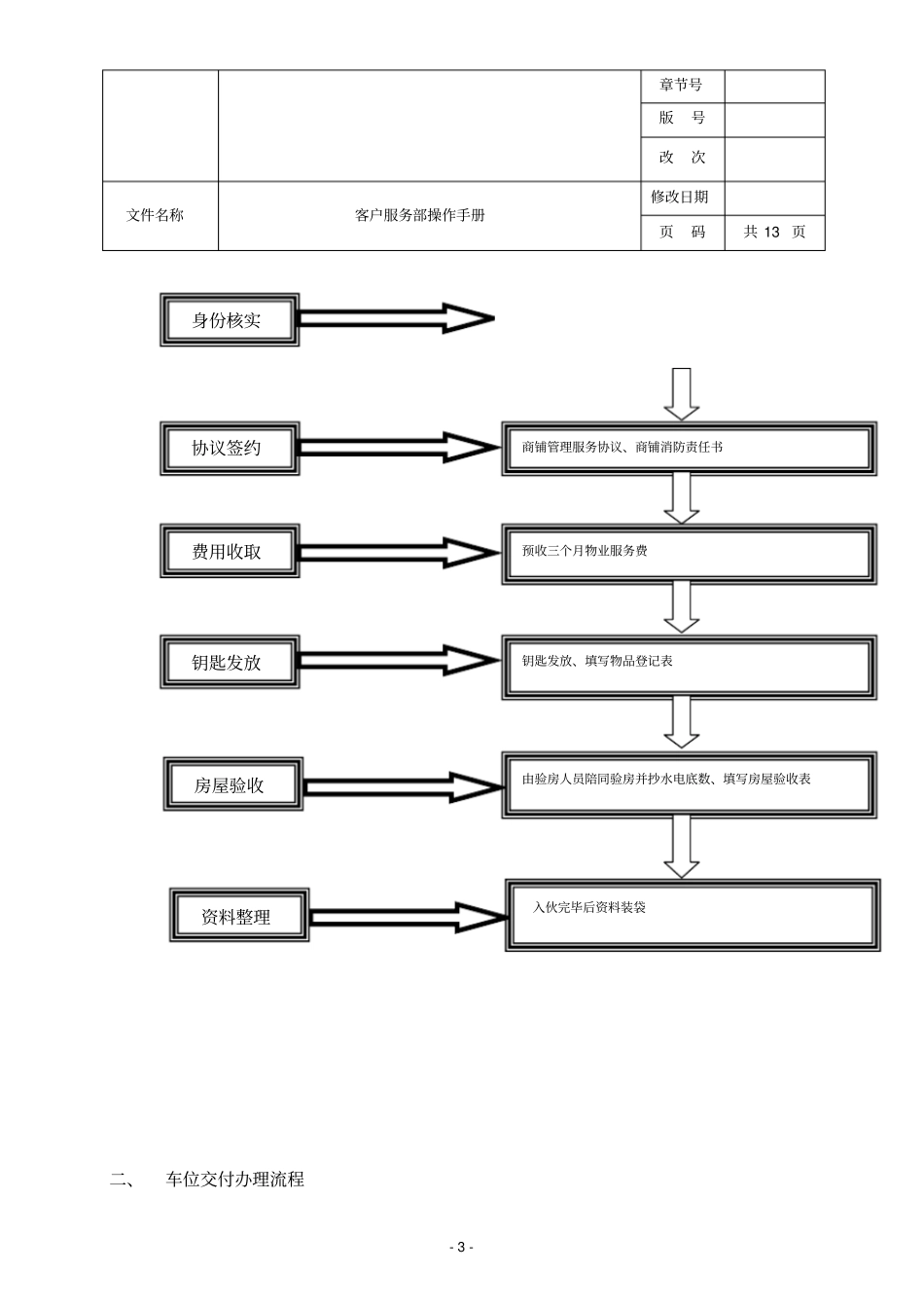
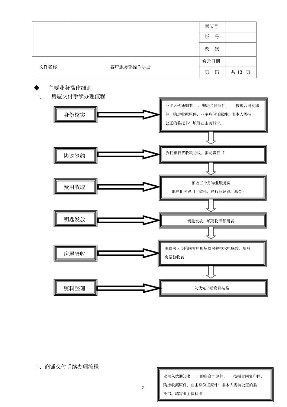
章节号版号改次文件名称客户服务部操作手册修改日期页码共 13 页- 1 - 目录◆主要业务目录一、房屋交付手续办理流程二、商铺交付手续办理流程三、车位交付办理流程四、租户管理服务协议签订五、室内装饰装修办理流程六、机动车车位租用协议签订七、客户中心现场投诉处理流程八、客户报修处理程序九、客户走访制度及表格十、相关费用的收取、交纳、报销办理流程十一、物资出门的手续办理十二、遗失物品申报和存放遗失物品申报和存放十三、空置房检查跟进和更新十四、客户服务部工作月报信息填写和报送十五、客户服务部月末的信息归类章节号版号改次文件名称客户服务部操作手册修改日期页码共 13 页- 2 - ◆主要业务操作细则一、房屋交付手续办理流程二、商铺交付手续办理流程业主入伙通知书、购房合同原件、按揭合同复印件、购房收据原件、业主身份证原件;非本人需持公正的委托书;填写业主资料卡。委托银行代收款协议、消防责任书身份核实协议签约费用收取预收三个月物业服务费地产相关费用(契税、产权登记费、基金)钥匙发放入伙完毕后资料装袋房屋验收钥匙发放、填写物品领用表资料整理由验房人员陪同客户现场验房并抄水电底数,填写房屋验收表业主入伙通知书、购房合同原件、按揭合同复印件、购房收据原件、业主身份证原件;非本人需持公正的委托书。填写业主资料卡章节号版号改次文件名称客户服务部操作手册修改日期页码共 13 页- 3 - 二、车位交付办理流程身份核实协议签约商铺管理服务协议、商铺消防责任书费用收取预收三个月物业服务费钥匙发放钥匙发放、填写物品登记表房屋验收由验房人员陪同验房并抄水电底数、填写房屋验收表资料整理入伙完毕后资料装袋章节号版号改次文件名称客户服务部操作手册修改日期页码共 13 页- 4 - 三、租户管理服务协议签订第一步:在得到业主确认后需与租户签订租户物业管理服务协议和商铺消防责任书和从业人员登记表,并附上租户的身份证复印件一张。第二步:签订租户管理服务协议。第三步:费用结算:抄电表读数,结算客户使用费用。五、室内装饰装修办理流程所有进入 xx 广场区域的施工单位,均需以我司制作的《二次装修手册》为依据办理入场手续。协议签约车位服务协议身份核实业主交付通知书、购车位合同原件、按揭合同复印件、购房收据原件、 业主 身份证原件; 非本人需持公正的委托书。费用收取预收三个月车位服务费车卡授权开通车卡,争得业主同意可一次性开通半年或一年...

1、当您付费下载文档后,您只拥有了使用权限,并不意味着购买了版权,文档只能用于自身使用,不得用于其他商业用途(如 [转卖]进行直接盈利或[编辑后售卖]进行间接盈利)。
2、本站所有内容均由合作方或网友上传,本站不对文档的完整性、权威性及其观点立场正确性做任何保证或承诺!文档内容仅供研究参考,付费前请自行鉴别。
3、如文档内容存在违规,或者侵犯商业秘密、侵犯著作权等,请点击“违规举报”。

碎片内容

客户服务部操作手册

您可能关注的文档

确认删除?
VIP
微信客服
  • 扫码咨询
会员Q群
  • 会员专属群点击这里加入QQ群
客服邮箱
回到顶部