电脑桌面
添加小米粒文库到电脑桌面
安装后可以在桌面快捷访问

消防临时查封VIP免费

消防临时查封_第1页
1/24
消防临时查封_第2页
2/24
消防临时查封_第3页
3/24
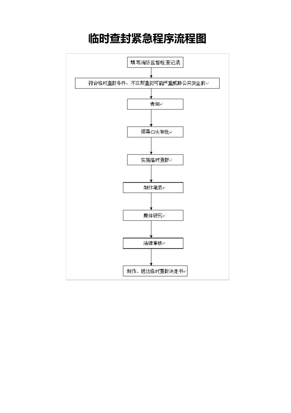
第八节 临时查封 《 消 防 监 督 检 查 规 定 》 第 二 十 二 条 规 定 , 对 不 及 时 消 除 隐 患 可 能 严 重 威胁 公 共 安 全 的 , 要 对 危 险 部 位 或 者 场 所 采 取 临 时 查 封 措 施 。 一、工作流程 临 时 查 封 一般程序流程图 临时查封紧急程序流程图 解 除 临时查封流程图 二、适用范围 公 安 机 关 消 防 机 构 在 消 防 监 督 检 查 中 发 现 火 灾 隐 患 的 , 应 当 通 知 有 关单 位 或 者 个 人 立 即 采 取 措 施 消 除 隐 患 ,现 场 填 发 《 火 灾 隐 患 责 令 限 期 整 改 通知 书 》,有 其 他 需 要 责 令 改 正 或 限 期 改 正 消 防 安 全 违 法 行 为 的 ,依 法 填 发《 责令 改 正 通 知 书 》, 进 入 处 罚 程 序 ; 不 及 时 消 除 可 能 严 重 威 胁 公 共 安 全 的 下 列火 灾 隐 患 , 应 当 对 危 险 部 位 或 者 场 所 予 以 临 时 查 封 : 1.疏 散 通 道 、安 全 出口数量不 足或 者 严 重 堵塞, 已不 具备安 全 疏 散 条件的 ; 2.建筑消 防 设施 严 重 损坏, 不 再具备防 火 灭火 功能 的 ; 3.人 员密集场 所 违 反消 防 安 全 规定, 使用、储存易燃易爆危 险 品的 ; 4.公 众 聚 集 场 所 违 反 消 防 技 术 标 准 , 采 用 易 燃 、 可 燃 材 料 装 修 装 饰 ,可 能 导 致 重 大 人 员 伤 亡 的 ; 5.其 他 可 能 严 重 威 胁 公 共 安 全 的 火 灾 隐 患 。 三、决定和实施程序 ( 一 ) 告 知 临 时 查 封 决 定 作 出 前 , 应 当 制 作 《 临 时 查 封 告 知 笔 录 》, 告 知 当 事 人 拟作 出 临 时 查 封 的 事 实 、 理 由 及 依 据 , 并 告 知 当 事 人 依 法 享 有 的 权 利 , 听 取并 记 录 当 事 人 的 陈 述 和 申 辩 。 填 写 《 临 时 查 封 告 知 笔 录 》( 范 例 2-8-1) 的 注 意 事 项 1.“告 知 内容”第一 栏填 写 时 应 当 写 明拟 作 出 临 时 查 封 决 定 的 事 实 、理 由 及 依 据 , ...

1、当您付费下载文档后,您只拥有了使用权限,并不意味着购买了版权,文档只能用于自身使用,不得用于其他商业用途(如 [转卖]进行直接盈利或[编辑后售卖]进行间接盈利)。
2、本站所有内容均由合作方或网友上传,本站不对文档的完整性、权威性及其观点立场正确性做任何保证或承诺!文档内容仅供研究参考,付费前请自行鉴别。
3、如文档内容存在违规,或者侵犯商业秘密、侵犯著作权等,请点击“违规举报”。

碎片内容

消防临时查封

确认删除?
VIP
微信客服
  • 扫码咨询
会员Q群
  • 会员专属群点击这里加入QQ群
客服邮箱
回到顶部