电脑桌面
添加小米粒文库到电脑桌面
安装后可以在桌面快捷访问

医疗应急预案处理流程图VIP免费

医疗应急预案处理流程图_第1页
1/12
医疗应急预案处理流程图_第2页
2/12
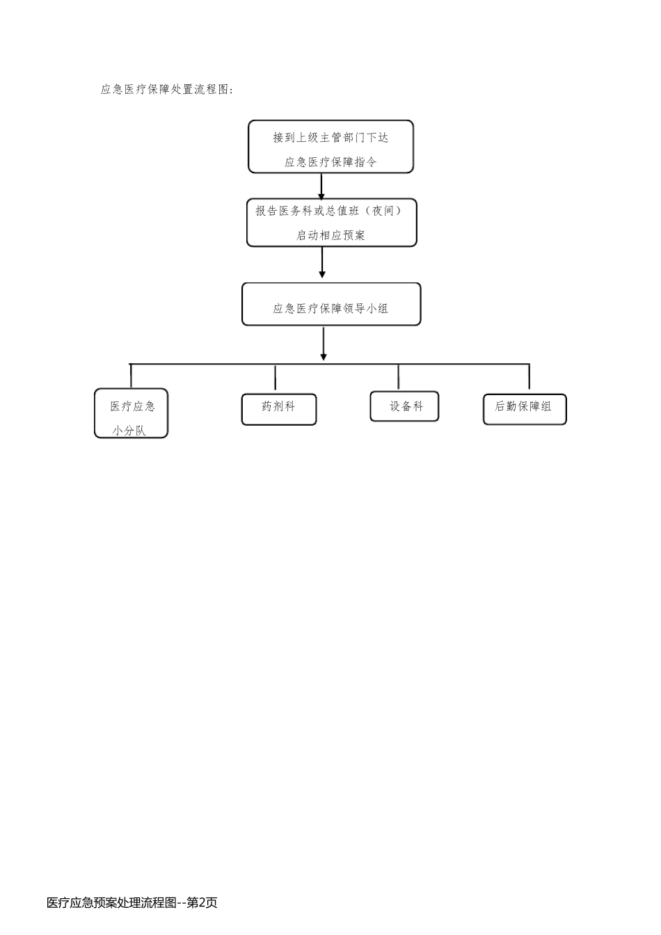
突 发 公 共 卫 生 事 件 应 急 处 置 流 程 图 : 突 发 公 共 卫 生 事 件 源 头 报 告 人 发 现 事 件 医 院 应 急 领 导 办 公 室 各 临 床 科 室 报 告 人 (挂 靠 医 务 科 ) 负 责 人 后 勤 保 障 组 处 理 及 医 疗 救 援 组 宣 传 信 息 组 医 院 应 急 领 导 小 组 卫 生 行 政 主 管 部 门 报 告 医 疗 应 急 预 案 处 理 流 程 图 --第 1页医 疗 应 急 预 案 处 理 流 程 图 --第 1页应 急 医 疗 保 障 处 置 流 程 图 : 接 到 上 级 主 管 部 门 下 达 应 急 医 疗 保 障 指 令 报 告 医 务 科 或 总 值 班 ( 夜 间 ) 启 动 相 应 预 案 应 急 医 疗 保 障 领 导 小 组 医 疗 应 急 药 剂 科 设 备 科 后 勤 保 障 组 小 分 队 医 疗 应 急 预 案 处 理 流 程 图 --第 2页医 疗 应 急 预 案 处 理 流 程 图 --第 2页医疗新技术风险处置流程图: 发生紧急意外情况,启动应急预案 现场经治医师采取补救 立即向上级医师报告 上级医师处理不了,则上报 科主任必要时报告医务科或院领导 向患者或家属告知情况,征得患者或家属的同意 并签署知情同意书后,方能继续进行治疗 治疗紧急意外情况所需设施 由经治医师或医务科负责联系 经治医师对紧急意外情况出现后的病情变化、 诊疗方案、上级医师意见及诊疗情况应及时记录 医 疗 应 急 预 案 处 理 流 程 图 --第 3页医 疗 应 急 预 案 处 理 流 程 图 --第 3页医疗技术损害处理流程图: 出现医疗技术损害 发现者应当立即设法终止致害因素,当致害因素的识 别和判定有困难时,应当立即呼叫上级医护人员指导处理 迅速采取补救措施,密切注意患者生命体征和病情变化 如实报告上级医师和科室负责人 损害轻的,不致造成严重后果时 情节严重者应当同时报 立即暂停原医疗技术操作 告医务科、主管院领导或者总值班 重大技术损害必须同时报告院长 医务科、主管院领导接到 报告后在 15 分钟到达现场核实 组织院内会诊,共同抢救 组织科内会诊 必要时由医务科邀请上级医院专 家会诊指导,把握最佳抢救时机 加强与患者的沟通,稳定患方情绪 争取患方配合,防止干扰抢救和发生冲突 迅速收集并妥善保管有关原始...

1、当您付费下载文档后,您只拥有了使用权限,并不意味着购买了版权,文档只能用于自身使用,不得用于其他商业用途(如 [转卖]进行直接盈利或[编辑后售卖]进行间接盈利)。
2、本站所有内容均由合作方或网友上传,本站不对文档的完整性、权威性及其观点立场正确性做任何保证或承诺!文档内容仅供研究参考,付费前请自行鉴别。
3、如文档内容存在违规,或者侵犯商业秘密、侵犯著作权等,请点击“违规举报”。

碎片内容

医疗应急预案处理流程图

您可能关注的文档

确认删除?
VIP
微信客服
  • 扫码咨询
会员Q群
  • 会员专属群点击这里加入QQ群
客服邮箱
回到顶部