建立工程质量平安监视工作流程图(一)建立工程质量平安监视流程图工程工程工程质量平安监视登记发放质量平安监视书监视交底是否具备开工条件...
常用工程监理工作流程图是否是控制流程图〔图二〕确定控制值搜集和和计算实际值将实际值和方案值比拟并进展动态跟踪判断控制过程是否完毕判...
后张梁施工工艺流程图底模安装加工支撑垫板上隔墙联结角钢、联结铁、U型螺栓、桥牌加工支座板安装支座板预制主梁钢筋骨架安装主梁钢筋骨架...
一、建立工程质量监视工作流程图二、土建工程局部质量监视工作要点(一)熟悉图纸制定监视方案和监视交底书。(二)现场工程质量监视交底、对参...
图七·4·③·f挂篮悬臂施工工艺流程图张拉前测量观测点标高挂篮制造试拼与测试根底及墩身施工临时通道施工搭设墩托架预制0#梁段钢筋骨架0#...
圆涵施工工艺流程图测量放线场地布置根底开挖下根底现浇座安装圆出入口浆砌防水层施工涵洞回填材料准备竣工圆预制
前期筹备(预)开药店,最基本的要有三证,即药品经营许可证,GSP和营业执照,一般许可证最先发下来,然后是营业执照,最后才是GSP,一般三...
实木余料实木烘干实木余料断料指接拼板带锯纵锯平压刨定长定宽家具营销操作实务(流程图)1.纯实木家具生产工艺流程2.拼板打磨裁准线锯钻孔...
第1页共92页编号:时间:2021年x月x日书山有路勤为径,学海无涯苦作舟页码:第1页共92页扎赉特旗中医院医疗质量管理、医疗服务工作流程图二...
惠安县农业局自由裁量权裁量流程图一、行政处罚流程图1、农业行政处罚流程图简易程序一般程序执法人员出示执法证件告知拟处罚的事实、理由...
市水利局事项办理流程图1、废除水工程审批许可申请人窗口材料补正不予受理退还资料(书面意见)收件当场更正告知补正抄告分管局领导县级水...
审核工程量审核预算审核签发工程付款单、处理索赔上岗人员资格审核原材料预控构配件预控设备预控分部分项与单位工程质量预控及验收组织竣工...
北京金桥医院前言医院管理流程化,是当今医院管理最常用、最先进的管理方法之一。是集全面质量管理、目标任务管理、医院标准化管理为一体的...
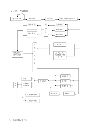
一、工程开发流程图二、工程材料设备控制工程可行性分析立项申请方案设计否建立用地规划答应证文物勘查地质勘查初步设计计施工图设计监理确...
**县农村集体“三资”管理流程图由统管会计发出付款通知书由村报帐员收集各类报帐凭证经营支出5000元内村民理财小组审核非生产性支出500元...
第1页共35页编号:时间:2021年x月x日书山有路勤为径,学海无涯苦作舟页码:第1页共35页第7章企业内部控制流程——采购业务第2页共35页第1...
远程与继续教育学院工作流程图(第一版)二零零六年十月目录一办公室工作流程图........................................41.来文处理流程......
基本医疗保险费流程图事项编码:事项类型:行政征收行为法定期限:承诺期限:办理部门:铜山县劳动和社会保障局办理地点:服务电话:监督电...
第1页共41页编号:时间:2021年x月x日书山有路勤为径,学海无涯苦作舟页码:第1页共41页岗位设置管理流程流程名称岗位设置管理流程编码受控...
实木余料实木烘干实木余料断料指接拼板带锯纵锯平压刨定长定宽家具营销操作实务(流程图)1.纯实木家具生产工艺流程2.拼板打磨裁准线锯钻孔...

