电脑桌面
添加小米粒文库到电脑桌面
安装后可以在桌面快捷访问

建设工程监理工作流程图VIP免费

建设工程监理工作流程图_第1页
1/69
建设工程监理工作流程图_第2页
2/69
建设工程监理工作流程图_第3页
3/69
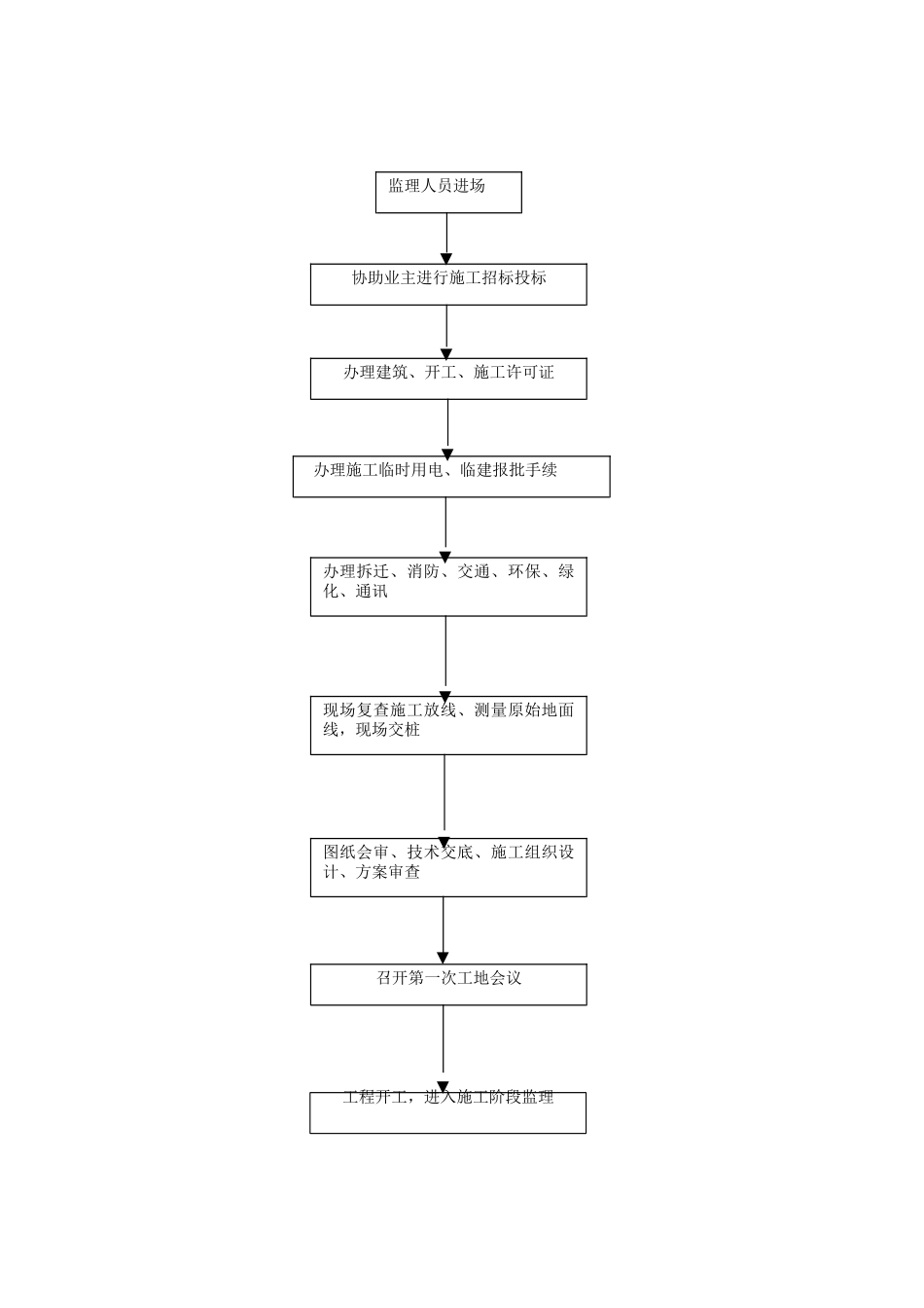
审核工程量审核预算审核签发工程付款单、处理索赔上岗人员资格审核原材料预控构配件预控设备预控分部分项与单位工程质量预控及验收组织竣工初验合格审核总进度计划审核年、季、月施工进度计划实际进度与计划进度对比分析、调整审查安全技术措施方案检查各项安全生产制度参加安全生产检查投资控制进度控制质量控制安全控制项目监理组进驻现场熟悉图纸有关资料、编制监理实施细监理人员名单通监理工程师权限通知监理程序通知使用报表通知送施工单位施工现场调查施工组织设计审批图纸会审分包单位资格审查第一次工地会议签发开工指令检查施工现场的安全保护文明设施分析查明原因,监督返修、返工实施监督与管理督促施工单位严格按规范、图纸及工艺标准施工,按规定及要求报验不合格协助业主组织竣工验收参与质检部门核定质量等签发竣工移交证书,施工阶段监理总结监理人员进场协助业主进行施工招标投标办理建筑、开工、施工许可证办理施工临时用电、临建报批手续办理拆迁、消防、交通、环保、绿化、通讯现场复查施工放线、测量原始地面线,现场交桩图纸会审、技术交底、施工组织设计、方案审查召开第一次工地会议工程开工,进入施工阶段监理施工单位申签章报批复总监室转签署发意见与业主及各方面协总监调会出提初示审意见现场监理工程师现场监理工程师或总监审查、核定现场监理工程师或总监主持协调会指定有关人员拟订会议纪要文稿征求有关方面包括业主意见是修改否总监签章、行文外发清单问题审核总监理工程师清单问题汇总熟悉施工图纸,初审提出问题各专业监理工程师监理组内部会审总监主持整理列出问题清单各专业监理工程师清单问题补充各专业监理工程师汇总清单问题报业主列出设计要点、施工重点及难点设计院各专业监理工程师召开技术交底会在业主、施工单位、设计单位、监理单位四方图纸会审会上,由设计院交底并就准备好的问题进行答疑业主、设计单位、监理单位、施工单位整理设计会审纪要发有关单位向施工单位咨询和落实主要问题各专业监理工程师施工组织设计申报施工单位初审各专业监理工程师监理组织会审项目总监主持,业主、设计单位、施工单位、监理单位各专业监理工程师参加施工组织设计审查项目总监业主审批施工组织设计付诸实施设计交底、图纸会审业主、设计、施工、监理人员现场检查、内业资料检查监理工程师、质检站整理分析检查资料、填写质量监理记录、编写质量监理报告承建商、总监理工程师编写质量监理总结、质量控制结束申请开工承建商附:1)审查施工组织设计2)测量复核资料3)材料、机械设备进场情况4)有关材料的试验报告5)施工企业资格证件6)分包单位的资格审查表审批、发布开工令业主、总监理工程师制定质量监理细监理工程师不合格工序施工承建商资料齐备材料合格上道工序合格承建商自检、填报分部分项质量审批表承建商跟踪检查监理工程师下达整改通知书监理工程师工程未全部完成组织竣工初验监理参加“三方”竣工验收督促承建商报请质量监督站核定竣工工程量等级签发竣工移交证书业主、监理工程师审查讨论检查施工人员材料供应、设备情况监理工程师竣工验收施工承包合同工期编制施工进度计划承建商制定相应的劳动力、机械、材料使用计划制订施工进度综合控制计划监理工程师编制相应的年、季、月度计划承建商检查实际进度执行情况监理工程师偏离计划每月、季度调整一次计划监理工程师定期(每月、每周)进行进度分析,编写进度报告提交业主监理工程师编制进度监理总结,进度控制工作结束监理工程师颁发竣工证书监督工程返修合同保修期满确定投资目标投资目标分析、论证分解投资目标确定资金使用计划编制资金使用计划审核施工组之设计编制施工组织设计有无不合理Ye之处?修改施工组织设计No主要技术方案技术经济分析设计挖潜、修改、变更施工审核已完工程实物量审核设计挖潜、修改、变更已完工程实物量项目建设与外部环境协调设计与施工协调不同施工单位间协调有无索赔可能投资目标与进度目标、质量目标协调已完工程结算单审核已完工程结算单已完工程结算No有无不合Yes理之处?修改已完工程结算单审核索赔文件No提出索赔文件有无不合理之处?NoYes认可索赔文件(...

1、当您付费下载文档后,您只拥有了使用权限,并不意味着购买了版权,文档只能用于自身使用,不得用于其他商业用途(如 [转卖]进行直接盈利或[编辑后售卖]进行间接盈利)。
2、本站所有内容均由合作方或网友上传,本站不对文档的完整性、权威性及其观点立场正确性做任何保证或承诺!文档内容仅供研究参考,付费前请自行鉴别。
3、如文档内容存在违规,或者侵犯商业秘密、侵犯著作权等,请点击“违规举报”。

碎片内容

建设工程监理工作流程图

您可能关注的文档

确认删除?
VIP
微信客服
  • 扫码咨询
会员Q群
  • 会员专属群点击这里加入QQ群
客服邮箱
回到顶部