科技公司市场部组织架构及岗位职责、市场部组织架构二、人员配备1.市场部经理 1 名2.企划\推广专员 1 名3.市场调查专员 1 名4.培训专...
*****旅游公司旅行社人员组织架构及薪酬设置方案一、旅游公司旅行社业务概述根据 2024 年度公司经营计划和战略,旅行社业务已经在开展创...
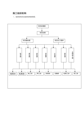
施工组织机构 1、组织机构详见组织机构框架图: 项目经理部项目经理项目总工程师项目副经理给排水班机械专业人员电工班焊工班杂工班砼施...
xxxx 公司审计部岗位职责201X 年 7 月精彩文档组织结构示意图 3岗位晋升示意图 4审计部部门岗位职责 5审计经理岗位职责 6审计主管...
物流流程及制度(第一版)第一章公司一、总体组织架构图二、物流总流程图第二章采购部一、组织架构二、部门内部基本流程图三、岗位职责、品...
>销售代表台湖项目架构董事长项目总经理说明:物业客服部:物业客服部可以单独设立出来,也可以归到综合部销售部下,由综合经理销售经理管理...
海林 XX 置业组织架构、责权范围与基础管理规定《XX 置业组织架构、责权范围与基础管理规定》旨在明确公司内部管理结构、各部门责任范围...
公司组织架构图及各部门职责一、 组织架构: 二、各部门职责:(一)总经理:1.根据董事会提出的战略目标,组织制定公司中长期进展战略...
公司组织架构及岗位设置第一章 部门及机构设置总经理:全面主持公司经营,制定经营战略计划并分解实施,协调公司各部门关系,保证公司健康...
1 目 的 为 指 导 公 司 组 织 架 构 及 管 理 职 级 的 管 理 , 建 立 清 晰 的 组 织 层 级 架 构 和...
XXXXXXXXXX(南京)有限公司二 OO 三年新组织架构说明书 (讨论稿)XXXXX(南京)有限组织架构概述2024-6-18公司二 OO 三年组织架构说...
XXX组织架构和业务流程设计〔 试 行 〕一、公司主要产品〔效劳〕及用途.............. 4二、公司商业模式...............................
EAS 组织架构详解企业组织架构在信息系统的应用架构中用模型化的方式构建和表达出来就是组织模型,它是一种知识结构的系统反映,就如企业...
XXXXXXXXXXX 有限公司一、生产部组织架构生产经理二、人员编制及需求职位生产经理组长多能工/普工物料员统计文员IE 工程师总计编制144821...
1合伙创业初期组织架构合伙创业是初期创业者会选择的最优创业方式,因为初次创业时没有太多的资金周转,或者没有太多技术与经验。合伙创业初...
目 录一.督办组组织架构………………………………………………2………………………………………………二.督办组职能描述4…………………...
第一章 总 则第 1 条 通信电源和机房空调是通信网络的关键基础设施,是通信网上一个完整和不可替代的独立专业。其维护工作是通信网络...
电商部门组织架构及职责一、经营初期的组织架构该组织结构图,适合于经营的初期。到中后期,以上图的多个部门成员将会随之而增加。该组织结...
目 录厂工作职责办公室职责1、负责电池厂的生产统计、成本核算,对各部门、生产单位的月度、年度工作情况进 行通报考核;2、负责厂内的人...
最终用户操作手册-HR01 流程上海震旦家具有限公司 SAP 实施专案 版本:1.0第一章-HR01_组织架构调整流程1. 流程说明该流程主要描述了...

