— 1 —江苏省工作场所职业病危害因素检测工作规范(试行)第一章总则第一条为规范工作场所职业病危害因素检测工作,提高职业病危害因素...
下载后可任意编辑建设项目职业病防护设施验收方案(式样) 附件 3 建设项目职业病防护设施验收方案(式样)项目名称:建设单位:联系人...
编号:/I************公司职业卫生管理管理责任制汇编版本:第**版编制:******审核:******批准:******一、部门职业卫生管理责任制 1职...
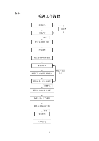
1 附件1 检测工作流程 通过 样品异常或损坏 合格样品 项目委托 签订技术服务合同 预调查 合同评审 通过 现场调查 制定采样和检...
水电厂职业病危害因素识别水电厂职业病危害因素识别与预防1 概述据国际劳工组织统计,全球每年死于工伤事故和职业病人数约为110 万 ( ...
职业病危害告知卡类有毒物品,对人体有害,请注意防护三氯乙烯trichloroethylene健康危害理化特性该品主要对中枢神经系统有麻醉作用。亦可...
2022 年 度 职 业 病 防 治 计 划 与 实 施 方 案 为了认真贯彻实施《中华人民共和国职业病防治法》,切实维护广大职工身体...
职业病目录 中华人民共和国卫生部2002 年 5 月 28 日,卫法监发〔2002〕 108 号关于印发《职业病目录》的通知 根据《中华人民共和...
【100 种 】 职 业 病 危 害 告 知 卡 ◆ 全 网 最 全 ( 精 编 全 套 版 ) 1,2-二氯乙烷 一氧化氮 一氧化碳 ...
建设项目职业病危害预评价报告编制要求 ZW—JB—2014—004 一、评价范围 原则上以拟建项目可行性研究报告中提出的建设内容为准,并包括...
XXX 卫生院职业病防治工作实施方案 根 据 《 中 华 人 民 共 和 国 职 业 病 防 治 法 》 和 《 国 家 职 业 病...
熟料新型干法水泥生产线工程 职业病危害预评价报告书 评价单位: 项目组成员 姓 名 职 称 资质证书号 签 名 法人代表 项目负责...
文件名称职业病防治管理制度密级一般文件层次文件编号版本号V1 制定审核内控复核批准主导部门批准日期试行日期施行日期1/ 10 目录一、职...
仅供参考 [整理 ] 第 1 页 共 7 页安全管理文书检验人员的职业病预防日期: __________________单位: __________________仅供参...
患职业病要维权先申请工伤认定 工伤认定申请 设定依据 《工伤保险条例》(中华人民共和国国务院令第 586 号)第十七条第 (一)款规...
2020 职业病防治计划和实施方案 职业病是指企业、事业单位和个体经济组织等用人单位的劳动者在职业活动中,因接触粉尘、放射性物质和其他...
《职工工伤与职业病致残程度鉴定标准》附分级系列 一级 1.极重度智能减退; 2.四肢瘫肌力 3 级或三肢瘫肌力 2 级; 3.重度运动...
2020 年职业病防治法知识问卷 部门: 姓名: 一、单项选择题(共 40 题,每题 2 分,共 80 分) 1.2020 年《中华人民共和国职...
略阳杨家坝矿业有限公司 职业卫生分类分级工作计划 为有效改善作业场所生产环境,预防、控制及消除职业病危害因素,切实保护职工身体健康...
云 南 罗 平 锌 电 股 份 有 限 公 司 2020 年度职业病危害 防治计划与实施方案 编 制 : 刘 志 佩 审 核 : 周 ...

