电脑桌面
添加小米粒文库到电脑桌面
安装后可以在桌面快捷访问

《2016年》职业病危害因素检测现场记录和检测报告WORD版VIP专享VIP免费

《2016年》职业病危害因素检测现场记录和检测报告WORD版_第1页
1/59
《2016年》职业病危害因素检测现场记录和检测报告WORD版_第2页
2/59
《2016年》职业病危害因素检测现场记录和检测报告WORD版_第3页
3/59
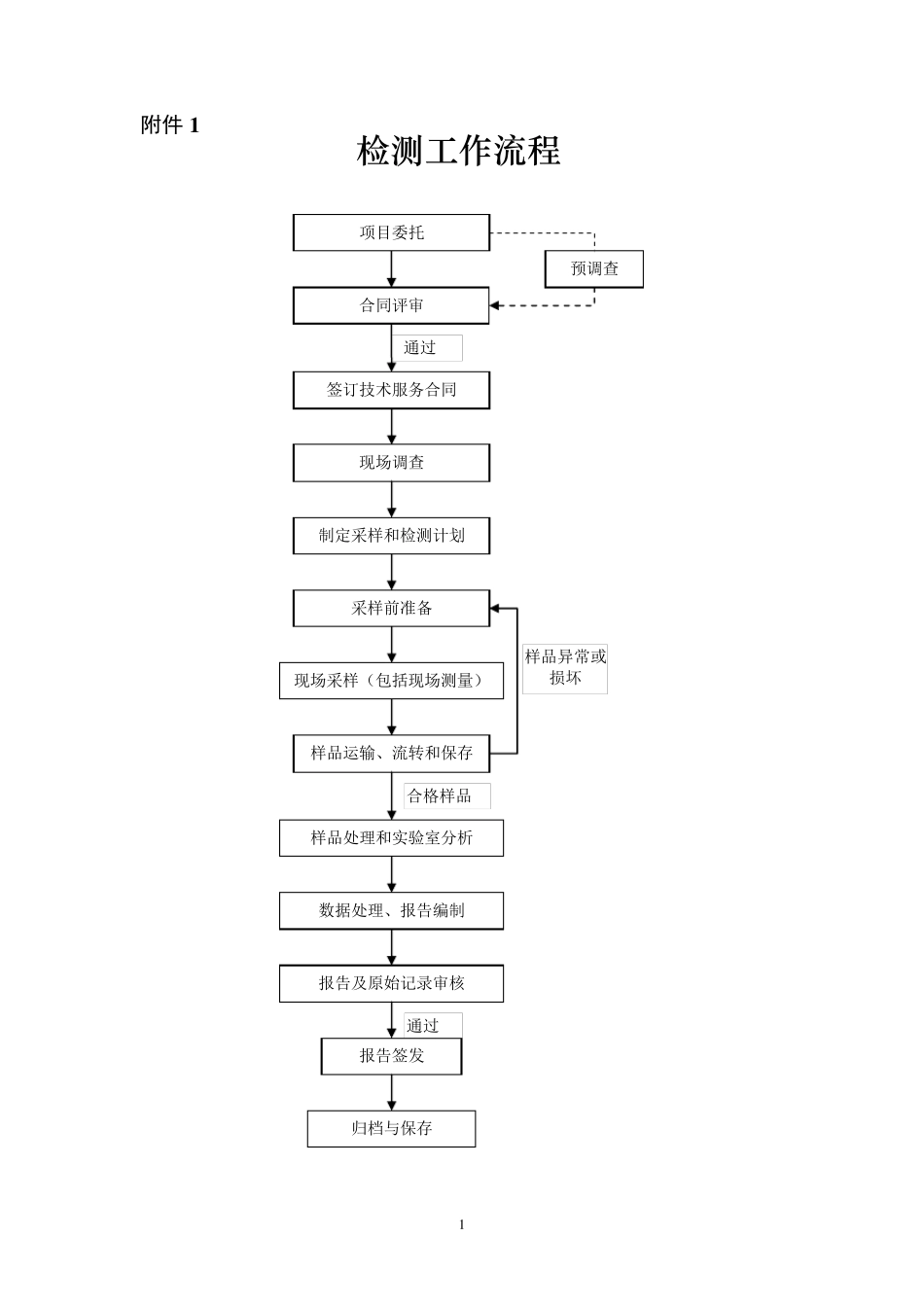
1 附件1 检测工作流程 通过 样品异常或损坏 合格样品 项目委托 签订技术服务合同 预调查 合同评审 通过 现场调查 制定采样和检测计划 采样前准备 现场采样(包括现场测量) 样品运输、流转和保存 样品处理和实验室分析 报告及原始记录审核 报告签发 归档与保存 数据处理、报告编制 2 附件2 现场调查记录表 表 2 -1 劳动者工作日写实调查表 第 页/共 页 用人单位 检测任务编号 车间/工作场所 岗位(工种) 岗位总人数 最大班人数 工作制度 写实人数 姓名 工龄 工作场所及工作内容描述 工作时间 工作地点 工作内容 耗费工时 接触职业病危害因素 备注 ~ ~ ~ ~ ~ ~ ~ ~ ~ ~ ~ ~ ~ ~ ~ 调查人: 陪同人: 调查日期: 年 月 日 3 表 2 -2 劳动者作业情况调查表 检测任务编号: 第 页/共 页 用人单位: 车间名称: 工作制度: 岗位(工种) 人数 工作内容、过程和工作方式、作业地点 接触职业病危害因素 接触时间 (小时/日或周) 职业病防护设施 个人防护用品 总数 数/班 调查人: 陪同人: 调查日期: 年 月 日 4 表 2 -3 设备设施及测点布局情况调查表 检测任务编号: 第 页/共 页 用人单位: 车间名称: 设备名称 数量 型号 场所布局、设备布局、测点布置图: 测点标注及编号: 总数 运行 调查人: 陪同人: 调查日期: 年 月 日 5 表 2 -4 物料及工艺情况调查表 检测任务编号: 第 页/共 页 用人单位: 车间名称: 物料名称 用量 主要成分 使用岗位(或场所) 生产工艺情况描述: 调查人: 陪同人: 调查日期: 年 月 日 6 附件3 现场采样和检测计划 用人单位: 采样日期: 年 月 日 检测类别: 检测任务编号: 第 页/共 页 岗位(工种) 采样点/对象 检测项目 样品数量 (点数×样品数×天数) 采样方式 采样时机/时段 采样流量(L/min) 空气收集器 采样设备 样品保存期限和保存条件 备注 编制人: 审核人: 批准人: 年 月 日 年 月 日 年 月 日 7 附件4 现场采样记录表 表 4 -1 工作场所空气中有害物质定点采样记录 检测任务编号: 气压: kPa 第 页/共 页 用人单位 检测类别 □评价 □定期 □其他 仪器名称、型号 校准仪器名称、编号 检测项目 采样方法 □活性碳管 □硅胶管 □吸收液 □滤膜□其他 采样依据 ...

1、当您付费下载文档后,您只拥有了使用权限,并不意味着购买了版权,文档只能用于自身使用,不得用于其他商业用途(如 [转卖]进行直接盈利或[编辑后售卖]进行间接盈利)。
2、本站所有内容均由合作方或网友上传,本站不对文档的完整性、权威性及其观点立场正确性做任何保证或承诺!文档内容仅供研究参考,付费前请自行鉴别。
3、如文档内容存在违规,或者侵犯商业秘密、侵犯著作权等,请点击“违规举报”。

碎片内容

《2016年》职业病危害因素检测现场记录和检测报告WORD版

确认删除?
VIP
微信客服
  • 扫码咨询
会员Q群
  • 会员专属群点击这里加入QQ群
客服邮箱
回到顶部