第 37 页精品文档---下载后可任意编辑11 林业生态工程施工监理技术规程 DB44!T 2287—2024 1、ICS65.020.40CCSB6444 广东省地方标准...
XX 省实施建设工程施工监理报告制度的若干规定 为贯彻落实《XX 省人民政府印发的通知》精神,规范建设工程监理(以下简称监理)在建设工...
安徽省中小型水利工程施工监理导则
安全文明施工监理方案 中外天利(北京)工程管理咨询有限公司 1 南 油 ( 集 团 ) 前 海 湾 W6 号 仓库 安全文明施工监理...
编 写 要 求 一、本范本仅供项目监理办参考使用; 二、(空白)内容自行补写; 三、凡“有/无”处自行标注; 四、凡与本工程无关的...
第 1 页 共 3 6 页 *************建设工程边坡 综合整治工程 安 全 文 明 监 理 施 工 细 则 编制: 审批: **********...
精品文档---下载后可任意编辑谈谈人工挖孔桩施工监理要点谈谈人工挖孔桩施工监理要点 摘要:根据位于杭州市余杭区安溪村东明山森林公园北...
精品文档---下载后可任意编辑试析建筑施工监理的质量控制试析建筑施工监理的质量控制 摘要:建筑施工阶段的质量控制是工程项目质量监控最...
精品文档---下载后可任意编辑锚碇工程施工监理北锚碇沉井封底、填芯 《监理实施细则》武汉鹦鹉洲长江大桥正桥 J-1 合同段监理部 2024 ...
桥梁工程施工监理实施细则中国水利水电建设工程咨询西北公司江西洪屏抽水蓄能电站前期项目监理部二 Ο 一 Ο 年七月十日 批准: 审核...
精品文档---下载后可任意编辑市政桥梁钻孔灌注桩质量施工监理市政桥梁钻孔灌注桩质量施工监理 【摘要】:在市政桥梁施工中,由于钻孔灌注桩...
五、监理大纲第一节工程概述1・1 工程项目概况本工程位于湘江下游,起点为衡阳市的湘江蒸水河口,终点为株洲航电枢纽,共154km 湘江航道...
滑模施工监理控制要点0 前言编制依据:♦《水工建筑物滑动模板施工技术规范》DL/T5400-2007♦《液压滑动模板施工安全技术规程》 JGJ65-20...
1 施工监理程序及监理要点 第一部分 监理程序 监理程序应与施工程序相对应,详见附表《后张法预应力混凝土空心板施工工艺框图及监理程...
保障性住房官浔公寓 地下室及上部主体结构工程(含精装修工程) 吊篮施工监理实施细则 编制: 审核: 合诚工程咨询集团股份有限公司 ...
汉 都 新 苑 2 区 第 二 监 理 标 段 吊 篮 监 理 实 施 细 则 编 制 人 : 审 批 人 : 陕 西 华 茂 建...
编号: 浦东金融广场SN1 地块 监理实施细则 (变配电室安装工程) 编制人: 批准人: 批准时间: 上海建科工程咨询有限公司 浦东...
1 雅砻江官地水电站厂房装饰装修工程施工监理实施细则 1 、总 则 1.1 为了规范监理部和监理人员的监理活动,保证监理工作质量,促使...
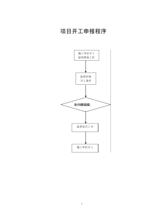
1 项目开工申报程序 施工单位开工 前的准备工作 监理审核 开工条件 条件满足否 条件满足 监理发开工令 施工单位开工 2 项目计量...
公路工程施工监理招标评标办法 第一章 总则 第一条 为规范本项目施工监理评标工作,根据《中华人民共和国招标投标法》、国家七部委《评...

