电脑桌面
添加小米粒文库到电脑桌面
安装后可以在桌面快捷访问

公路施工监理工艺流程图

公路施工监理工艺流程图_第1页
1/29
公路施工监理工艺流程图_第2页
2/29
公路施工监理工艺流程图_第3页
3/29
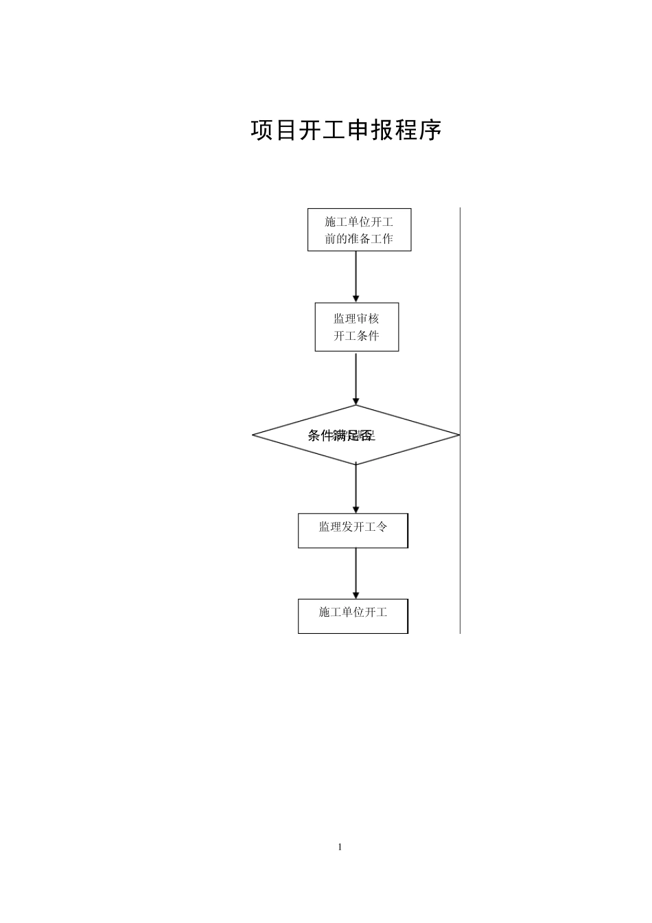
1 项目开工申报程序 施工单位开工 前的准备工作 监理审核 开工条件 条件满足否 条件满足 监理发开工令 施工单位开工 2 项目计量支付程序 批准 《分项工程开工申请报告》 经专业监理工程师批准 承包人每道工序施工 承包人自检 承包人填报《质量检验合格单》 经专业监理工程师检验 专业监理工程师和承包人 共同现场计量 承包人填写《中间计量单》 报总监办审批 总监理工程师签发支付证书 业主向承包人付款 实施下道工序 不合格 不合格 合格 不批准 3 质量检查程序 不合格 审 查 开 工 申 请 单 每 道 工 序 完 工 后 承包人自检 填 报 工 序 质 量 检 验 单 专业监理工程师进行质量检查,签认质量检验单 分 项 工 程 巳 完 工 承包人自检 填报质量检验报表及分项工程完工证书 专业监理工程师检查,汇总质量验收单 签认分项中间交工证书 返工 进行下一道工序 合格 不合格 不合格 返工 不合格 合格 合格 合格 4 项目质量事故处理框图 施工过程 事故发生 承包人暂停工作 承包人向总监办报告 总监办现场查办 重大事故否 承包人向总监办提出补救方案 总监办审批 承包人复工 联合勘查 得出结论 暂时停工 总结报告 总监办指示承包人复工 是 否 是 否 5 项目工程变更监理程序 承包人提出 变更建议 总监办提出变更 建议,监督签字 业主指令 变 更 总监办提出 审查意见 业主代表 审 定 监理下达变更通知,由承包人作详细变更设计图 总监办审定 业主代表审批 报公司技术室备案 下达变更图纸或变更令 承包人执行 重大变更项目经总经理批准 总工程师审定 各部备案 技术室完成 设 计 6 监理试验工作程序 承包人试验室自检试验 监理审查 签认试验资料 监理试验室审查样品 及 试 验 资 料 视情况进行试验检测 监理试验室向专业监理工 程师提 交 试 验 报 告 专业监理工程师审查 禁止使用 自费运出 施工现场 可 以 使 用 不合格 合 格 7 原材料质量监理工作程序 料 源 承包人自检 出厂质量证明送材料报告单 承 包 人 总监理工程师审批 材料进入施工现场使用 承包人按规定频率 自检并填写报告单 总监理工程师审批 继续使用 监理试验室抽检复核 监理按抽检频率和现场发现材料有问题时进行抽检 通知禁止使用 自费运出现场 合格 合格 重 选 料 源 不合格 不合格 8 混合料质量...

1、当您付费下载文档后,您只拥有了使用权限,并不意味着购买了版权,文档只能用于自身使用,不得用于其他商业用途(如 [转卖]进行直接盈利或[编辑后售卖]进行间接盈利)。
2、本站所有内容均由合作方或网友上传,本站不对文档的完整性、权威性及其观点立场正确性做任何保证或承诺!文档内容仅供研究参考,付费前请自行鉴别。
3、如文档内容存在违规,或者侵犯商业秘密、侵犯著作权等,请点击“违规举报”。

碎片内容

公路施工监理工艺流程图

确认删除?
VIP
微信客服
  • 扫码咨询
会员Q群
  • 会员专属群点击这里加入QQ群
客服邮箱
回到顶部