变更担保物申请书 置换担保房产的申请书 尊敬的 xx 法官: 原告 xxx 在诉被告 xxx 民间借贷纠纷一案中,因提出了诉讼保全,查封、...
变更代理人申请书 精选范文:变更商标代理人申请书(共 2 篇)变更商标代理人申请书申请人名称:申请人地址:邮政编码:联系人:电话(...
春雪会计服务免费办照 工商登记 工商登记分为内资和外资 一、 内资 内资分为设立、变更和注销三种 1 、 设立 (1 ) 有限责任公...
设立新公司流程及所需资料 (海淀为例) 一、 名称设立: 1、 网上登记: 公司名称的字号最好 4 字避免审核到相似名,法人董事会监...
企 业 核 准 登 记 ——公 司 、分公 司 变更登 记 办 理 条 件 向 工 商 行 政 管 局 申 请 公 司 、 分 公...
湖北省土地开发整理项目规划设计变更暂行办法 第一条 为加强土地开发整理项目(以下简称“项目”)的实施管理,规范项目规划设计与预算变...
出口退税资格认定及变更流程 根 据 国 家 税 务 总 局 【 2013年 第 12号 】 公 告 《 关 于 出 口 货 物 劳 务增...
1 农村承包合同变更和解除相关法律依据 一、承包方或者发包方在什么条件下可以解除农业承包合同? 已经生效的农业承包合同,当事人应当按...
申请变更材料签收单 一、变更企业法定代表人□企业变更资料封面 □企业变更资料目录(a4 纸打印一份,按照须知要求编辑页码并以目录一致...
租赁合同变更声明�合同编号:_______________________�签订日期:_______________________�签订地址:_______________________�甲方:_...
监护人变更协议书模板�合同编号:_______________________�甲方:_______________________�乙方:_______________________�第一条 协...
松桃变更协议�本协议书由下列双方于______年______月______日签署:�甲方:姓名:,身份证号码:。�乙方:姓名:,身份证号码:。�双方...
施工合同金额变更说明�编号:_______________________�甲方:_______________________�乙方:_______________________�地址:_________...
拆迁款收款卡号变更协议书�编号:_______________________�甲方:_______________________�乙方:_______________________�根据甲乙双...
注册人员(2008年第25批)一级注册建筑师初始注册申请汇总表序号姓名单位名称1钟山上海化工设计院有限公司注册人员(2008年第27批)一级注...
土地使用权变更登记申请报告 尊敬的各有关单位领导: 我叫覃海洋,系隘洞电厂退休职工,2004 年 2 月与本厂工友陆泰锡多次商洽,其自...
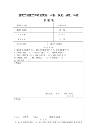
《危险化学品经营许可证》变更申请办事指南五篇 《危险化学品经营许可证》变更申请办事指南 事项名称:《危险化学品经营许可证》变更 设...
【中国】四川立信会计师事务所有限公司审验注册资本实收或变更情况的操作规程一、为规范本所执行验资业务,明确工作要求、保证执业质量、降...
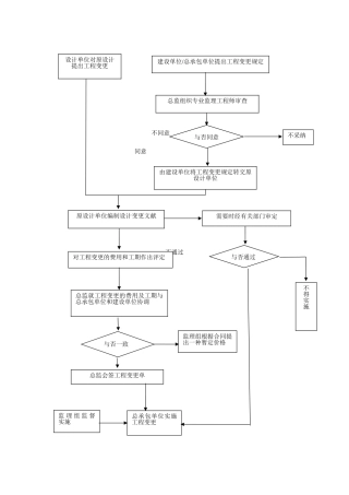
审计签证和设计变更过程中应注意的问题签证和设计变更在工程建设过程中常有发生,是引起工程造价变化的重要因素, 在工程管理和审计过程中...
科技创新领航之道福建省领航信息科技有限公司项目需求变更确认单项目编号:2015001 第 1 次变更致:**** 公司由于 ( 需求变更原因,...

