前言《全日制义务教育数学课程标准(实验稿)》要求:“数学教育不仅要使学生获得数学知识,用数学知识去解决实际问题,而且更重要的是:使...
二次函数单元测试卷一、选择题(每小题3分,共30分)1.当-2Wx三1,二次函数y二-(x-m)2+m2+1有最大值4,则实数m值为()A.-7B.<3或*3C.2或=3...
隧道斜井二衬施工专项方案编制:复核:审核:1隧道斜井二衬施工方案一.编制依据1.本标段风道施工图纸以及现场实际情况。2.省高指隧道施工标...
1.某一物体的质量为m,它运动时的能量E与它的运动速度v之间的关系是:212Emv(m为定值)2.导线的电阻为R,当导线中有电流通过时,单位时...
1AA.x<2B.x=3C.x<2且x主3D.x<2且x*3一次函数要点一:函数的概念及自变量取值范围的确定一、选择题1、(2009・包头中考)函数y=jx+2中,自变...
1/13二次创业心得体会二次创业心得体会(一)一个企业在经历了一次创业之后,本身已经具备了较强的实力,按照事物发展的客观规律,如果没有...
文章编号:100328337(2003)0620003203高铝瓷中二次莫来石对电瓷强度的影响成茵,肖汉宁,汪洋(湖南大学材料科学与工程学院,湖南长沙410082)摘...
4施工工艺及要求4.6.7所有墙体在相互连接处及转角处均应设置墙身拉接筋2Φ6@500(实心墙体)或2Φ4@250钢筋网片(空心墙体)。相互伸入墙身...
1-例1.已知a=*2+1,b=1<2-1则a与b的关系是D.(1—a)、:例8.设a、b为实数,且满足a2+b2—6a—2b+10=0,求的例11.已知x=Jn+1—y/n
城市二次供水设施技术规范前言本规范根据国务院《城市供水条例》、原建设部《城市供水水质管理规定》(原建设部令第156号)及《湖南省城市...
y0x51015202530123457891o-16(1)请用长20米的篱笆设计一个矩形的菜园。(2)怎样设计才能使矩形菜园的面积最大?ABCDxy2xy最大值(0
一元二次不等式及其解法(知识讲解与典型例题)课标要求分析:经历从实际情境中抽象出一元二次不等式模型的过程。通过函数图象了解一元二次...
5.C.y=-4(x+2)2+4D(11)2—x一―A-18B18C-12y=(x:+2L-3y=x2A.23B.23D1-4()88A.2B.4C.69ABCD1EFGHEFGHsAExsxD.8AE=BF=CG=二次函数一、选择题1...
富力城二期C1、C2、C3楼及地下车库南段二次结构施工方案1.二次结构概况1.1本工程二次结构主要为100mm厚陶粒隔板墙,局部采用200mm厚陶粒空...
陕西「昌达昌物业」二次装修流程及表格(建议稿)陕西昌达昌物业有限公司路则修谨呈二○○八年十一月二十六日-2-二次装修流程及表格(建议...
八.辅助控制系统图12-791#角二次风喷口二次风AA(未使用)二次风BB二次风CC上二次风CC下二次风DD下二次风EE下二次风DD上二次风EE上二次风F...
。。1序列二次规划法求解一般线性优化问题:12min(x)h(x)0,iE{1,...,m}s.t.(x)0,i{1,...,m}iifgI(1.1)基本思想:在每次迭代中通过求解一个二...
1二次装修施工阶段监理流程开始签订监理合同总经理总监理工程师组织制定《监理规划》建设单位监理单位《总监理工程师任命通知书》任命总监...
1/7二次装修施工管理实施方案2/7————————————————————————————————作者:———————————————...
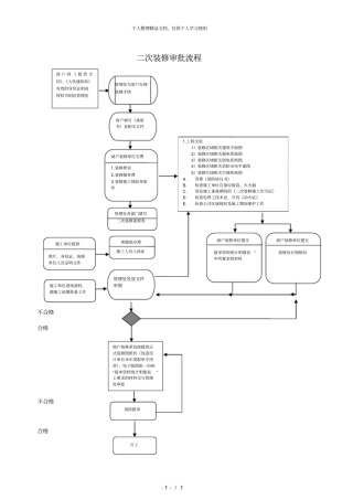
个人整理精品文档,仅供个人学习使用-1-/1二次装修审批流程不合格合格不合格合格商户持《租赁合同》、《入伙通知单》有效的身份证明或授权...

