电脑桌面
添加小米粒文库到电脑桌面
安装后可以在桌面快捷访问

安装质量管理VIP免费

安装质量管理_第1页
1/6
安装质量管理_第2页
2/6
安装质量管理_第3页
3/6
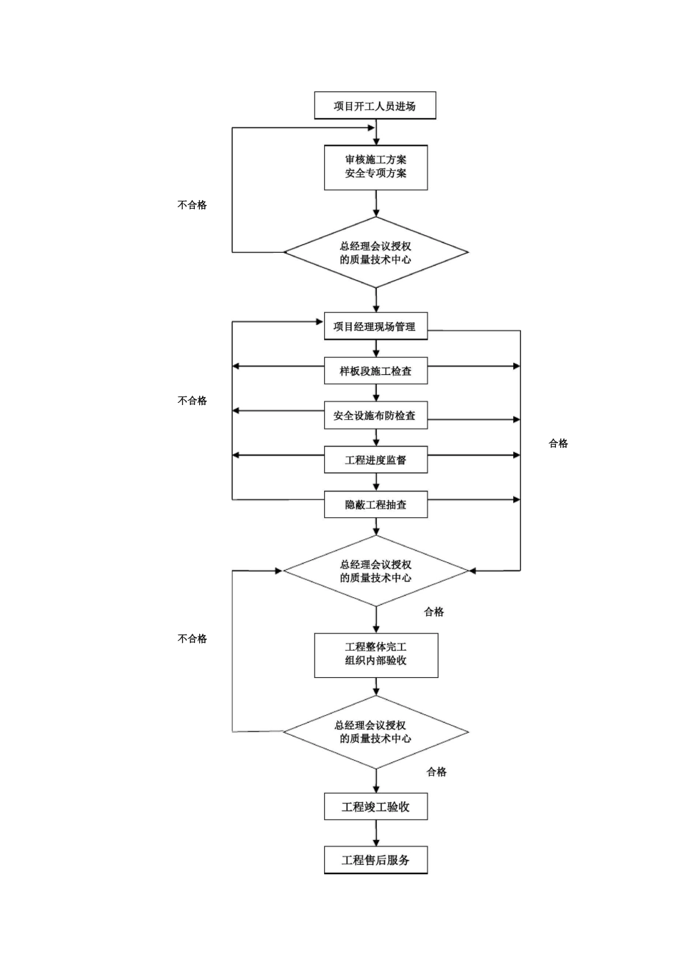
四、安装质量治理1、质量目标质量目标是建立在法律法规和有关技术标准之上的,也是符合建设单位要求的科学的可行 的目标.为对保证目标的实现进行有效的治理和限制,根据施工工艺和治理流程,将目标详细 分解到影响工程质量的每一个环节,并且落实到具体部门和人.针对每一个具体的工程工程, 还要制定明确的质量方案将程序的执行细化并落实到部门和人.1、灯具采购环节质量保证严格把握产品准入条件,建立了极其严格的?供给商准入?及?供给商考核?机制,对芯 片、光源、电源、散热片、电子零配件等所有 LED 灯具原材料从源头上严格把控.所有采购的 LED 照明产品必须经过南网能源公司的三层质量管控:〔1〕标杆初检:严格依照标杆要求及方法对供给商提供的 LED 照明产品进行检测.〔2〕一致性检查:将现场使用的产品与标杆检测样品进行一致性检查,并同步进行关键参数复 验,保证使用的产品与标杆检测产品一致.〔3〕年度检测:通过每年的定期检查,检测产品关键参数是否到达承诺,并收集产品使用情况 数据进行产品全生命周期治理.3、施工准备过程质量保证〔1〕技术文件准备:根据公司质量保证手册、程序文件、结合本工程 的实际情况,编制施工 组织设计及单项施工方案,编写作业指导书和质量检验方案.〔2〕治理文件准备:编制工程质量保证方案,明确质量责任,确定项目创优方案,制定相应的质量制度.〔3〕图纸会审:在施工前必须进行图纸会审,找出图纸过失,提出改 进意见,观察施工手册 和条件是否符合,能否满足设计技术要求,对关键工序、特殊工序,如焊接工程等均应制定专 门的技术举措和限制方法.〔4〕对材料供给商进行评估和审核,建立合格的供给商名册,选择与本公司屡次合作且信誉可 靠的供给商.材料进场必须有出厂合格证,对进场原材料的检验应由材料员及试验员负责进行, 材料员负责材料的外观物理性能检验,试验员负责材料的化学性能检验,经检验合格 前方可留 用.〔5〕拟定材料方案,做好材料进场的准备工作.材料进场后应做好标识,注明品种、规格、数量、进场日期,进场原材料应分类堆整洁、规那么,特殊材料进行专人专处保管.〔6〕合理配备施工机械,保证工程施工进度和工程质量.〔7〕采用质量预控法,把质量治理由事后检查转变为事前限制,到达“预防为主〞的目的.4、施工过程中的质量保证〔1〕严把材质关,坚持“三先三后三统一〞的原那么.“三先三后〞即:先调查后定点、先检验 后进场、先试用后推广;“三统一〞即统一供给、统一治理、统一验收.严...

1、当您付费下载文档后,您只拥有了使用权限,并不意味着购买了版权,文档只能用于自身使用,不得用于其他商业用途(如 [转卖]进行直接盈利或[编辑后售卖]进行间接盈利)。
2、本站所有内容均由合作方或网友上传,本站不对文档的完整性、权威性及其观点立场正确性做任何保证或承诺!文档内容仅供研究参考,付费前请自行鉴别。
3、如文档内容存在违规,或者侵犯商业秘密、侵犯著作权等,请点击“违规举报”。

碎片内容

安装质量管理

您可能关注的文档

确认删除?
VIP
微信客服
  • 扫码咨询
会员Q群
  • 会员专属群点击这里加入QQ群
客服邮箱
回到顶部