电脑桌面
添加小米粒文库到电脑桌面
安装后可以在桌面快捷访问

机关事业单位工资福利审核、审批流程图VIP免费

机关事业单位工资福利审核、审批流程图_第1页
1/2
机关事业单位工资福利审核、审批流程图_第2页
2/2
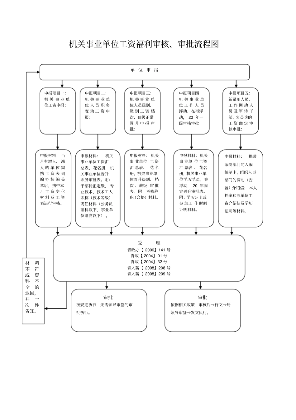
机关事业单位工资福利审核、审批流程图申报项目一:机 关 事 业 单位工资申报:受理青政办【 2006】141 号青政【 2004】 91 号青政【 2004】 32 号青人薪【 2008】208 号青人薪【 2008】209 号单 位 申 报申报材料: 当月有增人、 减人 的 单 位 需携 工 资 表 到编 办 核 编 盖章后,携带本月 工 资 变 化材 料 及 工 资表进行审核。申报项目二:机 关 事 业 单位 人 员 职 务变 动 工 资 申报:申报项目三:机 关 事 业 单位人员级别、级 别 工 资 档次、薪级正常晋 升 申 报 审批:申报项目四:机 关 事 业 单位 工 作 人 员浮动、在再浮动, 20 年一级审核审批:申报项目五:新录用人员、工 作 调 动 人员 及 军 转 干部、复员兵的工 资 确 定 审核审批:申报材料:机关事业单位工资汇总表、 花名册, 机关事业单位晋升职务审批表。附:干部转正定级、 专业技术、技术工人职称(技术等级)聘任材料(公务员副科以下、事业单位副高以下) 。申报材料: 机关事 业单位 工 资汇 总表、 花 名册,机关事业单位晋升级别、 档次 、薪级 审 批表。附:考核称职(合格)材料。申报材料:机关事 业单 位 工资汇 总表 、 花名册,机关事业单位学历浮动、 在浮动, 20 年固定晋升审批表。附:学历证明或参 加工 作 时间证明材料。申报材料:携带编制部门的入编编制卡,组织人事部门的调动(安置)介绍信; 本人档案和原单位工资介绍信及学历证明等材料。材料不符或资料不全的退回,并一次性告知。审批按规定执行,无需领导审签的审批执行。审批依据相关政策审核后→行文→局领导审签→发文执行。机关事业单位工作人员退休审核、审批流程图申请退休或提前退休受理条件: 本人提出书面申请→单位(党组、 党委)批复文件(病退、伤残附相关疾病及证明材料)受理送局领导审阅送工资福利与劳动关系科审核审核1、查阅档案审核年龄、工龄、职务等信息。2、政策依据: 国发 [1978]104 号、青劳人险 (94)452 号、北人社发【2012】 354 号条 件 不 符或 资 料 不全的退回,并 一 次 性告知。对符合因病提前退休的工作人员统一在指定 医 疗 单 位 进 行 复检。劳动鉴定委员会鉴定完全丧失工作(劳动)能力的。未完全丧失工作(劳动)能力的。符合正常退休条件的。审批上报局务会研究→依据相关政策→行文→局领导审签→发文执行。

1、当您付费下载文档后,您只拥有了使用权限,并不意味着购买了版权,文档只能用于自身使用,不得用于其他商业用途(如 [转卖]进行直接盈利或[编辑后售卖]进行间接盈利)。
2、本站所有内容均由合作方或网友上传,本站不对文档的完整性、权威性及其观点立场正确性做任何保证或承诺!文档内容仅供研究参考,付费前请自行鉴别。
3、如文档内容存在违规,或者侵犯商业秘密、侵犯著作权等,请点击“违规举报”。

碎片内容

机关事业单位工资福利审核、审批流程图

爱的疯狂+ 关注
实名认证
内容提供者

该用户很懒,什么也没介绍

确认删除?
VIP
微信客服
  • 扫码咨询
会员Q群
  • 会员专属群点击这里加入QQ群
客服邮箱
回到顶部