电脑桌面
添加小米粒文库到电脑桌面
安装后可以在桌面快捷访问

水利水电监理技术交底VIP免费

水利水电监理技术交底_第1页
1/22
水利水电监理技术交底_第2页
2/22
水利水电监理技术交底_第3页
3/22
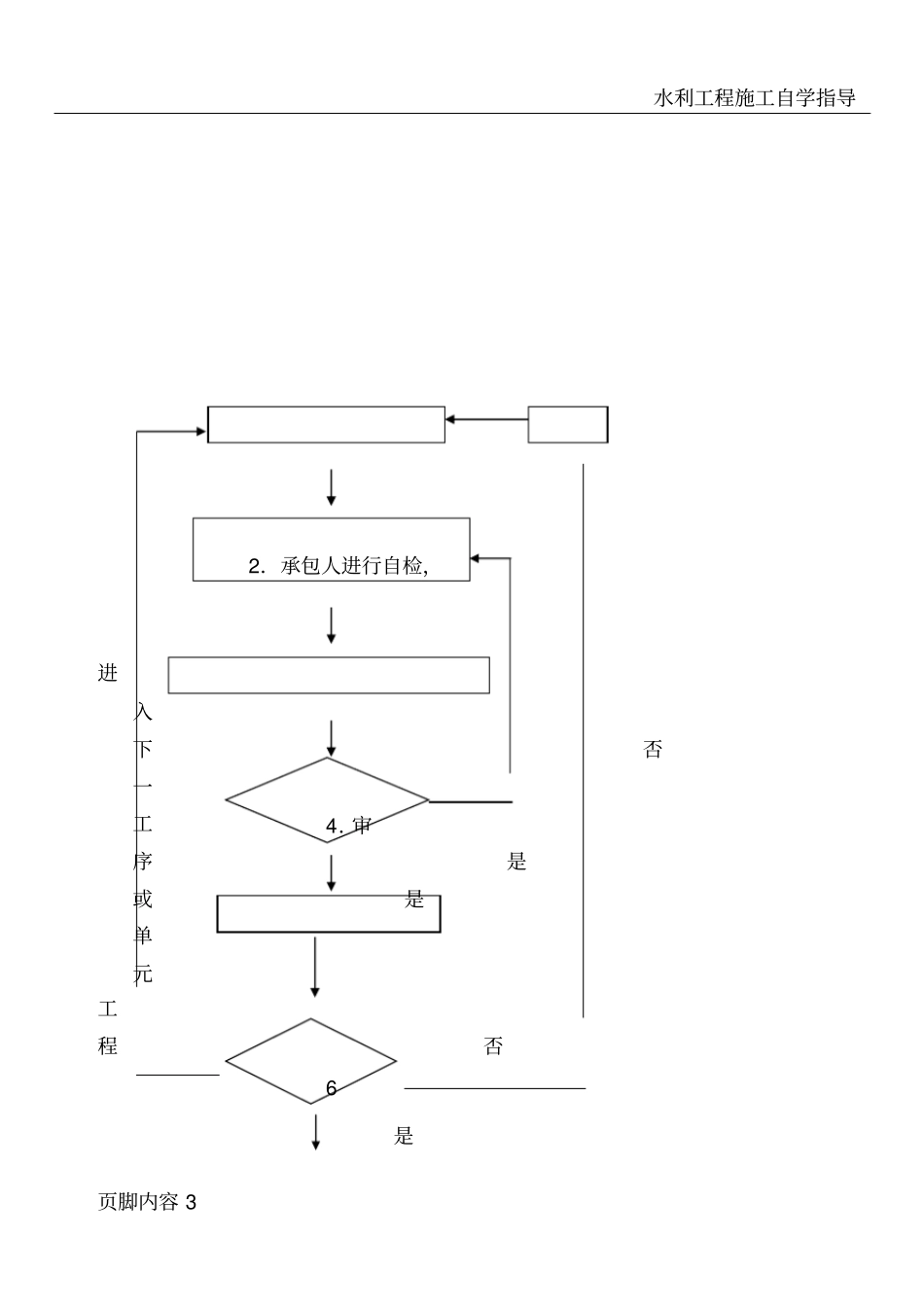
水利工程施工自学指导页脚内容 1资源县 2014 年中央财政小型农田水利建设重点县建设项目监理技术交底一、 质量控制1. 凡进场材料, 构配件必须先报验, 做好见证取样工作, 待验收合格后方可用于本工程,并做好计划供应,场地保管工作,未经验收合格和验收不合格的工程材料严禁使用于本工程。2. 项目部在施工前必须做好技术交底工作,严格按照设计及相关标准, 规范施工,对隐蔽工程,分项,分部工程应在施工单位自检合格的基础上报项目监理机构验收, 验收合格后才能进行下一道工序的施工。未经验收和验收不合格的工序,严禁下一道工序的施工。3. 相关的工程资料要及时整理并报送监理审批。二、 工程投资控制1. 凡涉及工程变更和工程款的增加, 必须经总监理工程师审核及建设单位同意,方可实施工程变更。2. 工程款的支付必须按施工合同规定, 所报完成的工程项目必须有完整的质保资料,经总监理工程师审核后签发工程款支付证书方可付款。三、 进度控制水利工程施工自学指导页脚内容 2项目部要按合同要求安排好进度计划,及时把总进度计划报建设和监理单位。四、 施工安全1. 工程开工前,项目部要建立健全施工保障体系和安全管理规章制度,对职工进行施工安全教育和培训。2. 施工过程中,如果监理发现不安全因素和安全隐患时,要立即进行整改,若施工方延误或拒绝整改,监理办可责令其停工,并向建设单位汇报。五、 环境保护1. 工程开工前,项目部要编制施工环境管理和保护方案。2. 施工过程中的弃渣要规划有序地堆放和处理,防止任意弃渣造成环境污染,影响河道行洪能力。六、 监理程序及施工交底见附表水利工程施工自学指导页脚内容 3进入下否一工序是或是单元工程否是2.承包人进行自检,4.审6水利工程施工自学指导页脚内容 4图 C-1 工序或单元工程质量控制监理工作程序图8.监理机构审核、 签认工水利工程施工自学指导页脚内容 5进入下一单元工程进入下一分部工程进入下一单位工程2.承包人填写单元工程质量3.监理机构审核单元工5.承包人填写分部工程质量9.单10.承包人填写单位工11.监理机构复核单位工12.质量监督部门13.工程14.质量监督部门核定工程6.监理机构审核分部工程7.质量监督部门8.质量监督部门审查核定水利工程施工自学指导页脚内容 6图 C-2 质量评定监理工作程序图15.质量监督部门提出工程项目质水利工程施工自学指导页脚内容 7不同意同意不同意同意是否是否1.承包人提交施工2...

1、当您付费下载文档后,您只拥有了使用权限,并不意味着购买了版权,文档只能用于自身使用,不得用于其他商业用途(如 [转卖]进行直接盈利或[编辑后售卖]进行间接盈利)。
2、本站所有内容均由合作方或网友上传,本站不对文档的完整性、权威性及其观点立场正确性做任何保证或承诺!文档内容仅供研究参考,付费前请自行鉴别。
3、如文档内容存在违规,或者侵犯商业秘密、侵犯著作权等,请点击“违规举报”。

碎片内容

水利水电监理技术交底

您可能关注的文档

确认删除?
VIP
微信客服
  • 扫码咨询
会员Q群
  • 会员专属群点击这里加入QQ群
客服邮箱
回到顶部