电脑桌面
添加小米粒文库到电脑桌面
安装后可以在桌面快捷访问

火力发电、输变电工程设计招标程序及招投标文件范本

火力发电、输变电工程设计招标程序及招投标文件范本_第1页
1/50
火力发电、输变电工程设计招标程序及招投标文件范本_第2页
2/50
火力发电、输变电工程设计招标程序及招投标文件范本_第3页
3/50
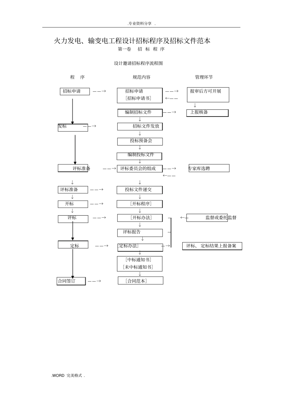
.专业资料分享 . .WORD 完美格式 . 火力发电、输变电工程设计招标程序及招标文件范本第一卷招 标 程 序设计邀请招标程序流程图程序规范内容管理环节招标申请——→招标申请——→报审后方可开展[招标申请书]←——↓编制招标文件——→上报核备↓发标——→招标文件发放↓投标预备会↓编制投标文件↓评标准备——→评标委员会的组成——→专家库选聘←——↓↓评标准备——→投标文件递交↓↓开标——→[开标程序]↓↓评标——→[开标办法]—←—监督或委托监督↓评标报告—↓定标——→[定标办法]—→评标、 定标结果上报备案↓[中标通知书][未中标通知书]↓合同签订——→[合同范本].专业资料分享 . .WORD 完美格式 . 设计公开招标程序流程图程序规范内容管理环节招标申请——→招标申请——→[招标申请书]←——报审后方可开展↓发布招标通知↓资格预审——→发布招标通知↓编制招标文件——→上报核备↓发标——→招标文件发放↓投标预备会↓编制投标文件↓评标准备——→评标委员会的组成——→专家库选聘←——↓评标准备——→投标文件递交↓开标——→[开标程序]—↓评标——→[开标办法]←—监督或委托监督↓评标报告↓定标——→[定标办法]——→评标、 定标结果上报核备↓[中标通知书][未中标通知书]↓合同签订——→[合同范本]为培育、发展、健全火电工程和输、变电设计市场,规范设计招投标行为,维护设计招投标各方的合法权益,根据国家有关法律、法规制定本招标程序。招标主体是电力建设工程项目法人。一、招标申请1 招标单位应具备的条件:1.1 应是项目主管局(公司 )或项目法人;.专业资料分享 . .WORD 完美格式 . 1.2 应有开展设计招标的管理人员和机构;1.3 应有组织编制招标文件的能力;1.4 应有审查投标单位资格的能力;1.5 应有组织开标、评标、定标的能力。当不具备上述1.2 至 1.5 项条件的招标单位,应委托具有相应资质的代理招标机构代理招标,由招标单位与代理机构签订合同(协议 ),并上报电力行业设计招标管理机构备案。2 申请:招标单位应填写“电力工程设计招标申请”(附件1),在发标前上报电力行业设计招标管理机构,经核准后方可实施招标。设计招标申请应包括以下主要内容:招标单位名称、 法人代表、 工程名称、 工程地点、 设计规模、 设计招标阶段、 招标范围、招标方式、招标组织机构、是否委托代理招标机构、项目前期工作进展情况等。二、...

1、当您付费下载文档后,您只拥有了使用权限,并不意味着购买了版权,文档只能用于自身使用,不得用于其他商业用途(如 [转卖]进行直接盈利或[编辑后售卖]进行间接盈利)。
2、本站所有内容均由合作方或网友上传,本站不对文档的完整性、权威性及其观点立场正确性做任何保证或承诺!文档内容仅供研究参考,付费前请自行鉴别。
3、如文档内容存在违规,或者侵犯商业秘密、侵犯著作权等,请点击“违规举报”。

碎片内容

火力发电、输变电工程设计招标程序及招投标文件范本

确认删除?
VIP
微信客服
  • 扫码咨询
会员Q群
  • 会员专属群点击这里加入QQ群
客服邮箱
回到顶部