电脑桌面
添加小米粒文库到电脑桌面
安装后可以在桌面快捷访问

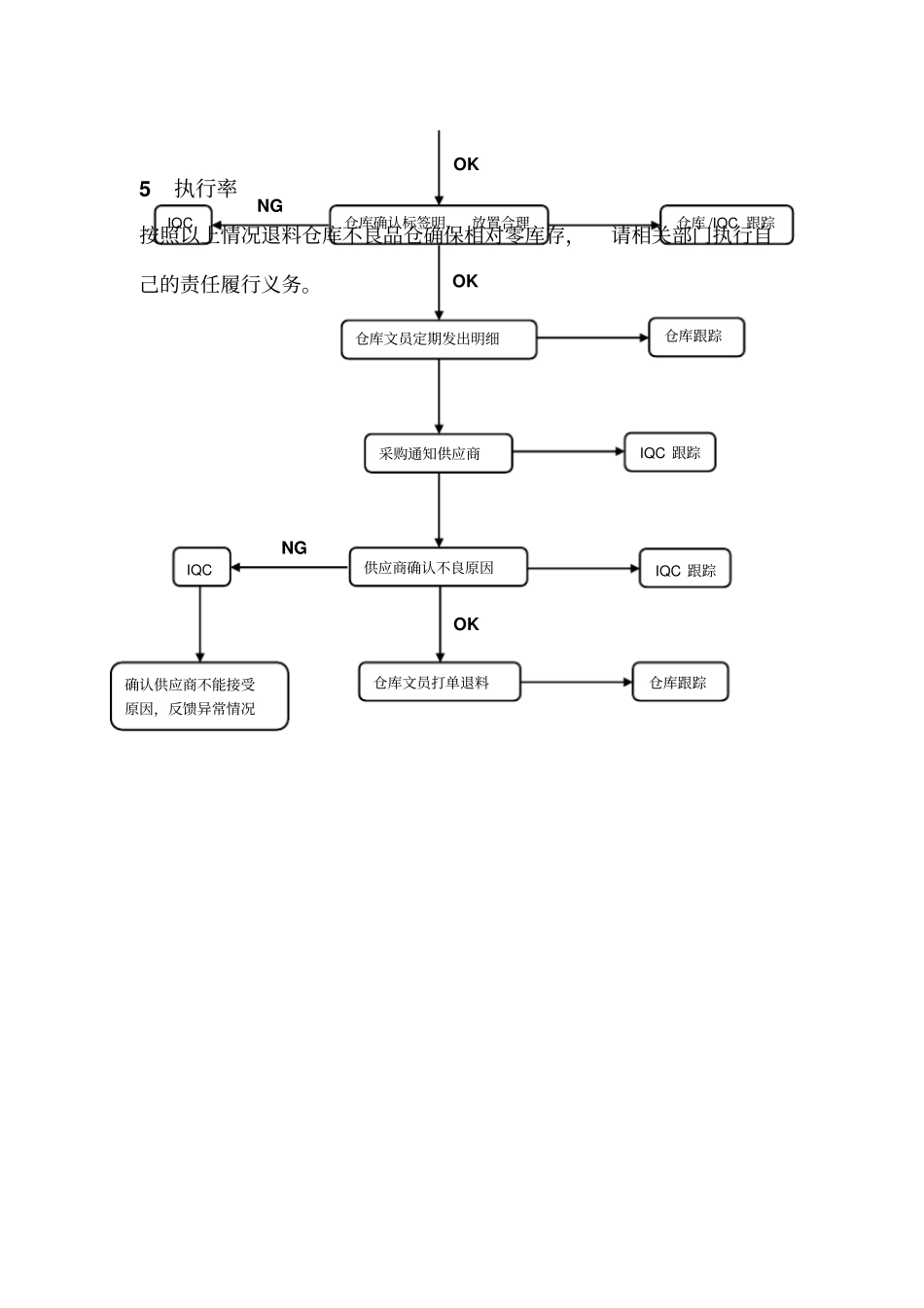
生产不良品处理流程

生产不良品处理流程_第1页
1/2
生产不良品处理流程_第2页
2/2
生产不良品处理规范流程1 目的:确保仓库不良仓成本降低, 数据相对为零减少成本堆积, 控制成本上线。2 范围:适用于生产退料所有不良品3 职责:3.1 生产负责管理在线不良品并针对不良品开出退料单,向 IQC 提出申请检验,负责办理退库手续;3.2 IQC 负责对不良品进行验收,标注验收确认问题原因;3.3 仓库验收不良品确认不良标签明确,验收放置每批分开放置明确,方便后续供应商验收不良品退回;3.4 仓库文员负责每周发出本周最新退料明细;3.5 IQC 负责跟踪仓库发出的最新退料明细,通知采购尽快通知供应商来确认不良品;3.6 IQC 负责跟仓库人员对接明细中的不良料,负责跟供应商确认不良料的退料明细,反馈退料异常及整体进度;3.7 仓库文员根据 IQC 提供退料数量打出退货单;4 退料流程图:生产退料IQC 确认退料原因标注明细生产NG OK IQC 跟踪生产文员 /退料员5 执行率按照以上情况退料仓库不良品仓确保相对零库存,请相关部门执行自己的责任履行义务。OK 仓库确认标签明、 放置合理IQC NG OK 仓库文员定期发出明细采购通知供应商IQC 跟踪仓库跟踪仓库 /IQC 跟踪供应商确认不良原因NG IQC IQC 跟踪OK 仓库文员打单退料确认供应商不能接受原因,反馈异常情况仓库跟踪

1、当您付费下载文档后,您只拥有了使用权限,并不意味着购买了版权,文档只能用于自身使用,不得用于其他商业用途(如 [转卖]进行直接盈利或[编辑后售卖]进行间接盈利)。
2、本站所有内容均由合作方或网友上传,本站不对文档的完整性、权威性及其观点立场正确性做任何保证或承诺!文档内容仅供研究参考,付费前请自行鉴别。
3、如文档内容存在违规,或者侵犯商业秘密、侵犯著作权等,请点击“违规举报”。

碎片内容

生产不良品处理流程

确认删除?
VIP
微信客服
  • 扫码咨询
会员Q群
  • 会员专属群点击这里加入QQ群
客服邮箱
回到顶部