电脑桌面
添加小米粒文库到电脑桌面
安装后可以在桌面快捷访问

屋面钢结构工程监理实施细则

屋面钢结构工程监理实施细则_第1页
1/13
屋面钢结构工程监理实施细则_第2页
2/13
屋面钢结构工程监理实施细则_第3页
3/13
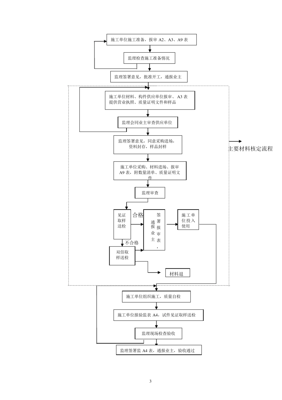
1 屋面钢结构工程监理实施细则 1.工程概况: 1.1 工程规模及特点 1.1.1 工程位置:厦门市海沧区新阳北路5#楼屋面钢结构。 1.1.2 设计概况:建筑结构安全等级二级,建筑结构设计使用年限为50年,建筑抗震设防烈度7 度。 1.1.3 结构类型:钢结构,屋面层。 1.1.4 建筑特点:在已完工的混凝土主体上增加钢结构层(5#楼底部混凝土结构,混凝土结构高度约21 米,顶部设计有钢结构屋顶,建筑总高度约为23m。) 1.2 工程项目目标 1.2.1 质量目标:达到合格标准; 1.2.2 安全目标:有效控制工伤事故,杜绝重大恶性事故,一般负伤频率<2‰; 1.2.3 环境目标:噪声排放达标,严格控制、最大限度减少化学危险品、油品的泄露,严禁发生重大火灾、爆炸事故;建筑材料有害物质含量达标。 2.控制依据: 2.雅克设计有限公司设计的施工图纸; 2.2 已批准的监理规划; 2 2.3 经审核批准的施工组织设计; 2.4《建筑工程施工质量验收统一标准》(GB50300-2001); 2.5 工程测量规范(GB50026-2007); 2.6 钢结构工程施工质量验收规范(GB50205-2001); 2.7 建筑结构荷载规范(GB50068-2001); 2.8 钢结构设计规范(GB50017-2003); 2.9 建筑钢结构焊接规程(JGJ81-2003) 2.10 建设工程监理规范(GB50318-2000); 2.11 建筑施工手册(第四版); 2.12 建筑施工扣件式钢管脚手架安全技术规范(JGJ130-2001); 2.13 建筑施工高处作业安全技术规范(JGJ80-91); 2.14 施工现场临时用电安全技术规范(JGJ46-2005); 2.15 烟台市建筑施工现场安全管理规定; 2.16 其他有关规范、规程、标准及规定、有关标准图集; 3. 监理工作流程(见下图) 3 主要材料核定流程 合格 不合格 施工单位施工准备,报审A 2、A 3、A 9 表 监理检查施工准备情况 监理签署意见,批准开工,通报业主 施工单位材料、构件供应单位报审、 A 3 表提供营业执照、质量证明文件和样品 监理会同业主审查供应单位 监理签署意见,同意采购进场,资料封存,样品封样 施工单位采购、材料进场、报审A 9 表,附数量清单、质量证明文件 监理审查 见证取样送检 施工单位投入使用 双倍取 样送检 签 署 报 审 表 ,通报 业 主 材料退施工单位组织施工,质量自检 施工单位报验监表 A 4,试件见证取样送检 监理现场检查验收 监理签署监 A 4 表,通报业主,验收通过 4 4. 监理工作内容 4.1 施工准备阶段监理工作...

1、当您付费下载文档后,您只拥有了使用权限,并不意味着购买了版权,文档只能用于自身使用,不得用于其他商业用途(如 [转卖]进行直接盈利或[编辑后售卖]进行间接盈利)。
2、本站所有内容均由合作方或网友上传,本站不对文档的完整性、权威性及其观点立场正确性做任何保证或承诺!文档内容仅供研究参考,付费前请自行鉴别。
3、如文档内容存在违规,或者侵犯商业秘密、侵犯著作权等,请点击“违规举报”。

碎片内容

屋面钢结构工程监理实施细则

您可能关注的文档

确认删除?
VIP
微信客服
  • 扫码咨询
会员Q群
  • 会员专属群点击这里加入QQ群
客服邮箱
回到顶部