电脑桌面
添加小米粒文库到电脑桌面
安装后可以在桌面快捷访问

管线泄压操作规程

管线泄压操作规程_第1页
1/26
管线泄压操作规程_第2页
2/26
管线泄压操作规程_第3页
3/26
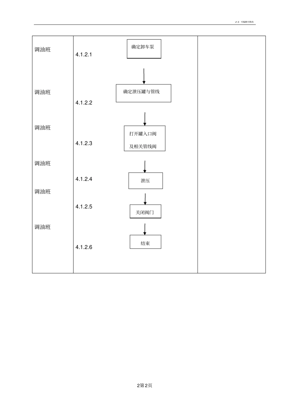
v1.0 可编辑可修改0第0页文件编号: QEOZG/YP 3 50 009-2014管线泄压操作规程(D版)发布日期: 2015 年 07 月 29 日实施日期: 2015 年 07 月 29 日1 目的强调油与灌装油管线管理,防止外界温度高(4 月~10 月) 管线压力增大造成管线漏油,减少浪费。2 适用范围适用于广西北海玉柴马石油高级润滑油有限公司厂区、码头油库管线的泄压。3 职责生产部调油班:负责卸车台至一期、三期罐组管线,一期罐组和三期罐组抽油管线,一期循环管线的泄压。灌装班:负责二泵房至二车间高位罐管线的泄压。调度中心负责码头油库日常泄压和检查。技术研发中心受控状态受控分发编号v1.0 可编辑可修改1第1页负责北海公司厂区日常泄压的监督和检查。4 管线泄压操作规定卸车台管线泄压4.1.1 卸车台管线泄压简单示意图打开相应阀门泄压4.1.2 卸车台管线泄压工艺流程、卸车台管线泄压工艺流程说明卸车台管线泄压工艺流程职责岗位流程作业指导书、记录等三期基础一 期 基卸车泵v1.0 可编辑可修改2第2页调油班调油班调油班调油班调油班调油班4.1.2.14.1.2.24.1.2.34.1.2.44.1.2.54.1.2.6确定卸车泵关闭阀门确定泄压罐与管线泄压打开罐入口阀及相关管线阀结束v1.0 可编辑可修改3第3页卸车台管线泄压工艺流程说明序号流程块工作标准期量标准4.1.2.1确定卸车泵卸油品种调油班明确卸车泵上次卸什么品种基础油——4.1.2.2确定泄压罐与管线(一期或三期)调油班如果当天有卸油或转油作业的管线则当天无需泄压;如果没有卸油或转油作业的管线则根据卸车泵上次卸油的品种来确定泄压到相应品种基础油罐。——4.1.2.3打开罐入口阀及相关管线阀门调油班打开基础油罐入口阀及相关管线上的阀门。——4.1.2.4泄压调油班午后1— 2 点打开泄压阀泄压进最近一次卸油或转油的基础油罐内,泄压阀打开时间 t ,60s≥t ≥30s。——4.1.2.5关闭阀门调油班关闭泄压时打开的所有阀门——4.1.2.6结束调油班泄压完毕,填写记录——一期调合管线泄压4.2.1 基础油罐至基础油泵管线4.2.1.1 基础油罐至基础油泵管线泄压示意图泄压基础油泵1.2.3# 基# 基 础 油# 基 础 油v1.0 可编辑可修改4第4页4.2.1.2基础油罐至基础油泵管线泄压流程、基础油罐至基础油泵管线泄压流程说明基础油罐至基础油泵管线泄压流程职责岗位流程作业指导书、记录等调油班调油班调油班调油班调油班调油班4.2.1.4.2.1.4.2.1.4.2.1.4.2.1.4.2.1.明确基础油关闭阀门打开罐出口阀确定泄压管...

1、当您付费下载文档后,您只拥有了使用权限,并不意味着购买了版权,文档只能用于自身使用,不得用于其他商业用途(如 [转卖]进行直接盈利或[编辑后售卖]进行间接盈利)。
2、本站所有内容均由合作方或网友上传,本站不对文档的完整性、权威性及其观点立场正确性做任何保证或承诺!文档内容仅供研究参考,付费前请自行鉴别。
3、如文档内容存在违规,或者侵犯商业秘密、侵犯著作权等,请点击“违规举报”。

碎片内容

管线泄压操作规程

您可能关注的文档

确认删除?
VIP
微信客服
  • 扫码咨询
会员Q群
  • 会员专属群点击这里加入QQ群
客服邮箱
回到顶部