电脑桌面
添加小米粒文库到电脑桌面
安装后可以在桌面快捷访问

合同和信息管理措施

合同和信息管理措施_第1页
1/18
合同和信息管理措施_第2页
2/18
合同和信息管理措施_第3页
3/18
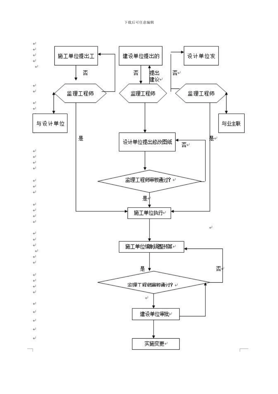
下载后可任意编辑信息和合同管理的计划(一)合同管理工作1.管理的原则合同是监理工作的依据,监理工作的主要内容就是圆满实施工程监理合同和施工承包合同。监理工程师应实行预先分析、调查的方法,常常跟踪合同执行情况和施工中的问题,督促和纠正承包单位不符合合同约定的行为,提前向建设单位和承包单位发出预示,防止偏离合同约定事件的发生。投资、进度、质量的控制是合同管理的主要内容,已见上述,本节主要内容为其它事项。2.合同其它事项管理的内容:1)设计变更的管理;2)工程暂停及复工的管理;3)工程延期的管理;4)费用索赔的管理;5)合同争议的调解;6)违约的处理;3.合同其他事项管理的基本程序1)设计变更管理的基本程序:(见下页)下载后可任意编辑 未经检验或检验不合格仍进行下道工序作业工程质量下降,指出未实行有效改正措施或者实行了措施效果不明显,继续作业者监理单位请示业主同意后签发“停工指令”表施工单位停工整顿,提出改正措施,处理造成质量的问题施工单位填写复工申请表监理工程师审查是否具备复工条件总监认可并商业主同意签发复工指令表总监不认可施工单位继续整顿下载后可任意编辑2)工程暂停及复工的管理; 是 否 延期事件发生承包单位提交工期延期意向报告承包单位随时提交延期事件的详细报告延期事件结束、承包单位提交《工程延期申请表》监理工程师审核与评估与承包单位、建设单位协商总监理工程师签发《工程延期审批表》下载后可任意编辑3)工程延期管理基本程序 项目监理部收集资料详细记录过程下载后可任意编辑 不 同 意 不一一致下载后可任意编辑4)费用索赔管理的基本程序争议发生争议一方或双方书面提交解决争议申请争议一方或双方书面提交解决争议申请总监理工程师协调并作出处理决定合同争议解决向仲裁委员会申请仲裁或直接向法院起诉执行仲裁委员会的裁决 或法院判决下载后可任意编辑5)合同争议的调解基本程序违约事件发生受损失一方提出申诉报告项目监理部调查、确认违约性质监理工程师评估违约方给对方造成的费用增加或工期延误与双方协商处理意见总监理工程师确认违约事件逐级协商解决依照有关法规处理下载后可任意编辑6)违约处理基本程序 协商不一致 协商一致下载后可任意编辑(二)信息管理工作信息是实施控制的基础。信息管理是工程监理任务的主要内容之一。监理人员及时掌握准确、完整的信息,信息管理工作掌握的好坏和建设监理决策的正确与否直接影响到项目监理工作...

1、当您付费下载文档后,您只拥有了使用权限,并不意味着购买了版权,文档只能用于自身使用,不得用于其他商业用途(如 [转卖]进行直接盈利或[编辑后售卖]进行间接盈利)。
2、本站所有内容均由合作方或网友上传,本站不对文档的完整性、权威性及其观点立场正确性做任何保证或承诺!文档内容仅供研究参考,付费前请自行鉴别。
3、如文档内容存在违规,或者侵犯商业秘密、侵犯著作权等,请点击“违规举报”。

碎片内容

合同和信息管理措施

确认删除?
VIP
微信客服
  • 扫码咨询
会员Q群
  • 会员专属群点击这里加入QQ群
客服邮箱
回到顶部