电脑桌面
添加小米粒文库到电脑桌面
安装后可以在桌面快捷访问

服装缝纫基础1

服装缝纫基础1_第1页
1/18
服装缝纫基础1_第2页
2/18
服装缝纫基础1_第3页
3/18
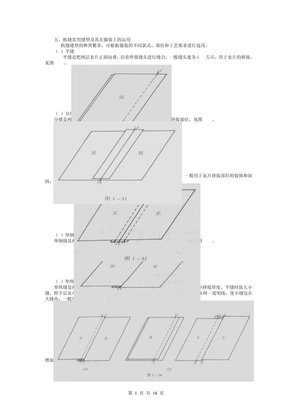
第 1 页 共 1 8 页 五、机缝常用缝型及其在服装上的运用 机缝缝型的种类繁多,可根据服装的不同款式、部位和工艺要求进行选用。 (1)平缝 平缝是把两层衣片正面向叠,沿着所留缝头进行缝合,一般缝头宽为1cm左右,用于衣片的拼接,见图 1-30。 (2)分缝 分缝是两层衣片平缝后,毛缝向两边分开,一般用于衣片的拼接部位,见图 1-31。 (3)分缉缝 分缉缝是两层衣片平缝后分缝,在衣片正面两边各压缉一道明线,一般用于衣片拼接部位的装饰和加固,见图 1-32 (4)坐倒缝 坐倒缝是两层衣片平缝后,毛缝单边坐倒,一般用于夹里的拼接部位,见图 1-33。 (5)坐缉缝 坐缉缝是两层衣片平缝后,毛缝单边坐倒,正面压缉一道明线。也有为减少拼接厚度,平缝时放大小缝,即下层衣片缝头多放出 0.4或 0.6cm,平缝后毛缝朝小缝方向坐倒,正面压缉一道明线,使小缝包在大缝内,一般用于衣片拼接部位的装饰和加固,见图 1-34。 (6)分坐缉缝 两层衣片平缝后,一层毛缝坐倒,缝口分开,在坐缝上离开原平缝线迹 0.1~0.2cm压缉一道线。用于增加牢度,如裤子后裆等,见图 1-35。 第 2 页 共 1 8 页 (7)搭缝 搭缝是两层衣片缝头相搭1cm,居中缝一道线,使缝子平薄,不起梗,用于衬布的拼接,需拼接又不显露在外面的部位,见图1-36。 (8)对拼缝 对拼缝是两层衣片平接,用Z型线迹来回缝缉,此缝比搭缝更平薄,适用于衬布的拼接,见图1-37。 (9)压缉缝 压缉缝是把上层衣片缝口折光,盖住下层衣片缝头或对准下层衣片应缝的位置,正面压缉一道明线,一般用以装袖衩、袖头、领头、裤腰和贴袋等,见图1-38。 (10)贴边缝(窄贴边也称卷边缝) 贴边缝是把衣片反面朝上,把缝头折光后在折转一定要求的宽度,沿贴边的边缘缉0.1cm清止口,注意上下层松紧一致,防止起涟,见图1-39。 (11)闷缝(也称包边缝) 闷缝是把面料两边折光,折烫成双层,下层略宽于上层,把衣片夹在中间,沿上层边缘缉0.1cm清止口,把上、中、下三层一起缝牢。用于装袖衩、装裤腰等,见图1-40。 第 3 页 共 1 8 页 (12)别落缝与漏落缝 别落缝与漏落缝是明线缉在坐倒缝旁或分缝中,用于装裤腰、固定嵌线等,件图 1-41。 (13)来去缝 来去缝是把两层衣片反面相叠,平缝0.3cm缝头后把毛丝修齐,翻转后,正面相叠合缉0.5或0.6cm,把第一道毛缝包在里面。用于薄料衬衫、衬裤等,见图 1-42。 (14)明包缝(也称外包缝) 方法一: ...

1、当您付费下载文档后,您只拥有了使用权限,并不意味着购买了版权,文档只能用于自身使用,不得用于其他商业用途(如 [转卖]进行直接盈利或[编辑后售卖]进行间接盈利)。
2、本站所有内容均由合作方或网友上传,本站不对文档的完整性、权威性及其观点立场正确性做任何保证或承诺!文档内容仅供研究参考,付费前请自行鉴别。
3、如文档内容存在违规,或者侵犯商业秘密、侵犯著作权等,请点击“违规举报”。

碎片内容

服装缝纫基础1

小辰7+ 关注
实名认证
内容提供者

出售各种资料和文档

确认删除?
VIP
微信客服
  • 扫码咨询
会员Q群
  • 会员专属群点击这里加入QQ群
客服邮箱
回到顶部