电脑桌面
添加小米粒文库到电脑桌面
安装后可以在桌面快捷访问

产品审核控制程序文件VIP专享

产品审核控制程序文件_第1页
1/8
产品审核控制程序文件_第2页
2/8
产品审核控制程序文件_第3页
3/8
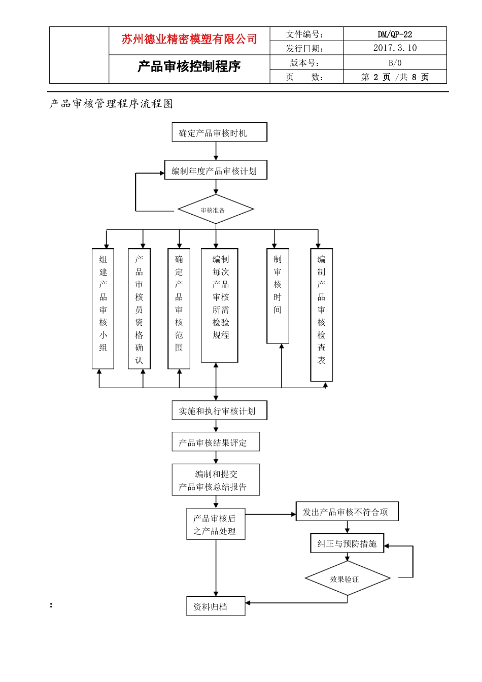
苏州德业精密模塑有限公司文件编号:发行日期:版本号:页数:DM/QP-22产品审核控制程序2017.3.10B/0第 1 页 /共 8 页1目的通过对产品和/或零件进行产品检验是否符合规定的要求,来对质量保证的有效性进行评定,用产品质量来确认质量能力。对产品是否与规定的技术要求或与顾客/供方的特殊协议相一致进行检验。2范围本程序适用于公司所生产的汽车类产品{包括新产品和常规产品(亦称老产品或旧产品)}的质量审核。3引用文件《体系审核控制程序》《产品审核》(VDA6.5)4术语和定义产品审核:确定质量活动和有关结果是否符合计划的安排,以及这些安排是否有效地实施并适合于达到预定目标的、有系统的、独立的检查。包括对检验细则的策划、实施、评定和记录存档即:检验特性:定量和定性的特性。检验对象:有形产品。检验时间:在一个生产工序结束后,交给下一个顾客(指外部顾客)前。检验根据:额定要求。检验人员:独立的审核员。关键缺陷:预见到会对人身造成危险和不安全的缺陷;主要缺陷:非关键缺陷,预计会导致产生事故或影响可使用性,不能完全按照规定的用途使用。次要缺陷:预计按照规定的用途使用不会受到多大影响,或与适用的标准有偏差,但对设备、装置的使用、操作、运行等有轻微影响的缺陷;5职责品质部负责产品审核计划的制订、审核小组的组建;审核小组负责审核计划的执行及符合项的跟踪验证;受审核单位负责对不符合项制订纠正和预防措施并有效实施。6. 工作流程和内容苏州德业精密模塑有限公司文件编号:发行日期:版本号:页数:DM/QP-22产品审核控制程序2017.3.10B/0第 2 页 /共 8 页产品审核管理程序流程图确定产品审核时机编制年度产品审核计划审核准备组建产品审核小组产品审核员资格确认确定产品审核范围编制每次产品审核所需检验规程制审核时间编制产品审核检查表实施和执行审核计划产品审核结果评定编制和提交产品审核总结报告发出产品审核不符合项产品审核后之产品处理纠正与预防措施效果验证:资料归档苏州德业精密模塑有限公司文件编号:发行日期:版本号:页数:DM/QP-22产品审核控制程序2017.3.10B/0第 3 页 /共 8 页记录责任单位工作内容1 品质部每年负责组织进行一次产品审核,产品审核的范围包括所有生产的汽车新产品和主要常规产品。1.1 客户有要求,按照客户要求的频次,进行产品审核;1.2 客户没有要求,按照本公司的规定每年度至少一次产品审核;1.3 产品审核方法采用 VDA6.5(2008),如...

1、当您付费下载文档后,您只拥有了使用权限,并不意味着购买了版权,文档只能用于自身使用,不得用于其他商业用途(如 [转卖]进行直接盈利或[编辑后售卖]进行间接盈利)。
2、本站所有内容均由合作方或网友上传,本站不对文档的完整性、权威性及其观点立场正确性做任何保证或承诺!文档内容仅供研究参考,付费前请自行鉴别。
3、如文档内容存在违规,或者侵犯商业秘密、侵犯著作权等,请点击“违规举报”。

碎片内容

产品审核控制程序文件

确认删除?
VIP
微信客服
  • 扫码咨询
会员Q群
  • 会员专属群点击这里加入QQ群
客服邮箱
回到顶部