电脑桌面
添加小米粒文库到电脑桌面
安装后可以在桌面快捷访问

现场施工项目质量管理体系

现场施工项目质量管理体系_第1页
1/8
现场施工项目质量管理体系_第2页
2/8
现场施工项目质量管理体系_第3页
3/8
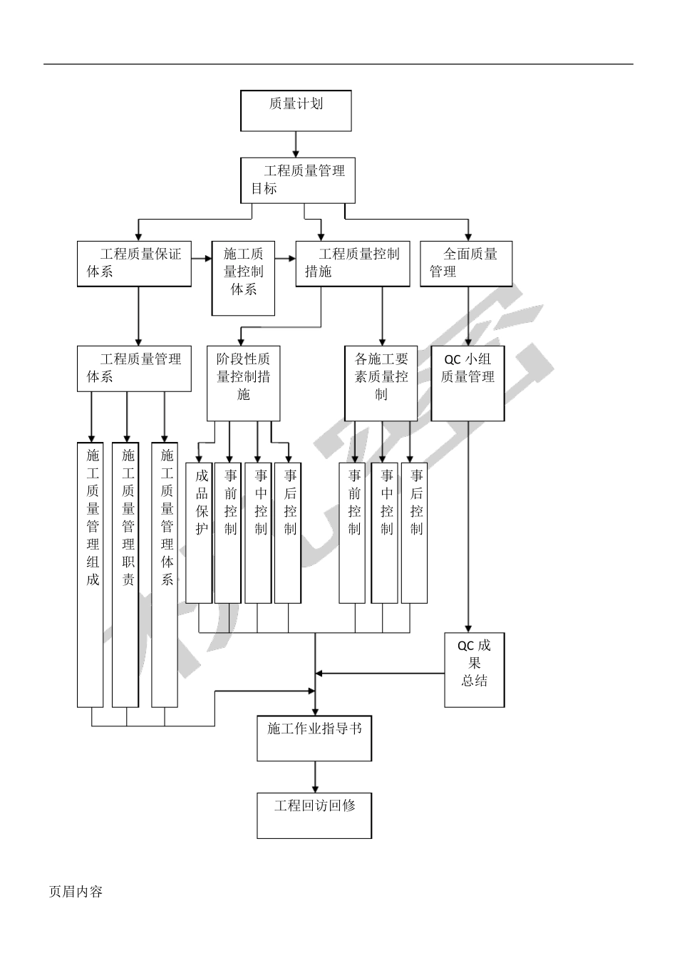
页眉内容 施 工 项 目 质 量 管 理 体 系 一、项目部质量管理组织机构 依照公司质量管理体系相关制度,成立了项目部工程质量管理小组。项目部组员及职责如下: 序号 分工 姓 名 职务 职责 1 组长 负责整个项目的安全生产工作,认真贯彻国家安全生产方针、政策和法规。 2 组员 认真贯彻执行国家的安全生产方针、政策和安全技术标准、规范。 3 组员 严格执行国家及公司制定的有关安全方面的各项规章制度,对项目的安全生产负全面责任。 4 组员 认真执行有关工程质量政策、法规和验评标准。 5 组员 采购的劳保用品必须符合规格标准。 6 组员 现场施工人员管理,安全文明施工 7 组员 对安全资料把关归类整编 8 组员 工程,材料人工,机械预算,及采购计划申报 页眉内容 为了加强项目施工质量管理标准化,明确各级员工质量责任,联系实际,确保工程质量符合工程设计标准。根据国家工程质量管理的标准及业主的要求等实际情况制订质量管理体系。 二、质量管理生产目标 严格按照合同条款要求及现行规范标准组织施工,保证工程一次验收合格率达100%,保证质量资料准确、齐全。 1、施工现场质量管理组织机构图 2、质量管理组织结构图(即质量保证体系图) 项目经理 项目副经理 项目工程师 公司总工程师 监理工程师 计划员 施工员 材料员 质检员 资料员 见证员 材料采购员 试验员 工长 施工队长 班组长 公司质量部 公司质检员 专业质检员 兼职质检员 工人 页眉内容 工程质量管理目标 工程质量保证体系 工程质量控制措施 全面质量管理 施工质量控制体系 工程质量管理体系 阶段性质量控制措施 各施工要素质量控制 QC 小组质量管理 施工质量管理组成 施工质量管理职责 施工质量管理体系 成品保护 事前控制 事中控制 事后控制 事前控制 事中控制 事后控制 施工作业指导书 工程回访回修 QC 成果 总结 质量计划 页眉内容 3、项目管理人员管理质量责任制 所有分部、分项工程都必须严格把好质量关,按建设部《关于确保工程质量的几项措施》规定切实做到“五不准”。未经持证设计单位设计或设计不合格的工程,一律不准施工。无产品合格证、材质证明以及没有按规定复试的原材料一律不准使用,上道工序未经验收合格,下道工序一律不准施工。所有工程都严格按照国家规范、标准施工和验收,不准自行降低标准。 为实现工程质量创优,做到责任到人,明确项目管理人员责...

1、当您付费下载文档后,您只拥有了使用权限,并不意味着购买了版权,文档只能用于自身使用,不得用于其他商业用途(如 [转卖]进行直接盈利或[编辑后售卖]进行间接盈利)。
2、本站所有内容均由合作方或网友上传,本站不对文档的完整性、权威性及其观点立场正确性做任何保证或承诺!文档内容仅供研究参考,付费前请自行鉴别。
3、如文档内容存在违规,或者侵犯商业秘密、侵犯著作权等,请点击“违规举报”。

碎片内容

现场施工项目质量管理体系

您可能关注的文档

确认删除?
VIP
微信客服
  • 扫码咨询
会员Q群
  • 会员专属群点击这里加入QQ群
客服邮箱
回到顶部