电脑桌面
添加小米粒文库到电脑桌面
安装后可以在桌面快捷访问

2024年西南交大钢结构A离线作业VIP免费

2024年西南交大钢结构A离线作业_第1页
1/20
2024年西南交大钢结构A离线作业_第2页
2/20
2024年西南交大钢结构A离线作业_第3页
3/20
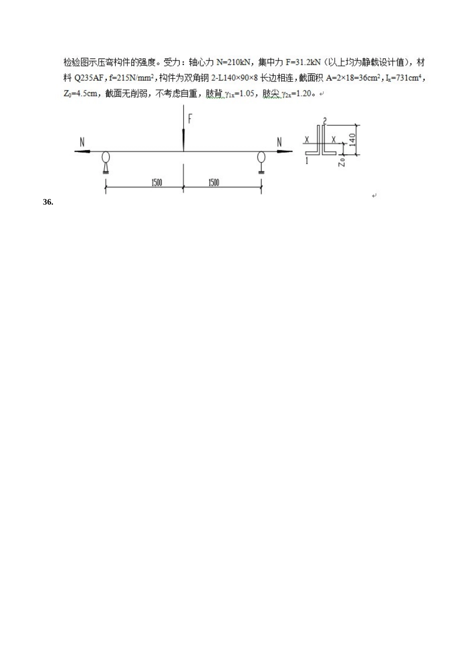
2015—2016年第1学期离线作业科目:钢结构A姓名:XX学号:XX专业:土木工程(工民建)西南交通大学远程与继续教育学院直属学习中心钢结构A1次作业(主观题)四、主观题(共33道小题)32.说明压弯构件整体稳定计算中βmax是什么系数,它的物理意义是什么?答:压弯构件整体稳定计算中βmax是计算弯矩作用平面内稳定时的等效弯矩系数,它的物理意义是把各种荷载作用的弯矩分布形式转化为均匀受弯来对待。33.偏心受压柱的刚接柱脚传递哪些内力?答:偏心受压柱的刚接柱脚传递轴力和弯矩34.写出工字型截面压弯构件腹板高厚比应满足的公式答:35.写出实腹式压弯构件弯矩作用平面外的稳定计算公式答:36.答:37.和其他材料的结构相比,钢结构有何特点?答:1.材料强度高、重量轻2.钢材材质均匀、可靠性高3.钢材的塑性和韧性好4.工业化程度高5.钢材具有可焊接性6.密封性好7.耐热性较好、耐火性差8.耐锈蚀性差38.什么叫钢梁丧失整体稳定?答:当弯矩增大使受压翼缘的最大弯曲压应力达到某一数值时,钢梁会在偶然的很小的横向干扰力下突然向刚度较小的侧向发生弯曲,同时伴随发生扭转;这时即使除去横向干扰力,侧向弯扭变形也不再消失,如弯矩再稍增大,则弯扭变形随即迅速增大,从而使钢梁失去承载能力。这种因弯矩超过临界限值而使钢梁从稳定平衡状态转变为不稳定平衡状态并发生侧向弯曲扭转的现象称为钢梁丧失整体稳定。39.在钢梁设计中为何只考虑截面部分发展塑性答:在计算梁的抗弯强度时,不考虑截面塑性发展是浪费钢材的。但若按截面形成塑性铰来设计则可能使梁的挠度过大,受压翼缘过早失去局部稳定。因此,钢结构设计规范规定,在一定条件下有限地利用钢材的塑性性能。40.规范对焊接组合梁腹板加劲肋的布置有哪些要求?答::41.梁的设计内容有哪些?答:钢梁设计内容主要包括强度、刚度、整体稳定和局部稳定四个方面。钢结构A2次作业(主观题)四、主观题(共10道小题)32.影响梁弯扭屈曲临界弯矩的因素有哪些?答:影响梁整体稳定的主要因素有:ﻫ(一)梁的截面形状和尺寸,即梁的侧向抗弯刚度EIy、抗扭刚度GIt越大,临界弯矩Mcr越大;(二)荷载的种类和荷载作用位置。荷载产生的弯矩图越饱满(接近纯弯曲时的弯矩图),临界弯矩Mcr越小,纯弯曲时的Mcr越最小;荷载作用于下翼缘比作用于上翼缘梁的临界弯矩Mcr大;(三)梁受压翼缘的自由长度l1越大,临界弯矩Mcr越小。33.某工作平台梁的次梁两端简支于主梁上,计算跨度6m,承受均布静力荷载标准值40kN/m,设计值51kN/m(以上均包括梁自重),其钢材为Q235-A.F,f=215N/mm2,fv=125N/mm2,梁截面初选I40a(Ix=21720cm4,Wx=1090cm3,Ix/Sx=34.1cm,腹板厚tw=10.5mm),试验算其强度和刚度。([ω/l]=1/250)答:34.为什么轴心受压构件强度问题按净截面计算,稳定问题按毛截面计算?答:(1)强度问题研究构件一个最不利点的应力或一个最不利截面的内力极限值,它与材料的强度极限(或钢材的屈服强度)、截面大小有关。稳定问题研究构件(或结构)受荷变形后平衡状态的属性及相应的临界荷载,它与构件(或结构)的变形有关,即与构件(或结构)的整体刚度有关。所以,强度问题均按净截面计算,稳定问题均按毛截面计算(因为构件局部削弱对其变形或整体刚度影响不大)。35.影响实际轴心受压构件稳定承载力的因素有哪些?答:实际轴心受压构件的稳定承载力除了上述截面残余应力、构件初弯曲有影响外,构件的初偏心、构件端部的约束条件等都有影响。36.设计轴心受压构件时应满足哪些方面要求。答:强度、刚度、整体稳定和局部稳定37.简述焊接格构式柱头组成及其传力过程和传力方式答:格构式柱柱头的传力过程和方式如下:38.简述轴心受压柱铰接柱脚的组成及其传力方式。答:轴心受压柱铰接柱脚的组成和传力过程如下:39.格构式轴心受压构件的设计应考虑哪几个方面的要求答:强度、刚度、整体稳定、分肢稳定、缀材和连接设计。40.答:41答:钢结构A3次作业(主观题)四、主观题(共10道小题)32.答:33.简述焊接连接的优缺点答:其优点是:构造简单,任何形式的构件都可直接相连;用料经济,不削弱截面;制作加工方便,既可手工施焊...

1、当您付费下载文档后,您只拥有了使用权限,并不意味着购买了版权,文档只能用于自身使用,不得用于其他商业用途(如 [转卖]进行直接盈利或[编辑后售卖]进行间接盈利)。
2、本站所有内容均由合作方或网友上传,本站不对文档的完整性、权威性及其观点立场正确性做任何保证或承诺!文档内容仅供研究参考,付费前请自行鉴别。
3、如文档内容存在违规,或者侵犯商业秘密、侵犯著作权等,请点击“违规举报”。

碎片内容

2024年西南交大钢结构A离线作业

您可能关注的文档

山水人家+ 关注
实名认证
内容提供者

读万卷书,行万里路。

确认删除?
VIP
微信客服
  • 扫码咨询
会员Q群
  • 会员专属群点击这里加入QQ群
客服邮箱
回到顶部