电脑桌面
添加小米粒文库到电脑桌面
安装后可以在桌面快捷访问

CJQIRD33PanelACFClean作业指导书VIP专享

CJQIRD33PanelACFClean作业指导书_第1页
1/9
CJQIRD33PanelACFClean作业指导书_第2页
2/9
CJQIRD33PanelACFClean作业指导书_第3页
3/9
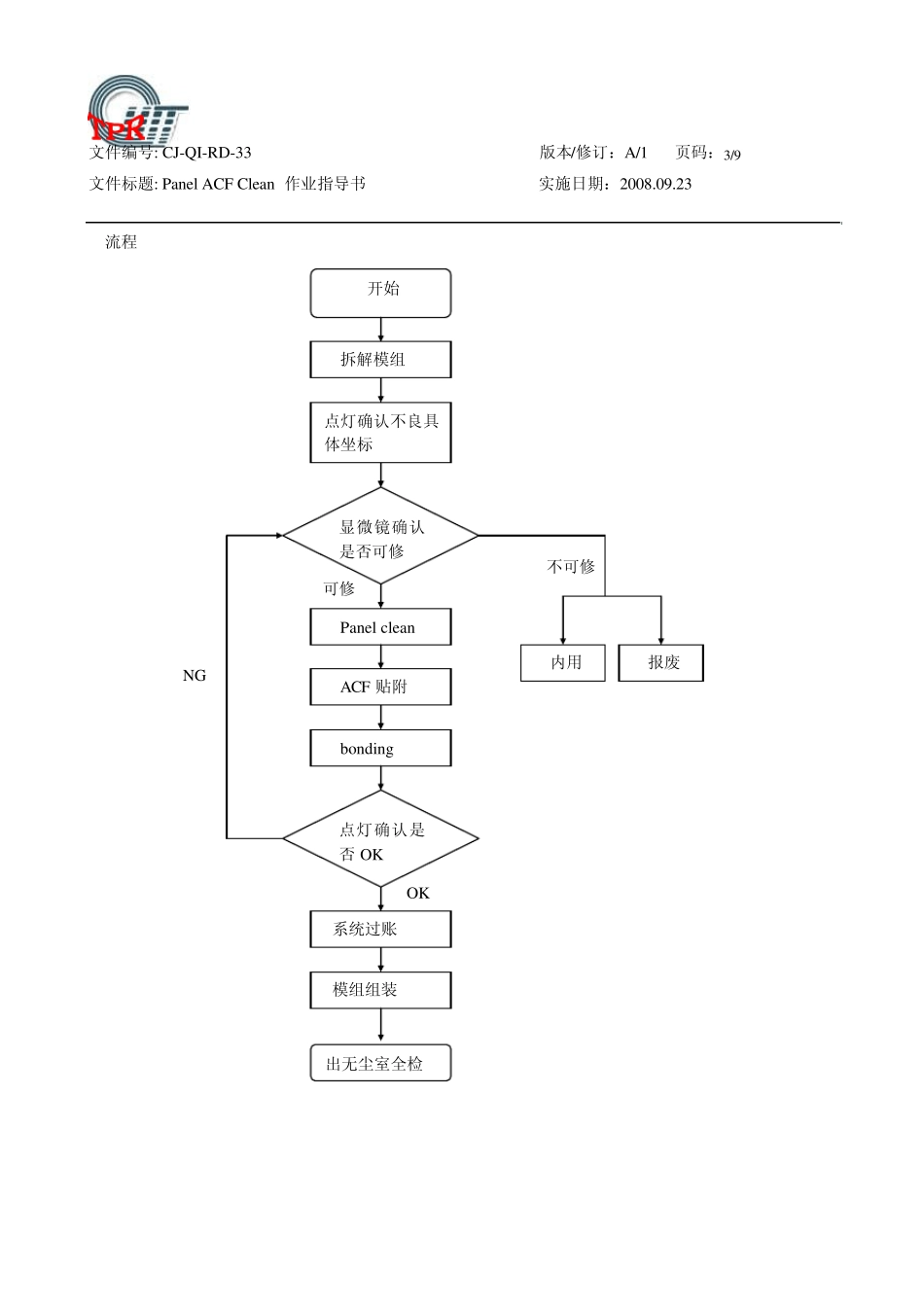
文件编号: CJ-QI-RD-33 版本/修订:A/1 页码:1/9 文件标题: Pan el ACF Clean 作业指导书 实施日期:2008.09.23 更改记录 修订次 生效日期 对应 条款 更改内容 《文件更改申请单》 编号 第 1次 2009.11.3 8 新增 bonding不良解析过程 2009.025 批准 许迎春 2009.11.3 审核 黄智勇 2009.11.3 制定 黄智勇 2009.11.3 编制部门 Panel维修部 文件编号: CJ-QI-RD-33 版本/修订:A/1 页码:2/9 文件标题: Pan el ACF Clean 作业指导书 实施日期:2008.09.23 1. 目的: 1.1规范信号产生器的使用方法; 1.2规范 panel ACF胶清洁作业; 1.3 规范 panel ACF贴附作业。 2. 适用范围: TAB Model系列 COF COG Model系列 FPC 3 职责: 维修人员按照要求对 panel进行维修,有异常及时反馈 4 使用的治具和溶剂: 设备:信号产生器、显微镜、放大镜; 治具:竹签、棉签、镊子、剪刀、热风枪、电烙铁、玻璃瓶; 耗材:无水乙醇、丙酮、G430、RW-66、无尘布; 5 注意事项: 5.1作业前,需确保工作台面清洁效果 OK,人员作业时,需佩带静电手环。 5.2 Remove时,热风枪有热风吹出,操作时勿将偏光板烫伤。 5.3 Remove作业前后请仔细检查Panel有无破损或断裂/刮伤/破损/偏光板是否烧伤。 5.4清洁端子使用棉花棒及竹签,禁止使用金属器具清洁,注意清洁时以单一方向擦拭。 5.5 RW66涂附时间必须控制在15~45min,以变成灰色为准 5.6 热风枪的使用温度为300±50℃, 风量值设定调整到最大处。 5.7 clean环节所用的溶剂有腐蚀性,人员作业时,须使用乳胶手套及活性碳口罩 5.8擦拭过后碎布以及用完之清洁剂容器, 应妥善处理丢弃置垃圾桶中。有害废弃物,现场收集并包 装妥当后送有害废弃物仓库处置。 5.9 确定无法回收的 IC应妥善处理,不可与新料、回收料混淆存放。 文件编号: CJ-QI-RD-33 版本/修订:A/1 页码:3/9 文件标题: Pan el ACF Clean 作业指导书 实施日期:2008.09.23 6.流程 开始 拆解模组 点灯确认不良具体坐标 Pan el clean ACF 贴附 显微镜确认是否可修 可修 bo n din g 内用 点灯确认是否 OK 模组组装 出无尘室全检 不可修 报废 系统过账 OK NG 文件编号: CJ-QI-RD-33 版本/修订:A/1 页码:4/9 文件标题: Pan el ACF Clean 作业指导书 实施日期:2008.09.23 7. 拆解模组:参照CJ-QI-RD-44《Panel模组...

1、当您付费下载文档后,您只拥有了使用权限,并不意味着购买了版权,文档只能用于自身使用,不得用于其他商业用途(如 [转卖]进行直接盈利或[编辑后售卖]进行间接盈利)。
2、本站所有内容均由合作方或网友上传,本站不对文档的完整性、权威性及其观点立场正确性做任何保证或承诺!文档内容仅供研究参考,付费前请自行鉴别。
3、如文档内容存在违规,或者侵犯商业秘密、侵犯著作权等,请点击“违规举报”。

碎片内容

CJQIRD33PanelACFClean作业指导书

确认删除?
VIP
微信客服
  • 扫码咨询
会员Q群
  • 会员专属群点击这里加入QQ群
客服邮箱
回到顶部