电脑桌面
添加小米粒文库到电脑桌面
安装后可以在桌面快捷访问

七人表决器设计设计报告

七人表决器设计设计报告_第1页
1/6
七人表决器设计设计报告_第2页
2/6
七人表决器设计设计报告_第3页
3/6
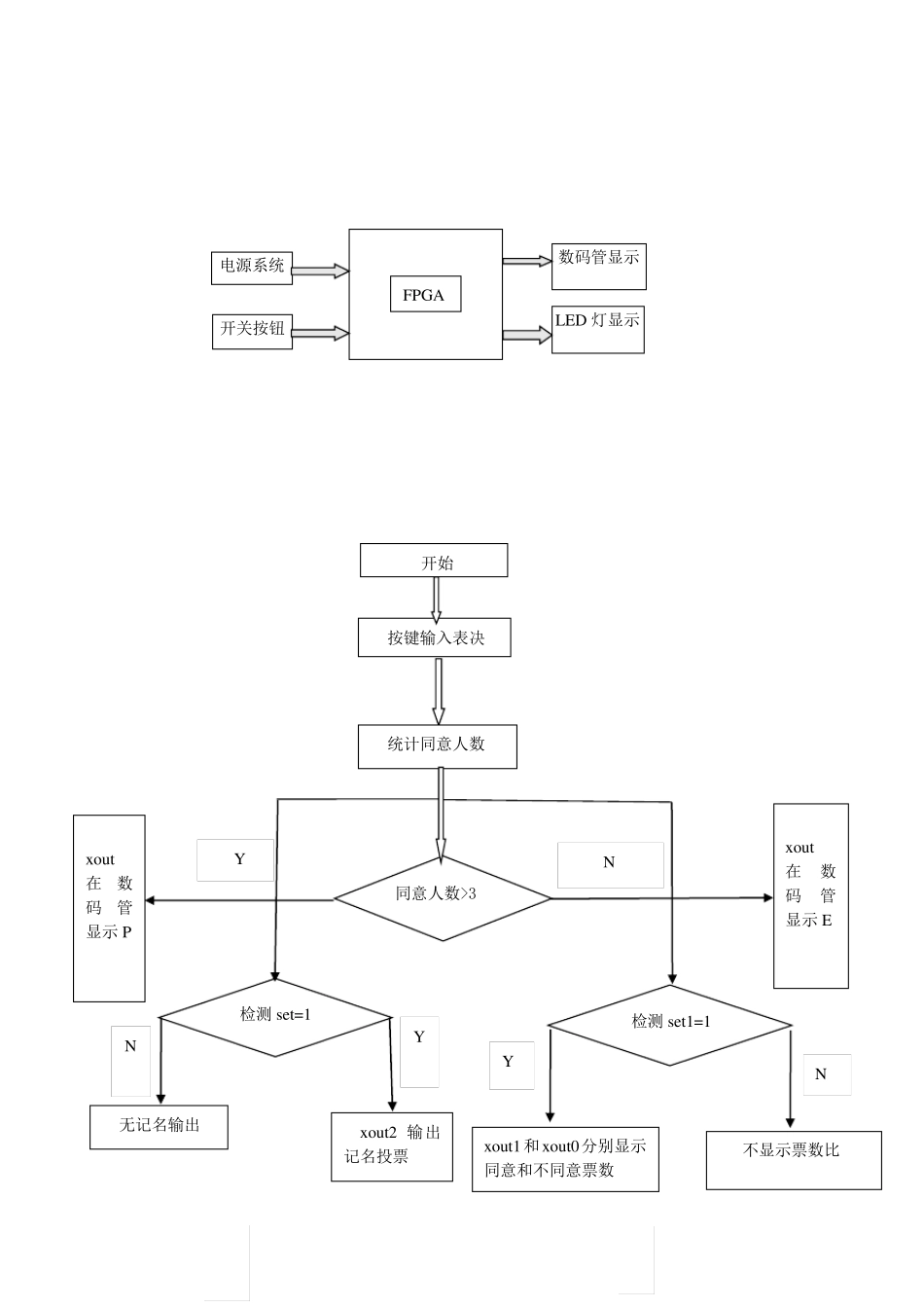
七人表决器设计 一.设计要求 1. 能够完成七人表决的功能,并且直观的显示结果:决议通过显示字母P,否则显示 字母E; 2.能够选择显示表决双方的人数,有控制开关与显示指示灯,并且能够实时的显示反对与赞成的人数; 3.能够选择是否记名,并有指示灯显示。当选择记名时,与表决参与者相对应的指示灯亮起; 4.不设置弃权的状况,超过三人同意则表示决议通过。 二.设计思路 1.使用Altera 的Cy clone II 器件,FPGA 型号为 EP2C35F672C6N;开发平台为Qu artu s II 8.0 2.使用 6 个拨动开关用以进行表决,开关闭合时表示同意,断开时表示不同意; 3.使用 6 个 LED 用以显示表决的个人结果,用以显示记名时的情况。LED 亮起表示表决人同意,否则表示不同意; 4.使用一个七段数码管用以显示表决结果,通过显示P,否则显示E;另外使用两个数码管用以分别显示同意与不同意的人数; 5.使用两个拨动开关控制是否记名,是否显示表决的人数结果; 6.其他电路按需要搭建。 三.硬件系统组成框图 FPGA 数码管显示 LED 灯显示 开关按钮 电源系统 开始 按键输入表决 同意人数>3 统计同意人数 x ou t 在数码管显示P Y x ou t 在 数码 管显示E N 检测set=1 检测set1=1 x ou t2 输出记名投票 x ou t1和x ou t0分别显示同意和不同意票数 Y Y 无记名输出 N 不显示票数比 N 注释:set:选择是否记名 set1:选择是否显示投票人数及比例 x in[0:6]:表决输入,分别是七个拨动开关 sel:输出指示是否记名投票 sel1:输出指示是否显示投票人数及比例 x ou t[0:6]:译码用数码管输出表决是否通过 x ou t0[0:6]:译码用数码管输出同意的人数(set1=1) x ou t1[0:6]:译码用数码管输出不同意同意的人数(set1=1) x ou t2[0:6]:译码用七个 LED 输出记名结果 Biaoju eqi Set Set1 x in[0:6] sel sel1 x ou t[0:6] x ou t0[0:6] x ou t1[0:6] x ou t2[0:6] 设计HDL源程序 library ieee; use ieee.std_logic_1164.all; use ieee.std_logic_unsigned.all; entity biao is port ( set, set1: in std_logic ; ----控制按键 xin: in std_logic_vector ( 6 downto 0 ); ----按键输入表决 sel,sel2: out std_logic; -------控制指示灯 xout,xout0,xout1,xout2 : out std_logic_vector ( 6 downto 0 ) ); ----xout 显示结果,xou...

1、当您付费下载文档后,您只拥有了使用权限,并不意味着购买了版权,文档只能用于自身使用,不得用于其他商业用途(如 [转卖]进行直接盈利或[编辑后售卖]进行间接盈利)。
2、本站所有内容均由合作方或网友上传,本站不对文档的完整性、权威性及其观点立场正确性做任何保证或承诺!文档内容仅供研究参考,付费前请自行鉴别。
3、如文档内容存在违规,或者侵犯商业秘密、侵犯著作权等,请点击“违规举报”。

碎片内容

七人表决器设计设计报告

确认删除?
VIP
微信客服
  • 扫码咨询
会员Q群
  • 会员专属群点击这里加入QQ群
客服邮箱
回到顶部