电脑桌面
添加小米粒文库到电脑桌面
安装后可以在桌面快捷访问

办公大楼-施工组织设计-确保安全生产的技术组织措施

办公大楼-施工组织设计-确保安全生产的技术组织措施_第1页
1/10
办公大楼-施工组织设计-确保安全生产的技术组织措施_第2页
2/10
办公大楼-施工组织设计-确保安全生产的技术组织措施_第3页
3/10
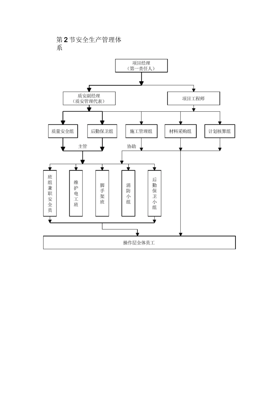
第一章确保安全生产的技术组织措施第 1 节安全生产管理目标网络第 2 节安全生产管理体系第 3 节确保安全生产的技术措施1、安全生产责任制1、建立和健全各组织部门的安全生产责任制,责任落实到人。各项经济承包有明确的安全指标和包括奖惩办法在内的保证措施。2、新进企业工人三组安全教育,新进企业的工人必须进行三组教育,即由公司一级,项目部和班组三级进行教育;工人更换岗位和工种,必须进行新工种的三级安全技术教育。保证工人掌握本工种的操作技能,熟悉本工种的安全技术操作规程。认真建立“职工劳动保护记录卡”及时作好记录。2、安全施工组织设计,施工前必须由针对性的编制安全施工技术措施,报技术负责人审查批准。3、分部分项工程安全技术交底,进行全面的有针对性的安全技术交底,每一个被交底者必须履行签字、特种作业持证上岗,特种作业人员必须经过培训考试合格后持证上岗,操作证必须按期复审,不得超期使用,各种资料齐全。2、安全技术交底制根据安全措施要求和现场实际情况,各级管理人员都必须亲自进行逐级书面安全技术交底,包括项目开工前(分)公司安全技术交底,项目部安全技术交底,分部工程实施前项目部安全技术交底、专(兼)职安全员安全技术交底,分项工程作业前的专(兼)职安全员安全技术交底和班组安全技术交底等。3、安全检查制度 1、建立定期安全检查制度,有时间、有要求、明确重点部位、危险I-JU/亠岗位。2、安全检查有记录,对查出的隐患及时整改,做到定人、定时间、定措施。3、物料提升机和脚手架认真作好四验收,合格后挂牌方可使用。4、班组的三上岗一讲评活动,班组在班前必须进行上岗交底、上岗检查、上岗记录的三上岗和每周一次的一讲评安全活动,对班组的安全活动要有考核措施。4、设备管理制度1、各施工队的机械设备属企业财产,每个职工应爱护,做到专人专用,严格按照执证操作,无特殊情况不得任意动用。2、设备的使用,应做到勤检查,勤维护,勤保养,严格按操作规程办事,凡不符合安全要求的一律不得任意作业。5、电管理制度1、各施工队在建设施工中要严格执行用电管理,凡涉及用电部位都应有明显的防电标志。2、在邻近高压线施工时,要注意防止触电事故的发生,在高压线下10m 不得堆放材料和搭设临时设施。3、对电器设备,如闸刀、盒盖均应加防护措施,严禁雨淋,在安装时应牢固,经常检查,缺少部件的应及时配换,电器,电缆应经常检查是否短路。4、在安装设备时,应采用好设备的...

1、当您付费下载文档后,您只拥有了使用权限,并不意味着购买了版权,文档只能用于自身使用,不得用于其他商业用途(如 [转卖]进行直接盈利或[编辑后售卖]进行间接盈利)。
2、本站所有内容均由合作方或网友上传,本站不对文档的完整性、权威性及其观点立场正确性做任何保证或承诺!文档内容仅供研究参考,付费前请自行鉴别。
3、如文档内容存在违规,或者侵犯商业秘密、侵犯著作权等,请点击“违规举报”。

碎片内容

办公大楼-施工组织设计-确保安全生产的技术组织措施

您可能关注的文档

确认删除?
VIP
微信客服
  • 扫码咨询
会员Q群
  • 会员专属群点击这里加入QQ群
客服邮箱
回到顶部