电脑桌面
添加小米粒文库到电脑桌面
安装后可以在桌面快捷访问

单体调试作业指导书方案

单体调试作业指导书方案_第1页
1/16
单体调试作业指导书方案_第2页
2/16
单体调试作业指导书方案_第3页
3/16
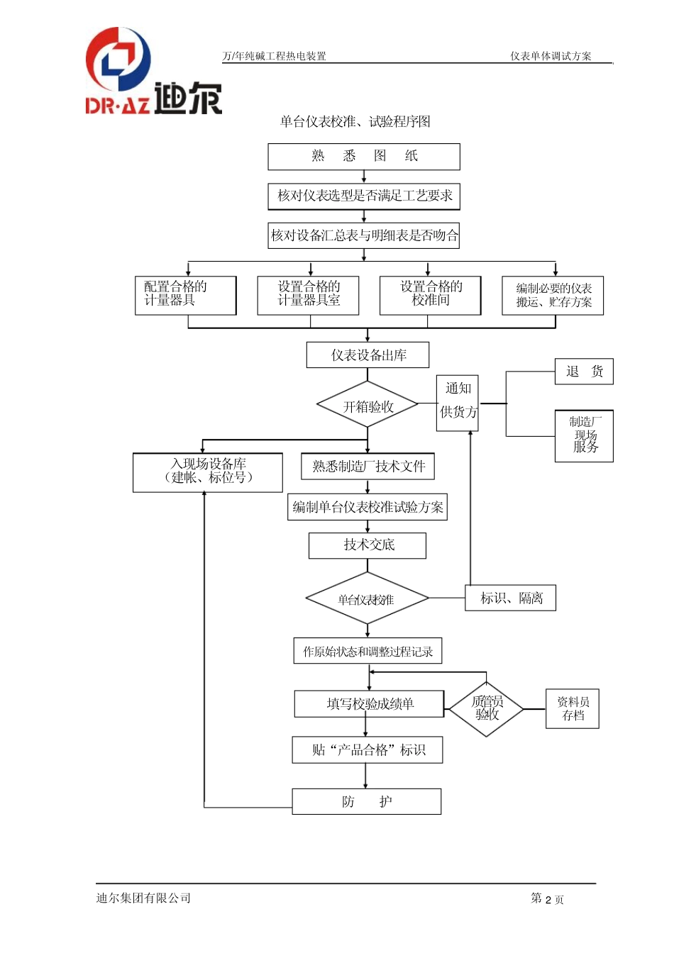
昆仑碱业1 0 0 万/年纯碱工程热电装置 仪表单体调试方案 迪尔集团有限公司 第1 页 1 编制说明: 单台仪表的校准和试验统称为一次调校,即仪表安装前的校验,它是在规定条件下,为确定测量仪器仪表或测量系统的示值、实物量具或标准物质所代表的值与相对应的由参考标准确定的量值之间关系的一组操作。其目的是:检查计分表在运输途中有无损伤;核对仪表的规格型号及功能是否符合设计文件的要求;仪表的精密度是否符合制造厂技术文件的规定。因此,它是一项技术含量高,工作要求细,范围比较广的工作。这一工作质量的好坏,将直接影响系统试验和装置的产品质量及运行安全,对评价仪表工程的施工质量具重大影响。为了保证单台仪表的校准和试验质量,特编制此方案。 2 编制依据: 2.1 工程承包合同或协议(具体到文号); 2.2 仪表设计施工图及其它技术文件; 2.3 仪表制造厂提供的技术文件; 2.4 《自动化仪表工程施工及验收规范》GB 50093-2002 2.5 自动化仪表安装工程质量检验评定标准GB50131-2007; 2.6 根据该项目的施工组织设计编制的《仪表工程施工进度计划》。 3 仪表校准、试验的程序: 3.1 施工程序流程(见下图) 3.2 主要施工方法和关键操作方法: 3.2.1. 一般规定: 3 .2 .1 .1 试验环境条件: 昆仑碱业 1 0 0 万/年纯碱工程热电装置 仪表单体调试方案 迪尔集团有限公司 第 2 页 核对仪表选型是否满足工艺要求 核对设备汇总表与明细表是否吻合 配置合格的 计量器具 设置合格的 计量器具室 设置合格的 校准间 编制必要的仪表搬运、贮存方案 仪表设备出库 开箱验收 熟悉制造厂技术文件 入现场设备库 (建帐、标位号) 编制单台仪表校准试验方案 技术交底 单台仪表校准 作原始状态和调整过程记录 填写校验成绩单 通知 供货方 退 货 制造厂现场 服务 标识、隔离 质管员验收 资料员存档 熟 悉 图 纸 贴“产品合格”标识 防 护 单台仪表校准、试验程序图 N Y Y N Y N 昆仑碱业1 0 0 万/年纯碱工程热电装置 仪表单体调试方案 迪尔集团有限公司 第3 页 仪表的校准和试验(不含执行器)应在试验室内进行。试验室应具备下列条件: a、室内清洁、安静,光线充足,无振动,无对仪表及线路的电磁场干扰。 b、室内温度保持在10~35℃。 c、电源电压稳定,交流电源及60V以上的直流电源电压波动不应超过±10%。60V以下的直流电源电压波动不应超过...

1、当您付费下载文档后,您只拥有了使用权限,并不意味着购买了版权,文档只能用于自身使用,不得用于其他商业用途(如 [转卖]进行直接盈利或[编辑后售卖]进行间接盈利)。
2、本站所有内容均由合作方或网友上传,本站不对文档的完整性、权威性及其观点立场正确性做任何保证或承诺!文档内容仅供研究参考,付费前请自行鉴别。
3、如文档内容存在违规,或者侵犯商业秘密、侵犯著作权等,请点击“违规举报”。

碎片内容

单体调试作业指导书方案

您可能关注的文档

确认删除?
VIP
微信客服
  • 扫码咨询
会员Q群
  • 会员专属群点击这里加入QQ群
客服邮箱
回到顶部