电脑桌面
添加小米粒文库到电脑桌面
安装后可以在桌面快捷访问

项目信息跟踪处理 项目投标阶段控制流程VIP免费

项目信息跟踪处理  项目投标阶段控制流程_第1页
1/4
项目信息跟踪处理  项目投标阶段控制流程_第2页
2/4
项目信息跟踪处理  项目投标阶段控制流程_第3页
3/4
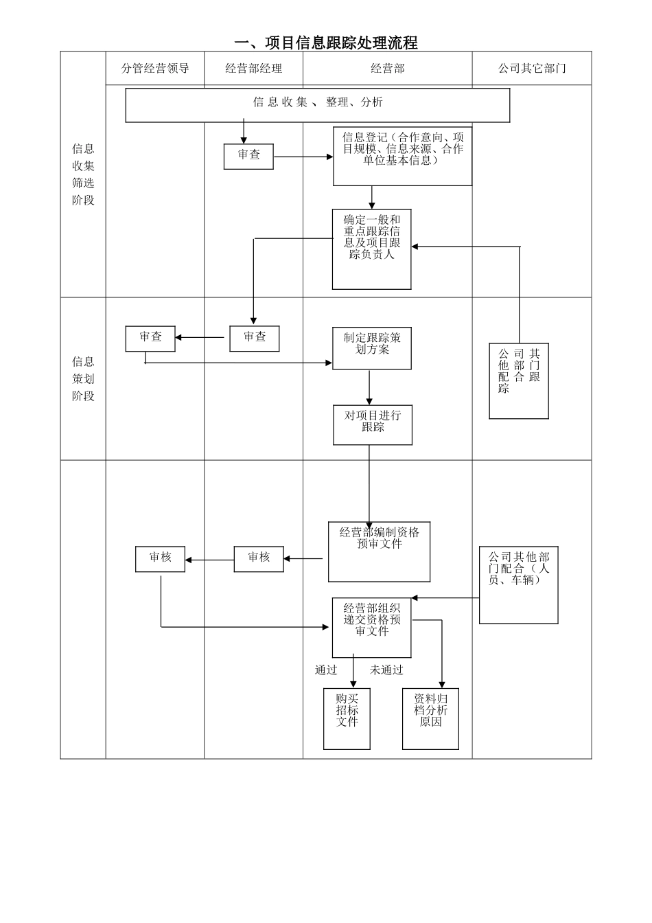
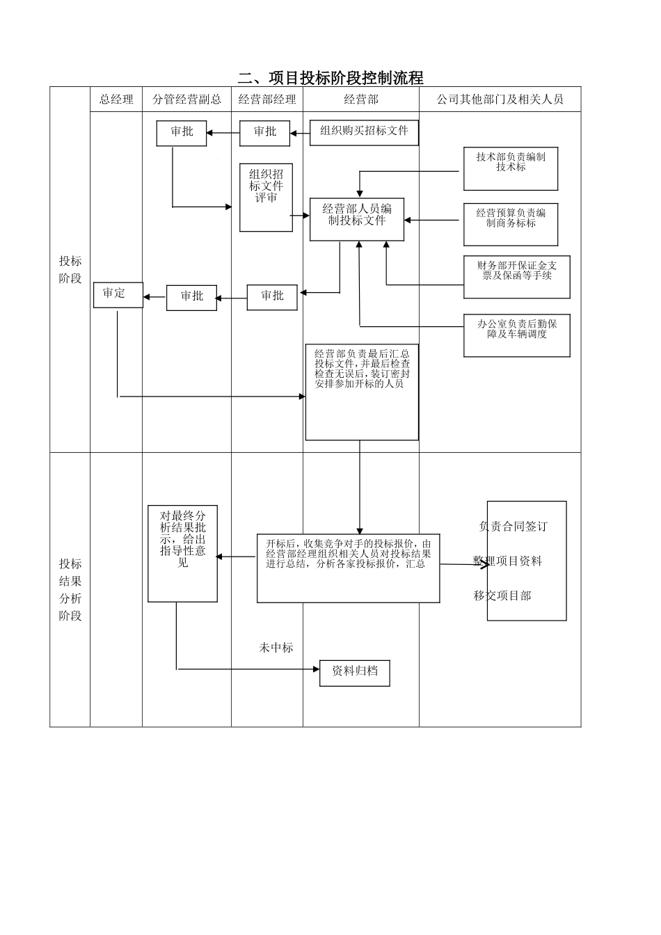
一、项目信息跟踪处理流程信息收集筛选阶段分管经营领导经营部经理经营部公司其它部门信息策划阶段通过未通过信息收集、整理、分析审查信息登记(合作意向、项目规模、信息来源、合作单位基本信息)确定一般和重点跟踪信息及项目跟踪负责人审查审查公司其他部门配合跟踪制定跟踪策划方案对项目进行跟踪经营部编制资格预审文件公司其他部门配合(人员、车辆)审核审核经营部组织递交资格预审文件购买招标文件资料归档分析原因二、项目投标阶段控制流程投标阶段总经理分管经营副总经营部经理经营部公司其他部门及相关人员投标结果分析阶段未中标负责合同签订整理项目资料移交项目部组织购买招标文件审批审批组织招标文件评审经营部人员编制投标文件审批审批经营部负责最后汇总投标文件,并最后检查检查无误后,装订密封安排参加开标的人员开标后,收集竞争对手的投标报价,由经营部经理组织相关人员对投标结果进行总结,分析各家投标报价,汇总对最终分析结果批示,给出指导性意见资料归档审定经营预算负责编制商务标标技术部负责编制技术标财务部开保证金支票及保函等手续办公室负责后勤保障及车辆调度三、合同评审控制流程分管经营副总公司经营部经理项目合约经理合约部项目其他部门及相关人员发放修改候选单位确定后,由商务部相关人员起草合同初稿商务经理组织项目部有关人员评审审核(合同额5万及以下项目)提出修改意见拟定合同终稿审查审核与分包方沟通合同签订合同交底项目经理项目财务部质量管理部工程技术部安全管理部综合办公室项目经理项目财务部质量管理部工程技术部安全管理部综合办公室审核(合同额5万以上项目),提出修改意见意见汇总后,根据情况组织评审会议,解决问题合同执行中变更及补充签订补充、变更协议资料归档、发放四、资质、公章等重要文档内部使用管理流程申请阶段分管副总经营部经理经营部、办公室公司、项目部、其它人员审批阶段执行阶段填写借用申请表审批审核相关人员核实后办理经营部、办公室催还办理归还手续对资料进行检查

1、当您付费下载文档后,您只拥有了使用权限,并不意味着购买了版权,文档只能用于自身使用,不得用于其他商业用途(如 [转卖]进行直接盈利或[编辑后售卖]进行间接盈利)。
2、本站所有内容均由合作方或网友上传,本站不对文档的完整性、权威性及其观点立场正确性做任何保证或承诺!文档内容仅供研究参考,付费前请自行鉴别。
3、如文档内容存在违规,或者侵犯商业秘密、侵犯著作权等,请点击“违规举报”。

碎片内容

项目信息跟踪处理 项目投标阶段控制流程

确认删除?
VIP
微信客服
  • 扫码咨询
会员Q群
  • 会员专属群点击这里加入QQ群
客服邮箱
回到顶部