电脑桌面
添加小米粒文库到电脑桌面
安装后可以在桌面快捷访问

悬挑式卸料平台监理实施细则

悬挑式卸料平台监理实施细则_第1页
1/13
悬挑式卸料平台监理实施细则_第2页
2/13
悬挑式卸料平台监理实施细则_第3页
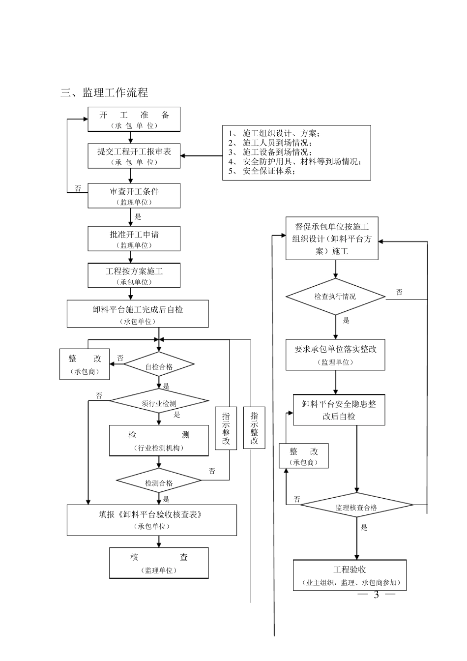
3/13
— 1 — A.0.4 南京****************一期工程 监理实施细则 (悬挑式卸料平台) 内容提要: 专业工程特点 监理工作流程 监理工作要点 监理工作方法及措施 项目监理机构(章): 专业监理工程师(签字): 总监理工程师(签字、执业印章): 日 期: 第六版修订版表 江苏省住房和城乡建设厅监制 — 2 — 一、专业工程特点 工程建设概况 工程名称 南京***********一期工程 工程性质 工业建筑 建设规模 本工程主要包含 4 座工业厂房,其最大高度 37.4m;改建餐厅 1 座地上 3 层,最大高度 12.1。 工程地址 总占地面积 66242.00 ㎡ 建筑面积 31091.7 ㎡ 建设单位 有限公司 建筑结构形式 框架 设计单位 研究院有限公司 合同要求 质量 合格 勘察单位 工程勘察院 工期 500 日历天 监理单位 咨询有限责任公司 安全 / 总承包单位 建设有限公司 文明施工 江苏省标化工地标准 安全监督单位 质量监督单位 二、编制依据 相关法律、法规、规范性文件、标准和规范 序号 名称 性质 代码 1 《安全生产法》 法律法规 主席令第三十号 2 《建设工程安全生产管理条例》 国务院令第 393 号 3 《危险性较大的分部分项工程安全管理规定》 建设部令 [2018]第 37 号 4 《危险性较大的分部分项工程安全管理办法》 建办质 [2018] 31 号 5 《工程质量安全手册》 建质 [2018] 95 号 6 《建筑施工安全检查标准》 标准 JGJ 59-2011 7 《建筑施工高处作业安全技术规范》 JGJ 80-2016 8 《建筑结构荷载规范》 GB 50009-2012 9 《钢结构设计规范》 GB 50017-2017 10 《混凝土结构设计规范》(2015 版) GB 50010-2010 — 3 — 三、监理工作流程 否 是 否 是 否 是 否 是 否 是 否 是 开 工 准 备 (承 包 单 位) 提交工程开工报审表 (承 包 单 位) 审查开工条件 (监理单位) 批准开工申请 (监理单位) 1 、 施工组织设计、方案; 2 、 施工人员到场情况; 3 、 施工设备到场情况; 4 、 安全防护用具、材料等到场情况; 5 、 安全保证体系; 工程按方案施工 (承包单位) 卸料平台施工完成后自检 (承包单位)整 改 (承包商) 检 测 (行业检测机构) 填报《卸料平台验收核查表》 (承包单位) 自检合格 须行业检测 检测合格 核 查 (监理单位) 指示整改 指示整改 督促承包单...

1、当您付费下载文档后,您只拥有了使用权限,并不意味着购买了版权,文档只能用于自身使用,不得用于其他商业用途(如 [转卖]进行直接盈利或[编辑后售卖]进行间接盈利)。
2、本站所有内容均由合作方或网友上传,本站不对文档的完整性、权威性及其观点立场正确性做任何保证或承诺!文档内容仅供研究参考,付费前请自行鉴别。
3、如文档内容存在违规,或者侵犯商业秘密、侵犯著作权等,请点击“违规举报”。

碎片内容

悬挑式卸料平台监理实施细则

您可能关注的文档

确认删除?
VIP
微信客服
  • 扫码咨询
会员Q群
  • 会员专属群点击这里加入QQ群
客服邮箱
回到顶部